Скачать ГОСТ 28527-90 Фрезы дисковые трехсторонние. Типы и размерыДата актуализации: 01.01.2021
|
| Обозначение: | ГОСТ 28527-90 |
| Обозначение англ: | GOST 28527-90 |
| Статус: | действует |
| Название рус.: | Фрезы дисковые трехсторонние. Типы и размеры |
| Название англ.: | Disk type three side milling cutters. Tupes and dimensions |
| Дата добавления в базу: | 01.09.2013 |
| Дата актуализации: | 01.01.2021 |
| Дата введения: | 01.01.1991 |
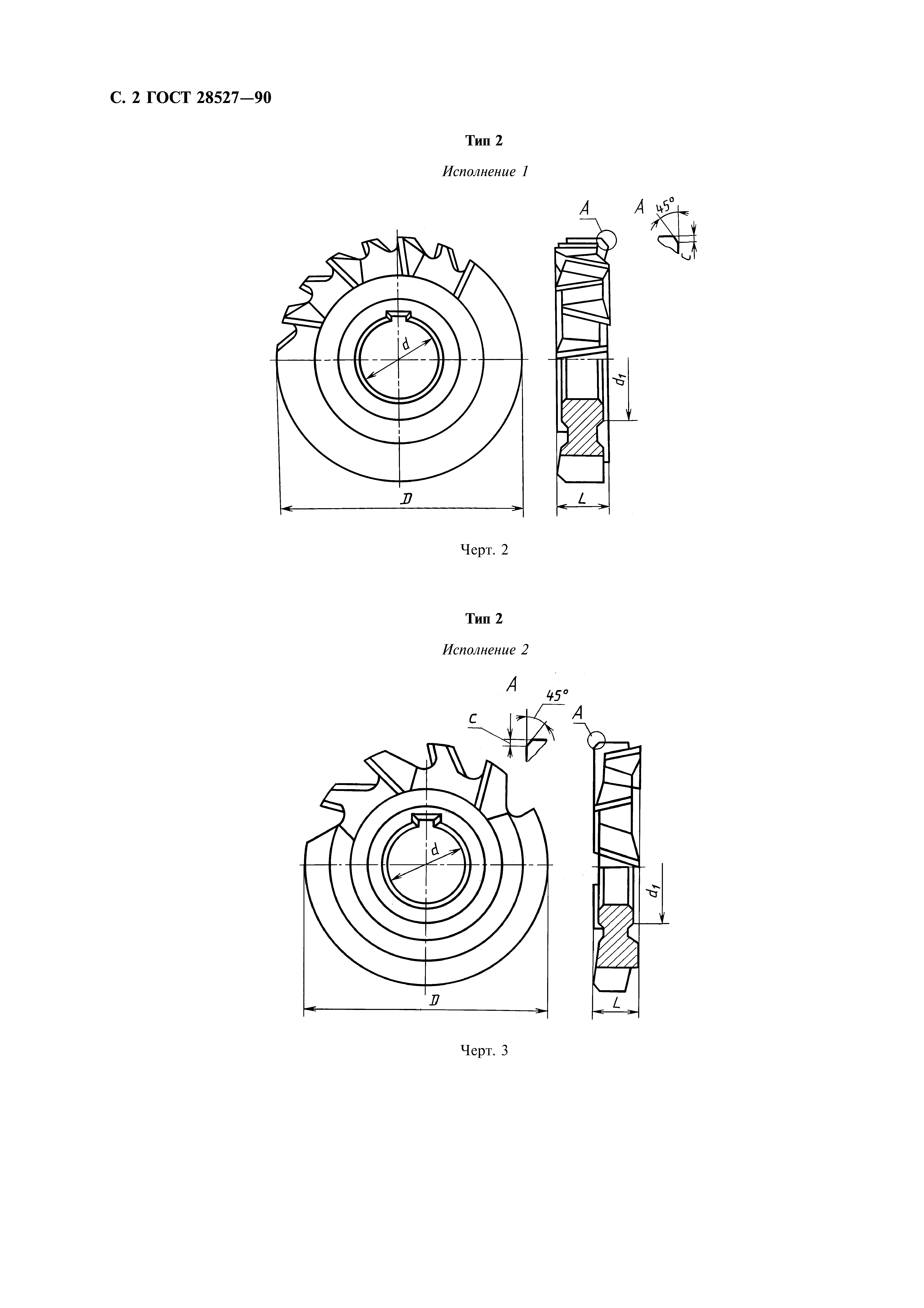
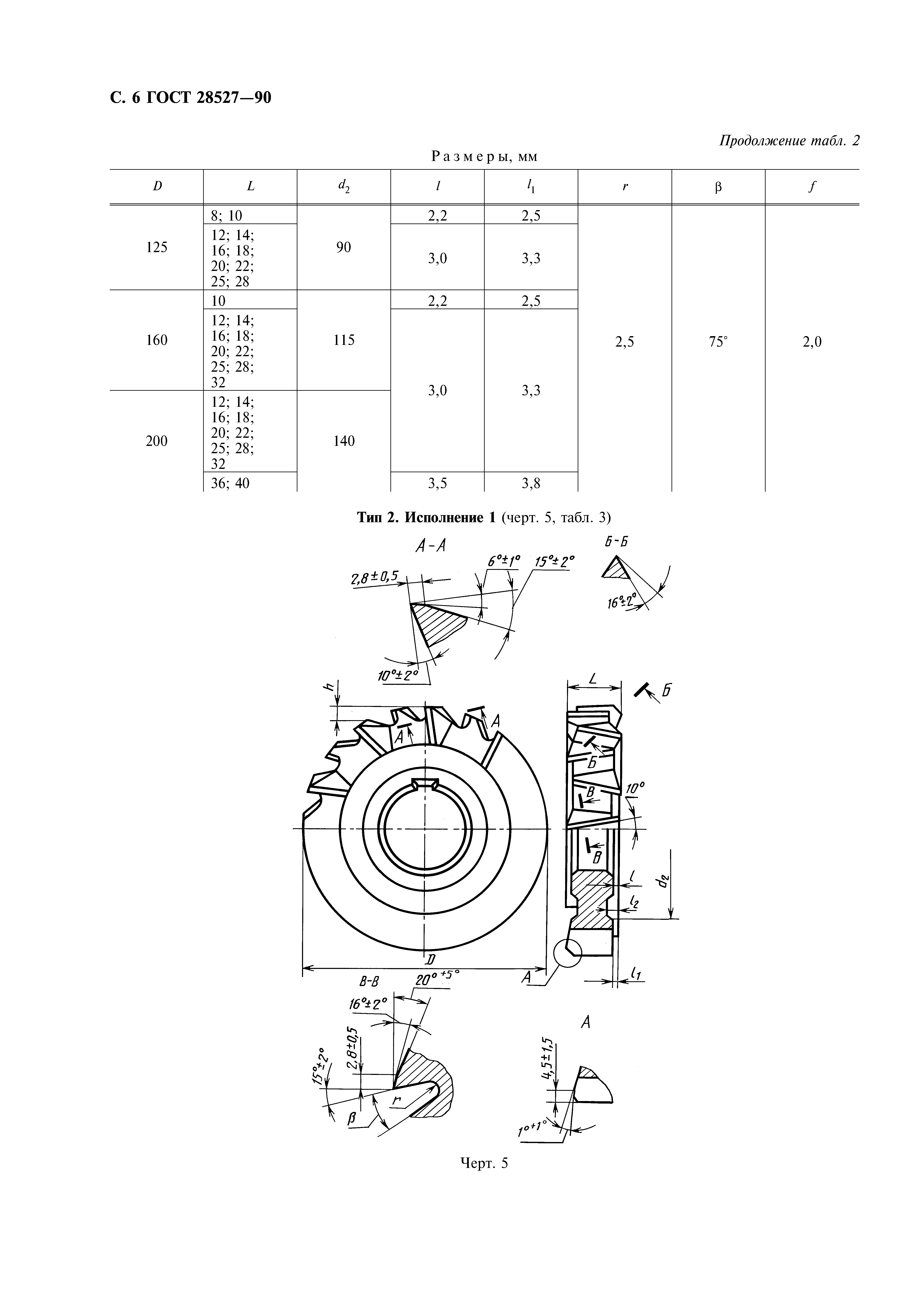
| Область применения: | Стандарт распространяется на дисковые трехсторонние фрезы из быстрорежущей стали с прямыми и разнонаправленными зубьями диаметром от 50 от 200 мм, предназначенные для обработки пазов общего назначения и шпоночных пазов с предельными отклонениями по Н9, P9, N9 в изделиях из конструкционных сталей и чугунов. |
| Разработан: | Министерство станкостроительной и инструментальной промышленности СССР |
| Утверждён: | 24.04.1990 Госстандарт СССР (USSR Gosstandart 980) |
| Издан: | Издательство стандартов (1990 г. ) Стандартинформ (2005 г. ) Стандартинформ (2008 г. ) |
| Заменяет собой: |
|
| Нормативные ссылки: |










