Скачать ГОСТ 29007-91 Резина. Метод определения прочности связи в элементах камеры пневматических шинДата актуализации: 01.01.2021
|
| Обозначение: | ГОСТ 29007-91 |
| Обозначение англ: | GOST 29007-91 |
| Статус: | введен впервые |
| Название рус.: | Резина. Метод определения прочности связи в элементах камеры пневматических шин |
| Название англ.: | Rubber. Method for determination of adhesion elements in the chamber of pneumatic tyres |
| Дата добавления в базу: | 01.09.2013 |
| Дата актуализации: | 01.01.2021 |
| Дата введения: | 01.01.1993 |
| Область применения: | Стандарт распространяется на шины для легковых и грузовых автомобилей, автоприцепов, автобусов, троллейбусов, мотоциклов, мотоколясок, мотороллеров, мопедов, тракторов, комбайнов и сельскохозяйственных машин, в том числе шин с регулируемым давлением и устанавливает метод определения прочности связи резинового основания вентиля с металлическим корпусом вентиля и с резиной камеры. Стандарт не распространяется на автомобильные шины и шины для строительных, дорожных, подъемно-транспортных, рудничных машин, а также шины для внедорожных карьерных автомобилей. |
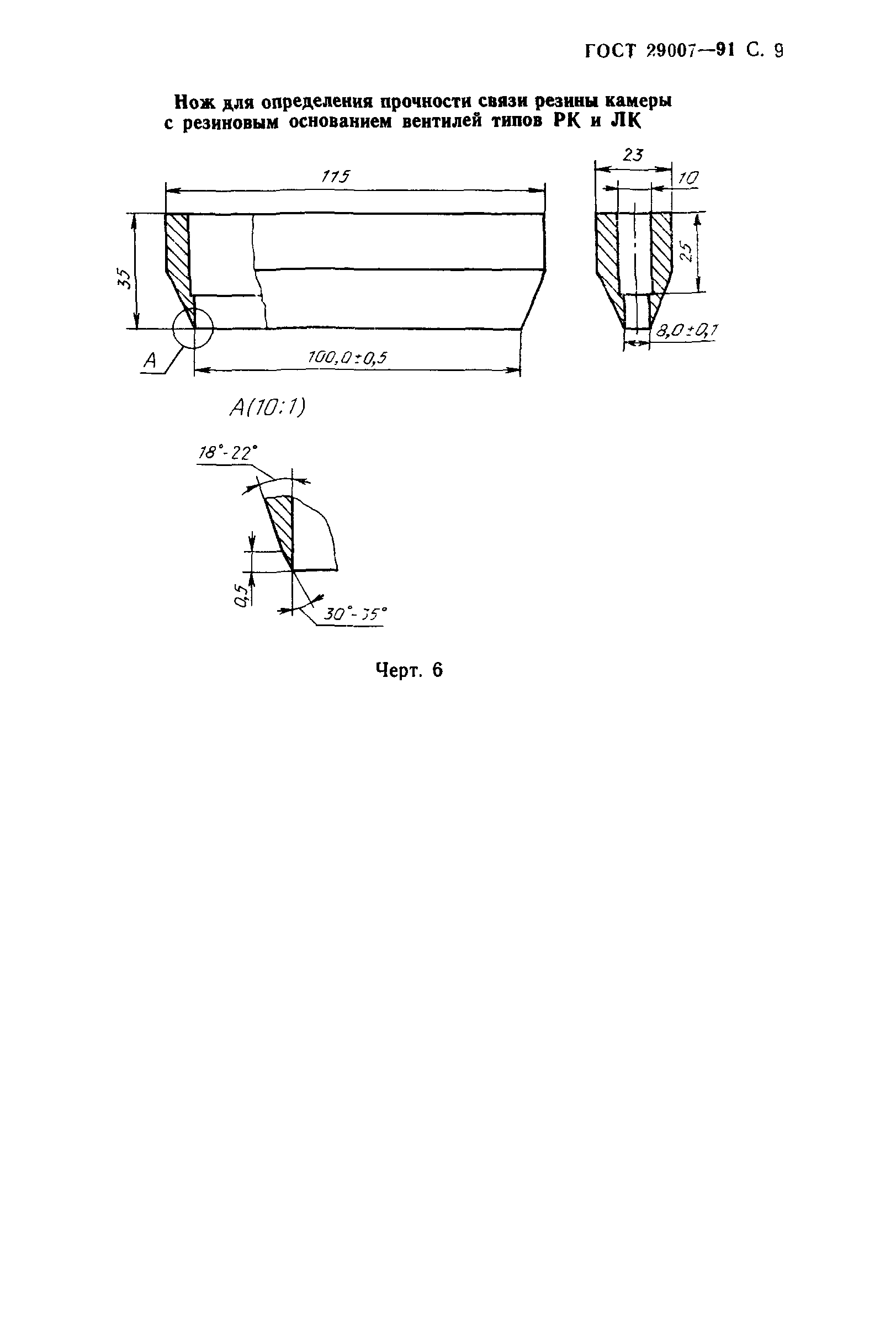
| Оглавление: | 1. Метод отбора образцов 2. Аппаратура 3. Проведение испытания 4. Обработка результатов Приложение. Схема и основные размеры штанцевого ножа для заготовки образца |
| Разработан: | Министерство химической и нефтеперерабатывающей промышленности СССР |
| Утверждён: | 13.05.1991 Государственный комитет СССР по управлению качеством продукции и стандартам (USSR National Committee on Standards and Product Quality Management 672) |
| Издан: | Издательство стандартов (1991 г. ) |
| Нормативные ссылки: |










