Скачать ГОСТ 29158-91 Деревообрабатывающее оборудование. Станки долбежные с качающимся инструментом. Терминология

Дата актуализации: 01.01.2021

ГОСТ 29158-91

Деревообрабатывающее оборудование. Станки долбежные с качающимся инструментом. Терминология

Обозначение: ГОСТ 29158-91
Обозначение англ: GOST 29158-91
Статус:введен впервые
Название рус.:Деревообрабатывающее оборудование. Станки долбежные с качающимся инструментом. Терминология
Название англ.:Woodworking machines. Mortising machines with oscillating tool action. Nomenclature
Дата добавления в базу:01.09.2013
Дата актуализации:01.01.2021
Дата введения:01.01.1993
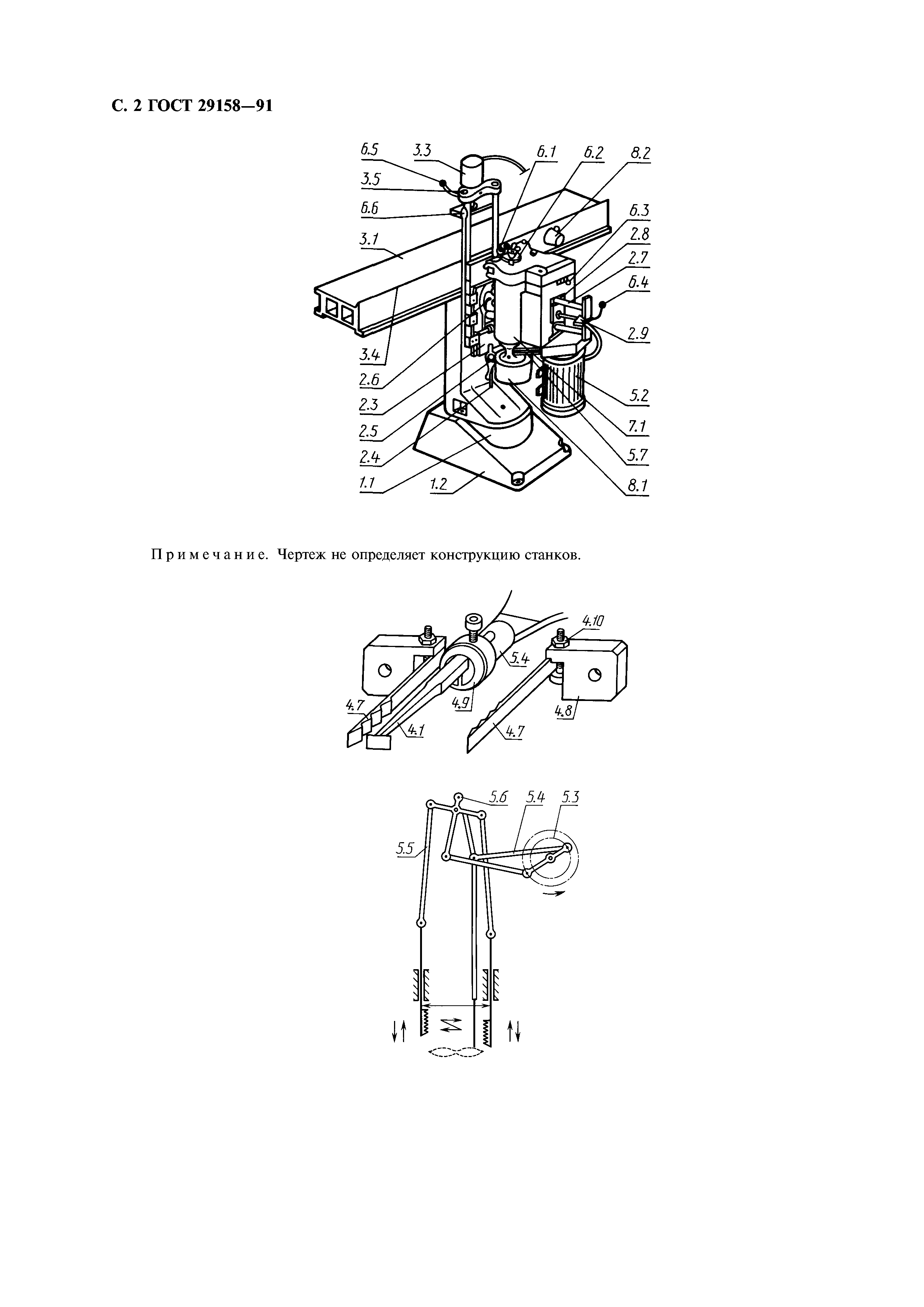
Область применения:Стандарт распространяется на долбежные станки с качающимся инструментом и устанавливает терминологию основных деталей и узлов станков, обеспечивающую идентичность терминологических понятий, применяемых изготовителем и потребителем.
Разработан: ТК 70 Станки
Утверждён:11.12.1991 Госстандарт России (Russian Federation Gosstandart 1916)
Издан: Издательство стандартов (1992 г. )
ИПК Издательство стандартов (2004 г. )
ГОСТ 29158-91ГОСТ 29158-91ГОСТ 29158-91ГОСТ 29158-91ГОСТ 29158-91ГОСТ 29158-91ГОСТ 29158-91