Скачать ГОСТ 30078.2-93 Передачи волновые. Типы. Основные параметры и размерыДата актуализации: 01.01.2021
|
| Обозначение: | ГОСТ 30078.2-93 |
| Обозначение англ: | GOST 30078.2-93 |
| Статус: | введен впервые |
| Название рус.: | Передачи волновые. Типы. Основные параметры и размеры |
| Название англ.: | Harmonic gears. Types. Main parameters and dimensions |
| Дата добавления в базу: | 01.09.2013 |
| Дата актуализации: | 01.01.2021 |
| Дата введения: | 01.07.1996 |
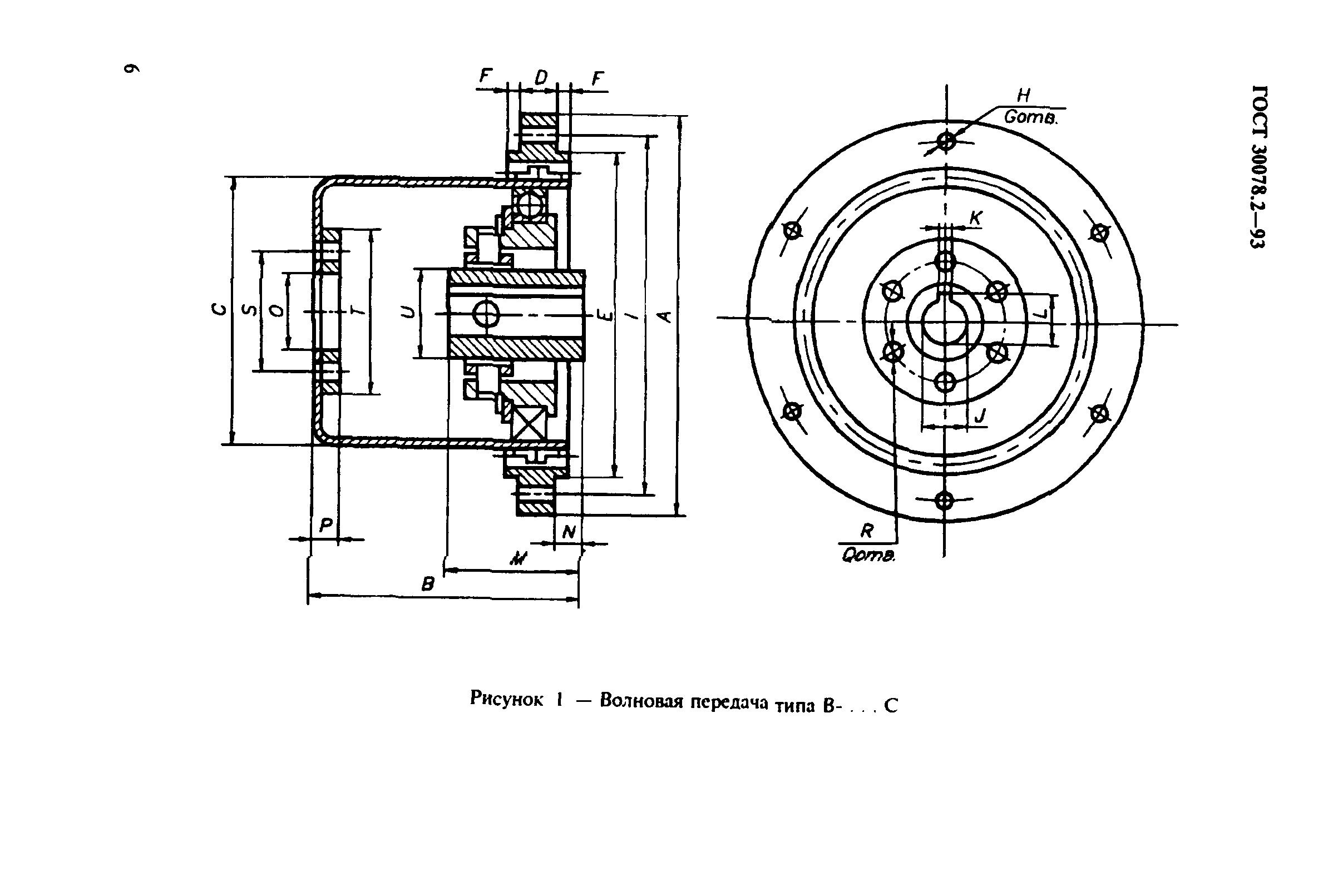
| Область применения: | Стандарт распространяется на волновые зубчатые передачи с внутренним диаметром гибкого колеса от 50 до 250 мм, крутящими моментами от 35 до 5600 Нм, передаточными отношениями от 76 до 275, климатического исполнения У, категории 3 по ГОСТ 15150 и устанавливает типы, основные параметры и размеры. Стандарт пригоден для целей сертификации. |
| Оглавление: | 1 Область применения 2 Нормативные ссылки 3 Определения 4 Требования |
| Разработан: | НИИредуктор Минмашпрома Украины |
| Утверждён: | 01.12.1993 Межгосударственный Совет по стандартизации, метрологии и сертификации (Inter-Governmental Council on Standardization, Metrology, and Certification 4-93) 25.12.1995 Комитет Российской Федерации по стандартизации, метрологии и сертификации (629) |
| Издан: | ИПК Издательство стандартов (1996 г. ) |
| Нормативные ссылки: |
|











