Скачать ГОСТ 30324.19-95 Изделия медицинские электрические. Часть 2. Частные требования безопасности к детским инкубаторамДата актуализации: 01.01.2021
|
| Обозначение: | ГОСТ 30324.19-95 |
| Обозначение англ: | GOST 30324.19-95 |
| Статус: | отменен в рф |
| Название рус.: | Изделия медицинские электрические. Часть 2. Частные требования безопасности к детским инкубаторам |
| Название англ.: | Medical electrical equipment. Part 2. Particular requirements for safety of baby incubators |
| Дата добавления в базу: | 01.09.2013 |
| Дата актуализации: | 01.01.2021 |
| Дата введения: | 16.04.1998 |
| Дата окончания срока действия: | 01.01.2013 |
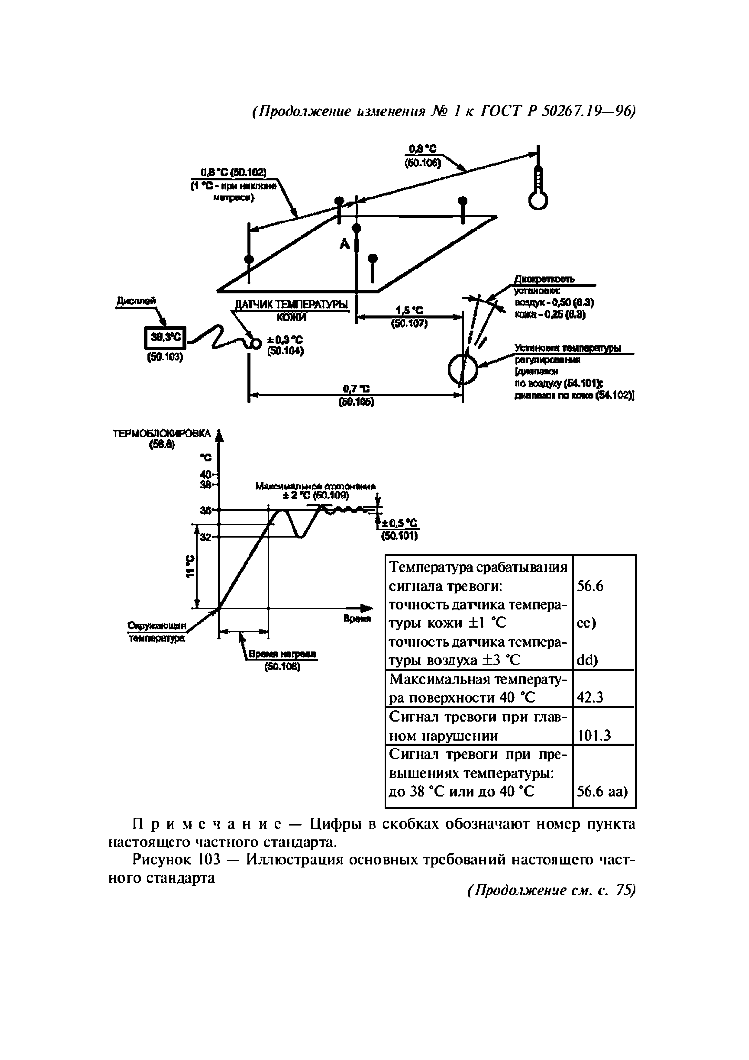
| Область применения: | Стандарт распространяется на детские инкубаторы и устанавливает требования к ним с целью сведения до минимума опасности для пациента и пользователя, а также определение испытаний, с помощью которых можно проверить соответствие требованиям. Не распространяется на изделия с лучистыми обогревателями, он также не распространяется на транспортные инкубаторы, предназначенные для перевозки ребенка. |
| Оглавление: | Введение Нормативные ссылки Раздел первый. Общие положения Раздел второй. Условия окружающей среды Раздел третий. Защита от опасностей поражения электрическим током Раздел четвертый. Защиты от механических опасностей Раздел пятый. Защиты от опасностей нежелательного или чрезмерного излучения Раздел шестой. Защита от опасностей воспламенения горючих смесей анестетиков Раздел седьмой. Защита от чрезмерных температур и других опасностей Раздел восьмой. Точность рабочих характеристик и защита от представляющих опасность выходных характеристик Раздел девятый. Ненормальная работа и условия нарушений; Испытания на воздействие внешних факторов Раздел десятый. Требования к конструкции Раздел одиннадцатый. Дополнительные требования Приложение АА (справочное) Обоснования Приложение ММ (обязательное) Дополнительные требования к детским инкубаторам, отражающие потребности экономики страны |
| Разработан: | ТК 11 Медицинские приборы и аппараты |
| Утверждён: | 16.04.1998 Госстандарт России (Russian Federation Gosstandart 122) |
| Список изменений: |
|
| Нормативные ссылки: |
















































Текстовое изменение № 1 от 01.07.2004










