Скачать ГОСТ 30324.27-95 Изделия медицинские электрические. Часть 2. Частные требования безопасности к электрокардиографическим мониторамДата актуализации: 01.01.2021
|
| Обозначение: | ГОСТ 30324.27-95 |
| Обозначение англ: | GOST 30324.27-95 |
| Статус: | отменен в рф |
| Название рус.: | Изделия медицинские электрические. Часть 2. Частные требования безопасности к электрокардиографическим мониторам |
| Название англ.: | Medical electrical equipment. Part 2. Particular requirements for safety of electrocardiographic monitoring equipment |
| Дата добавления в базу: | 01.09.2013 |
| Дата актуализации: | 01.01.2021 |
| Дата введения: | 01.07.1996 |
| Дата окончания срока действия: | 01.01.2015 |
| Область применения: | Стандарт распространяется на безопасность МЕДИЦИНСКИХ ЭЛЕКТРИЧЕСКИХ ИЗДЕЛИЙ. Так как стандарт относится в основном к безопасности, он содержит некоторые требования, касающиеся надежной работы, если это связано с безопасностью. Стандарт устанавливает частные требования к безопасности ЭЛЕКТРОКАРДИОГРАФИЧЕСКИХ МОНИТОРОВ. Мониторы для телеметрии, амбулаторные мониторы (холтеры) и другие записывающие приборы не входят в область распространения стандарта. |
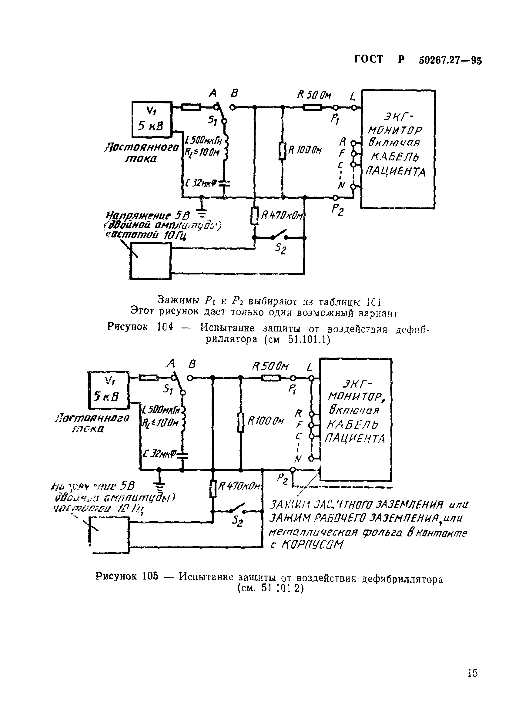
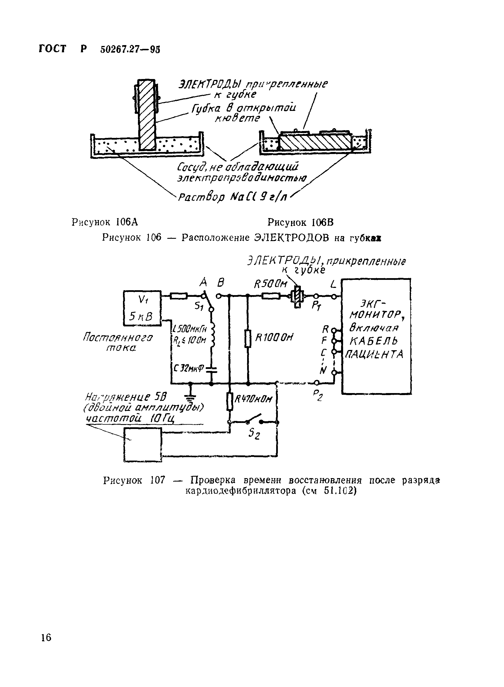
| Оглавление: | Введение Нормативные ссылки Раздел первый. Общие положения Раздел второй. Условия окружающей среды Раздел третий. Защита от опасностей поражения электрическим током Раздел четвертый. Защиты от механических опасностей Раздел пятый. Защиты от опасностей нежелательного или чрезмерного излучения Раздел шестой. Защита от опасностей воспламенения горючих смесей анестетиков Раздел седьмой. Защита от чрезмерных температур и других опасностей Раздел восьмой. Точность рабочих характеристик и защита от представляющих опасность выходных параметров Раздел девятый. Ненормальная работа и условия нарушений; Испытания на воздействие внешних факторов Раздел десятый. Требования к конструкции Приложение D Символы в маркировке Приложение АА Руководство и обоснование Приложение ММ Дополнительные требования к электрокардиографическим мониторам, отражающие потребности экономики страны |
| Утверждён: | 12.03.1996 Госстандарт России (Russian Federation Gosstandart 164) |
| Издан: | Издательство стандартов (1995 г. ) |
| Нормативные ссылки: |



























