Скачать ГОСТ 30324.4-95 Изделия медицинские электрические. Часть 2. Частные требования безопасности к дефибрилляторам и дефибрилляторам-мониторамДата актуализации: 01.01.2021
|
| Обозначение: | ГОСТ 30324.4-95 |
| Обозначение англ: | GOST 30324.4-95 |
| Статус: | отменен в рф |
| Название рус.: | Изделия медицинские электрические. Часть 2. Частные требования безопасности к дефибрилляторам и дефибрилляторам-мониторам |
| Название англ.: | Medical electrical equipment. Part 2. Particular requirements for the safety of defibrillators and defibrillators-monitors |
| Дата добавления в базу: | 01.09.2013 |
| Дата актуализации: | 01.01.2021 |
| Дата введения: | 12.03.1996 |
| Дата окончания срока действия: | 01.01.2015 |
| Область применения: | Стандарт устанавливает требования безопасности к дефибрилляторам и дефибрилляторам-мониторам, определенным в пунктах 2.1.101 и 2.1.102, содержащим устройство накопления энергии. Стандарт не распространяется на мониторы, которые не являются частью дефибриллятора-монитора Для комбинированных аппаратов, в которых контрольный ЭКГ-сигнал не может быть получен через электроды дефибриллятора, стандарт распространяется только на дефибриллятор. |
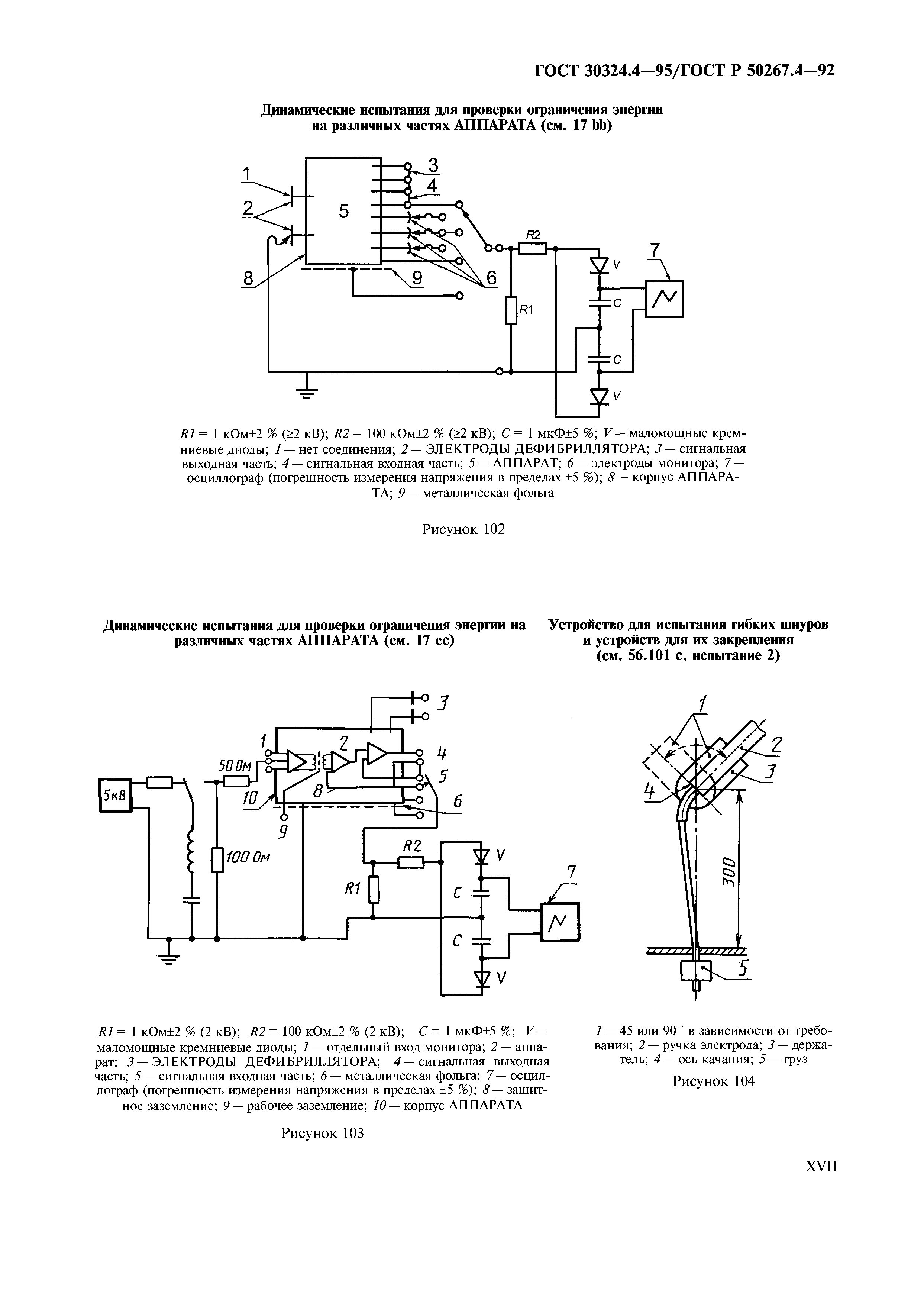
| Оглавление: | Введение Раздел первый. Общие требования 1 Область распространения и цель 2 Термины и определения 3 Общие требования 4 Общие требования к испытаниям 5 Классификация 6 Идентификация, маркировка и документы 7 Потребляемая мощность Раздел второй. Условия окружающей среды Раздел третий. Защита от поражения электрическим током 13 Общие требования 14 Требования, относящиеся к классификации 17 Разделение частей и цепей 18 Защитное заземление, рабочее заземление и выравнивание потенциалов 19 Длительные токи утечки и дополнительные токи в цепи пациента 20 Электрическая прочность изоляции Раздел четвертый. Защиты от механических опасностей Раздел пятый. Защиты от опасностей непредусмотренного или избыточного излучения Раздел шестой. Защита от опасностей взрывов в медицинских помещениях Раздел седьмой. Защита от чрезмерных температур и других опасностей 42 Чрезмерные температуры 43 Пожаробезопасность 44 Переливание, расплескивание, утечка, влажность, проникание жидкостей, очистка, стерилизация и дезинфекция 45 Сосуды и части, находящиеся под давлением 46 Ошибки человека Раздел восьмой. Точность рабочих характеристик и защита от представляющих опасность выходных характеристик 50 Точность рабочих характеристик 51 Защита от представляющих опасность выходных характеристик Раздел девятый. Ненормальная работа и условия нарушений. Испытания на воздействие внешних факторов Раздел десятый. Требования к конструкции 56 Компоненты и общая компоновка 57 Сетевые части, компоненты и монтаж Раздел одиннадцатый. Дополнительные требования безопасности 101 Время заряда 102 Внутренний источник электрической энергии 103 Износоустойчивость 105 Восстановление кардиомонитора после дефибрилляции 106 Помехи кардиомонитору от заряда или внутреннего разряда Приложение АА (рекомендуемое) Приложение ММ (обязательное) Дополнительные требования к дефибрилляторам и дефибрилляторам-мониторам, учитывающим специфику экономики страны |
| Разработан: | ТК 11 Медицинские приборы и аппараты |
| Утверждён: | 12.03.1996 Госстандарт России (Russian Federation Gosstandart 164) 22.09.1992 Госстандарт России (Russian Federation Gosstandart 1235) |
| Издан: | ИПК Издательство стандартов (2000 г. ) |



























