Скачать ГОСТ 3497-74 Пластинки трения режущих аппаратов сельскохозяйственных машин. Технические условияДата актуализации: 01.01.2021
|
| Обозначение: | ГОСТ 3497-74 |
| Обозначение англ: | GOST 3497-74 |
| Статус: | действует |
| Название рус.: | Пластинки трения режущих аппаратов сельскохозяйственных машин. Технические условия |
| Название англ.: | Wearing plates for cutter bars of agricultural machines |
| Дата добавления в базу: | 01.09.2013 |
| Дата актуализации: | 01.01.2021 |
| Дата введения: | 01.01.1975 |
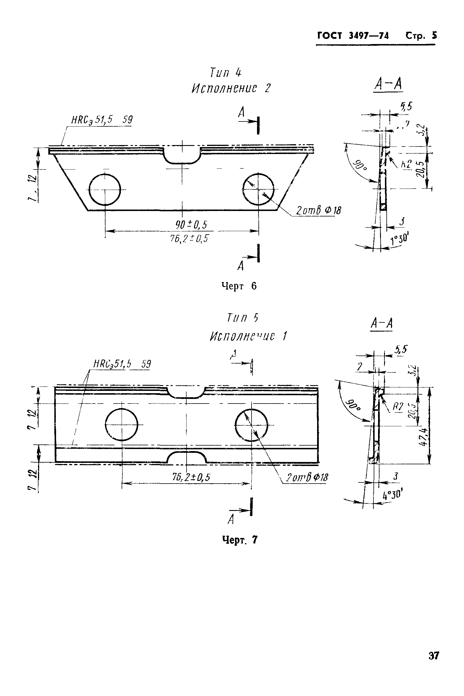
| Оглавление: | 1. Типы и основные размеры 2. Технические требования 3. Правила приемки 4. Методы контроля 5. Маркировка, упаковка, транспортирование и хранение 6. Гарантии изготовителя |
| Утверждён: | 13.05.1974 Госстандарт СССР (USSR Gosstandart 1129) |










