Скачать ГОСТ 8.354-85 Государственная система обеспечения единства измерений. Анализаторы жидкости кондуктометрические. Методика поверкиДата актуализации: 01.01.2021
|
| Обозначение: | ГОСТ 8.354-85 |
| Обозначение англ: | GOST 8.354-85 |
| Статус: | отменен в рф |
| Название рус.: | Государственная система обеспечения единства измерений. Анализаторы жидкости кондуктометрические. Методика поверки |
| Название англ.: | State system for ensuring the uniformity of measurements. Conductometric liquid analysers. Methods of verification |
| Дата добавления в базу: | 01.09.2013 |
| Дата актуализации: | 01.01.2021 |
| Дата введения: | 01.01.1987 |
| Дата окончания срока действия: | 01.01.2012 |
| Область применения: | Стандарт распространяется на кондуктометрические анализаторы жидкости общепромышленного применения, выпускаемые по ГОСТ 13350-78, предназначенные для измерения удельной электрической проводимости и концентрации жидкостей, для которых нормирована однозначная связь между их удельной электрической проводимостью и составом, и устанавливает методику первичной и периодической поверок. |
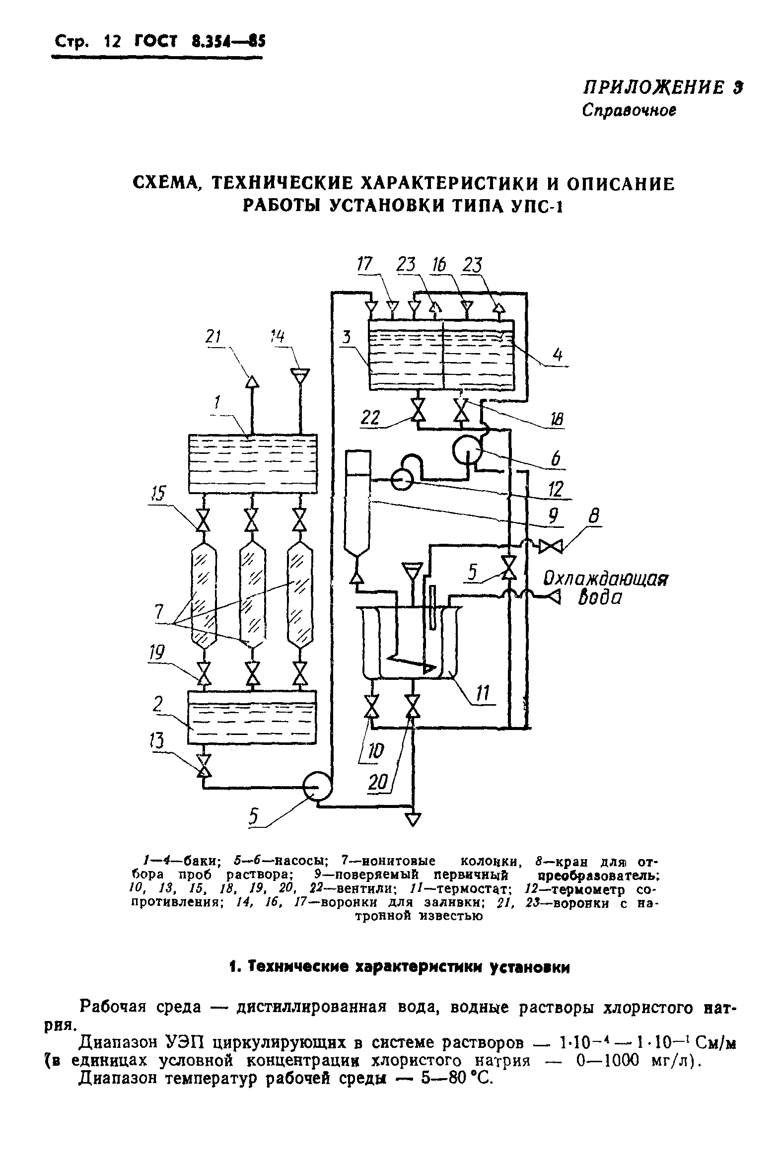
| Оглавление: | 1 Операции поверки 2 Средства поверки 3 Условия поверки и подготовка к ней 4 Проведение поверки 5 Оформление результатов поверки Приложение 1 (обязательное) Форма протокола поверки Приложение 2 (справочное) Схема, технические характеристики и описание работы установки типа УПКК-2 Приложение 3 (справочное) Схема, технические характеристики и описание работы установки типа УПС-1 Приложение 4 (справочное) Зависимость удельной электрической проводимости растворов хлористых натрия и калия от концентрации и температуры |
| Разработан: | ВНИИ атоматизированной системы метрологии |
| Утверждён: | 13.11.1985 Государственный комитет СССР по стандартам (USSR National Committee on Standards 3591) |
| Издан: | Издательство стандартов (1986 г. ) |
| Заменяет собой: |
|
| Нормативные ссылки: |
|

















