Скачать ГОСТ 8.490-83 Государственная система обеспечения единства измерений. Приборы для измерения межосевого расстояния зубчатых колес. Методика поверкиДата актуализации: 01.01.2021
|
| Обозначение: | ГОСТ 8.490-83 |
| Обозначение англ: | GOST 8.490-83 |
| Статус: | действует |
| Название рус.: | Государственная система обеспечения единства измерений. Приборы для измерения межосевого расстояния зубчатых колес. Методика поверки |
| Название англ.: | State system for ensuring the uniformity of measurements. Instruments for measurements of gear interaxial distance. Verification technique |
| Дата добавления в базу: | 01.09.2013 |
| Дата актуализации: | 01.01.2021 |
| Дата введения: | 01.07.1984 |
| Область применения: | Стандарт распространяется на приборы для измерения межосевого расстояния зубчатых колес типоразмеров S01, S02 и S01 (по ГОСТ 10387-81 и ГОСТ 5368-81) и устанавливает методику их первичной и периодической поверок. |
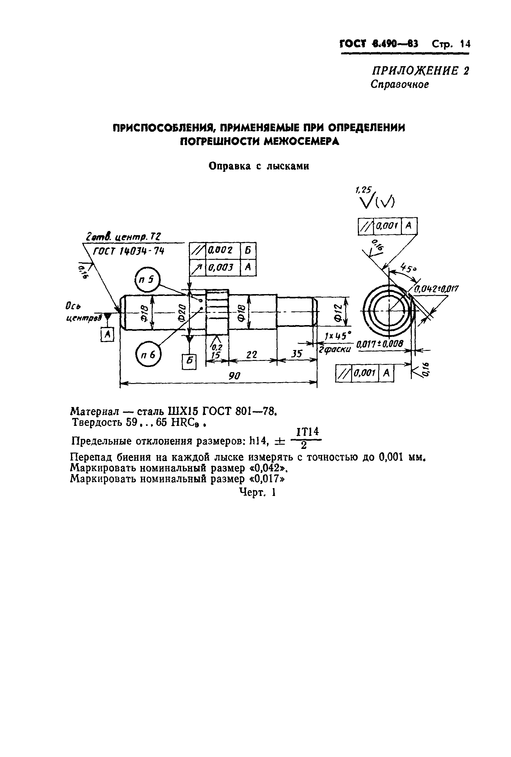
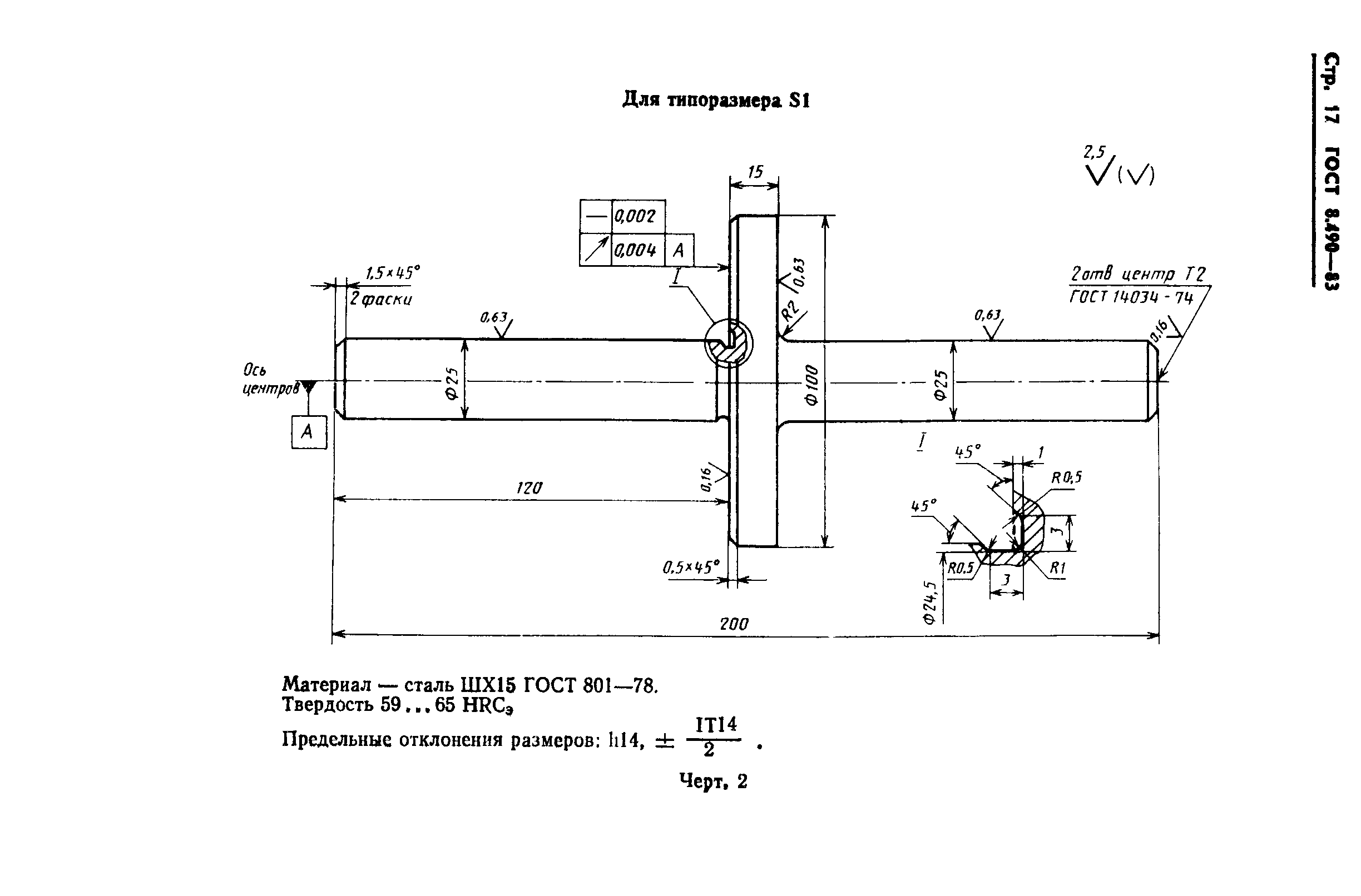
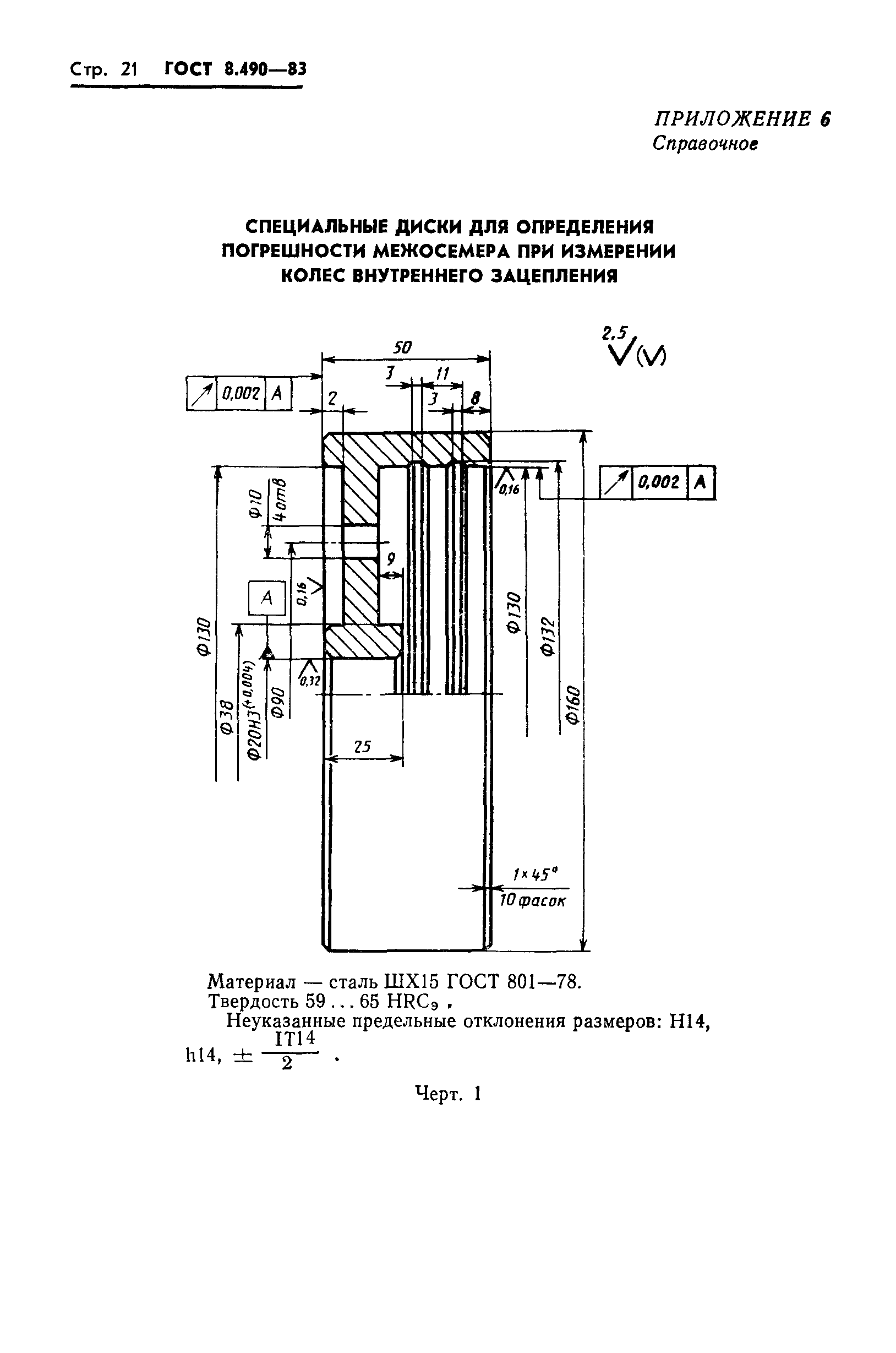
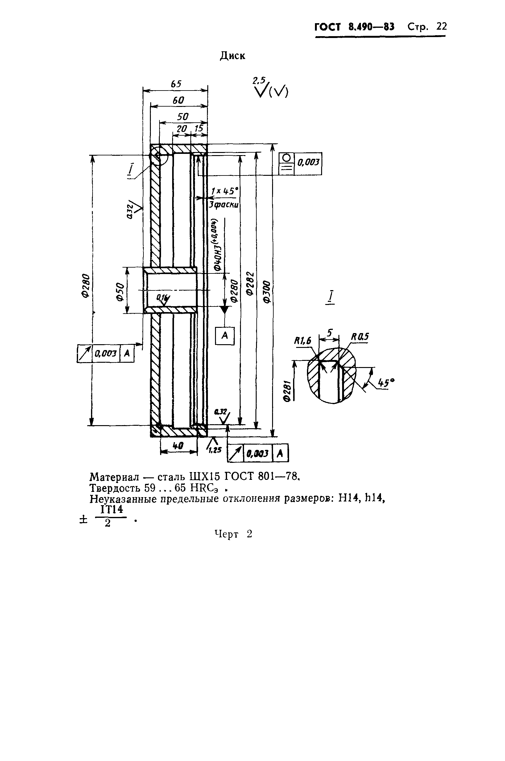
| Оглавление: | 1. Операции и средства поверки 2. Условия поверки и подготовка к ней 3. Проведение поверки 4. Оформление результатов измерений Приложение 1 (справочное) Специальное приспособление Приложение 2 (справочное) Приспособления, применяемые при определении погрешности межосемера Приложение 3 (справочное) Специальная оправка для поверки межосемеров Приложение 4 (справочное) Оправки, применяемые при определении погрешности межосемера при измерении червячных колес Приложение 5 (справочное) Цилиндрический диск Приложение 6 (справочное) Специальные диски для определения погрешности межосемера при измерении колес внутреннего зацепления |
| Утверждён: | 08.07.1983 Государственный комитет СССР по стандартам (USSR National Committee on Standards 3031) |
| Издан: | Издательство стандартов (1987 г. ) |
| Заменяет собой: |
|
| Нормативные ссылки: |
|























