Скачать ГОСТ 8.544-86 Государственная система обеспечения единства измерений. Относительная диэлектрическая проницаемость и тангенс угла потерь твердых диэлектриков. Методика выполнения измерений в диапазоне частот от 10 в девятой степени до 10 в десятой степени ГЦДата актуализации: 01.01.2021
|
| Обозначение: | ГОСТ 8.544-86 |
| Обозначение англ: | GOST 8.544-86 |
| Статус: | отменен в рф |
| Название рус.: | Государственная система обеспечения единства измерений. Относительная диэлектрическая проницаемость и тангенс угла потерь твердых диэлектриков. Методика выполнения измерений в диапазоне частот от 10 в девятой степени до 10 в десятой степени ГЦ |
| Название англ.: | State system for ensuring the uniformity of measurements. Relative dielectric permittivity the loss tangent of solid dielectrics. Procedure of measure from 10 in 9 degree to 10 in 10 degree Hz |
| Дата добавления в базу: | 01.09.2013 |
| Дата актуализации: | 01.01.2021 |
| Дата введения: | 01.01.1987 |
| Дата окончания срока действия: | 01.06.2008 |
| Область применения: | Стандарт устанавливает методики выполнения измерений относительной диэлектрической проницаемости и тангенса угла диэлектрических потерь твердых диэлектриков. |
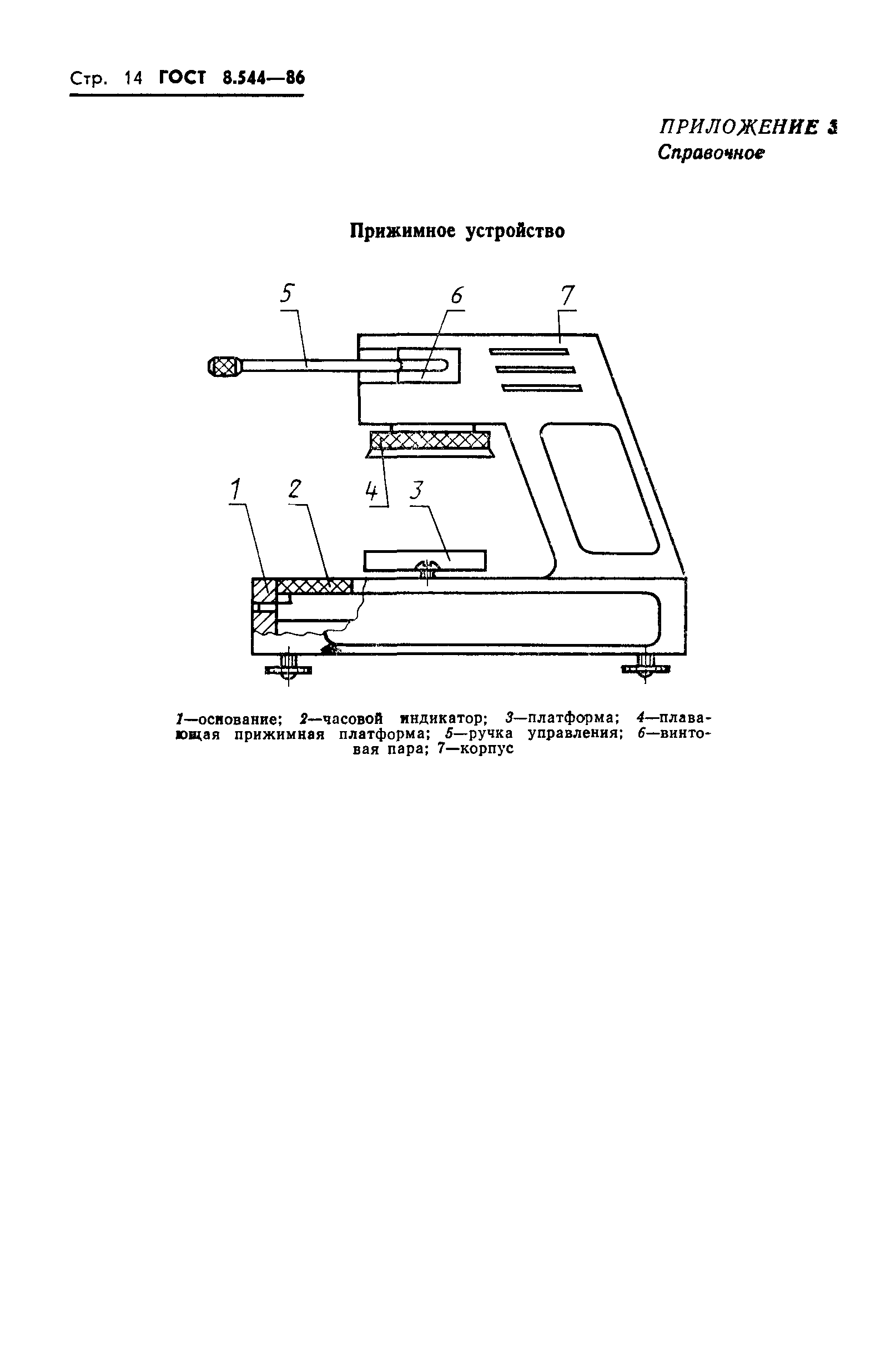
| Оглавление: | 1 Средства измерений и вспомогательные устройства 2 Методы измерений 3 Требования безопасности 4 Условия выполнения измерений 5 Подготовка к выполнению измерений 6 Выполнение измерений 7 Обработка результатов измерений Приложение 1 Измерительная ячейка типа ОР-2М Приложение 2 Измерительная ячейка типа ИЯМТ Приложение 3 Прижимное устройство Приложение 4 Подготовка образцов диэлектриков при использовании метода "Вариации длины резонатора" Приложение 5 Подготовка образцов диэлектриков при использовании метода "Вариации частоты и типов колебаний" Приложение 6 Значения корней функции Бесселя Приложение 7 Программа расчета относительной диэлектрической проницаемости и тангенса угла диэлектрических потерь при использовании метода "Вариации длины резонатора" |
| Разработан: | Государственный комитет СССР по стандартам |
| Утверждён: | 30.03.1986 Государственный комитет СССР по стандартам (USSR National Committee on Standards 845) |
| Издан: | Издательство стандартов (1986 г. ) |
| Заменяет собой: |
|























