Скачать ГОСТ 8008-75 Трансформаторы силовые. Методы испытаний устройств переключения ответвлений обмотокДата актуализации: 01.01.2021
|
| Обозначение: | ГОСТ 8008-75 |
| Обозначение англ: | GOST 8008-75 |
| Статус: | взамен |
| Название рус.: | Трансформаторы силовые. Методы испытаний устройств переключения ответвлений обмоток |
| Название англ.: | Power transformers. Test methods of tap changing devices |
| Дата добавления в базу: | 01.09.2013 |
| Дата актуализации: | 01.01.2021 |
| Дата введения: | 01.07.1976 |
| Область применения: | Стандарт распространяется на устройства переключения ответвлений обмоток силовых трансформаторов (переключающие устройства) по ГОСТ 24126-80 и устанавливает методы их испытаний. |
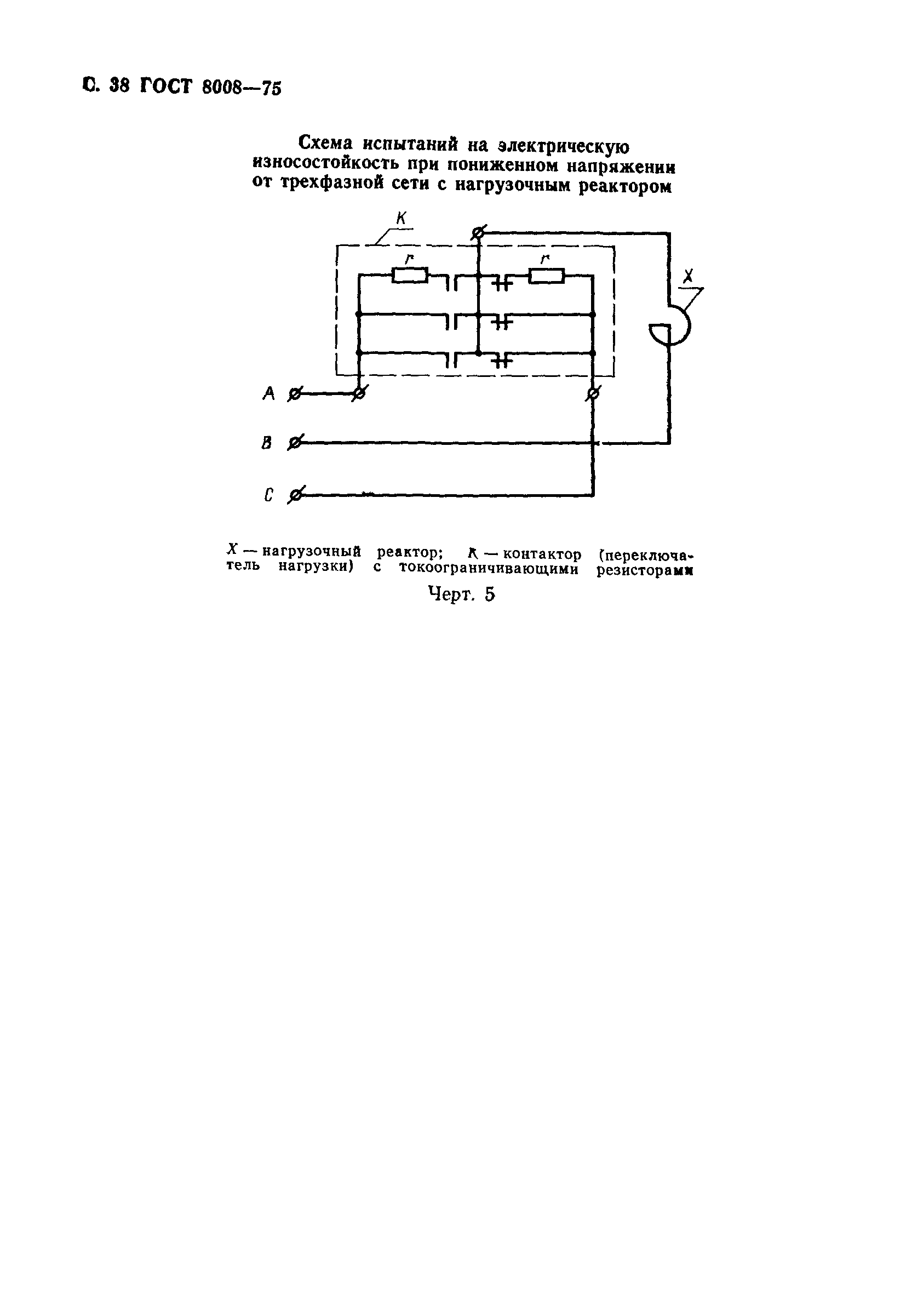
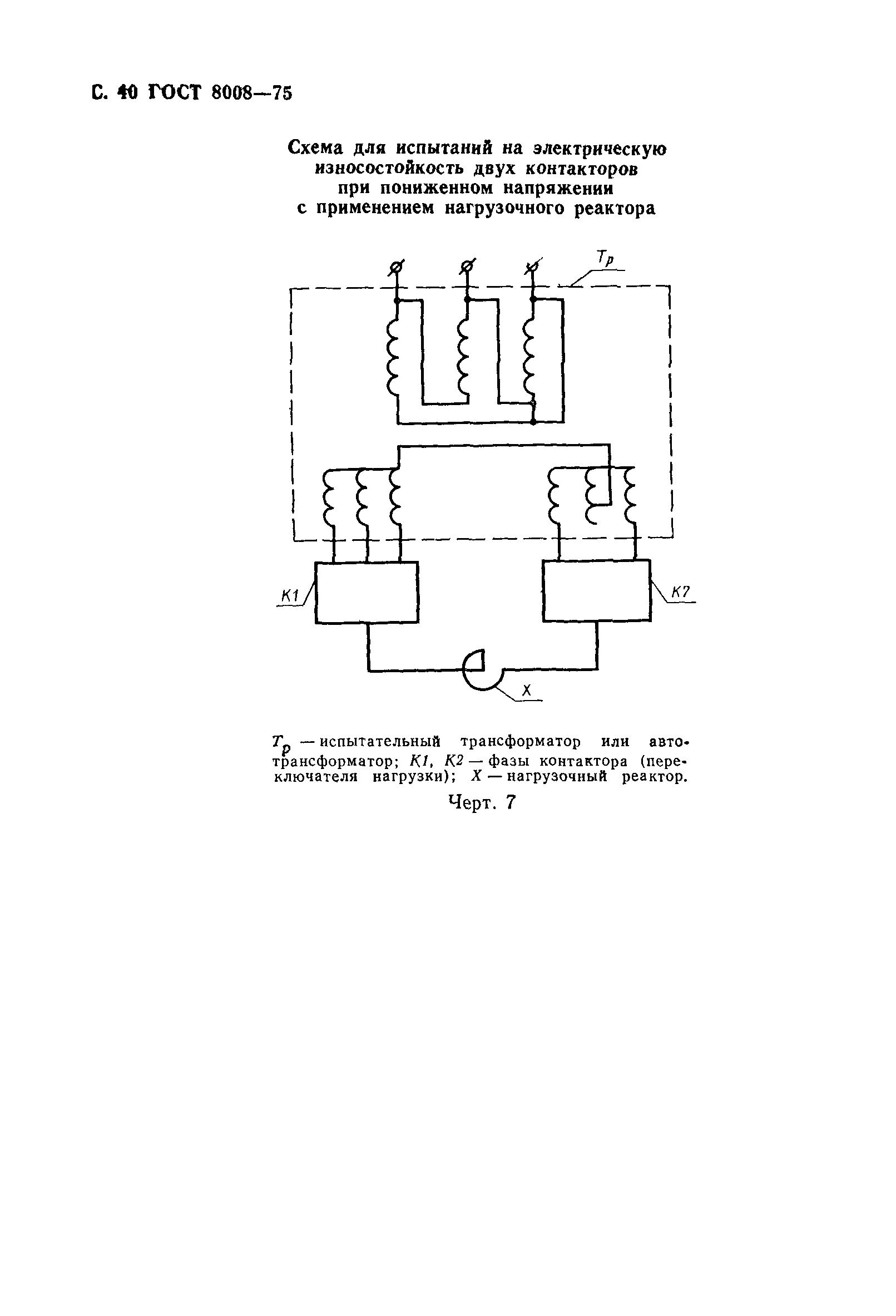
| Оглавление: | 1 Общие положения 2 Измерение контактного нажатия 3 Измерение крутящего момента 4 Измерение сопротивления элементов токоведущего контура, токоограничивающих резисторов и реакторов 5 Проверка последовательности действия контактов 6 Испытание электрической прочности изоляции 7 Испытание на нагрев элементов токоведущего контура 8 Испытание на нагрев токоограничивающих резисторов 9 Испытание на стойкость к токам короткого замыкания 10 Испытание на отключающую способность 11 Испытание на герметичность 12 Испытание бака контактора (переключателя нагрузки) на прочность при внутреннем давлении 13 Испытание на электрическую износостойкость 14 Испытание приводов и блокировок 15 Испытание на механическую износостойкость Приложение 1 Методика определения напряжения промышленной частоты, эквивалентного напряжению полного грозового импульса Приложение 2 (рекомендуемое) схемы для испытаний на отключающую способность и электрическую износостойкость Приложение 3 (справочное) Дополнительная информация по режиму переключения, относящаяся только к устройствам РПН с токоограничивающими резисторами |
| Разработан: | Министерство электротехнической промышленности СССР |
| Утверждён: | 25.04.1975 Госстандарт СССР (USSR Gosstandart 1063) |
| Издан: | Издательство стандартов (1975 г. ) Издательство стандартов (1993 г. ) |
| Заменяет собой: |
|
| Нормативные ссылки: |
|














































