Скачать ГОСТ 9422-83 Карточки почтовые. Технические условияДата актуализации: 01.01.2021
|
| Обозначение: | ГОСТ 9422-83 |
| Обозначение англ: | GOST 9422-83 |
| Статус: | отменен в рф |
| Название рус.: | Карточки почтовые. Технические условия |
| Название англ.: | Post cards |
| Дата добавления в базу: | 01.10.2014 |
| Дата актуализации: | 01.01.2021 |
| Дата введения: | 01.07.1984 |
| Дата окончания срока действия: | 01.07.2000 |
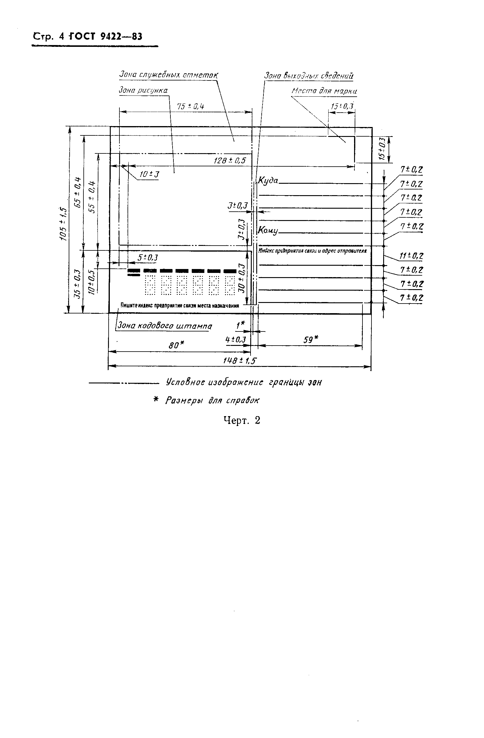
| Область применения: | Стандарт распространяется на почтовые карточки, повестки и извещения, предназначенные для пересылки письменных сообщений. Стандарт не распространяется на карточки изобразительные (открытки), выпускаемые предприятиями Государственного Комитета Совета Министров СССР по делам издательств, полиграфии и книжной торговли или другими министерствами и ведомствами, предназначенные для пересылки в конверте. |
| Оглавление: | 1. Основные параметры и размеры 2. Технические требования 3. Правила приемки 4. Методы испытаний 5. Упаковка, маркировка, транспортирование и хранение 6. Гарантии изготовителя |
| Разработан: | Министерство связи СССР |
| Утверждён: | 24.11.1983 Государственный комитет СССР по стандартам (USSR National Committee on Standards 5514) |
| Издан: | Издательство стандартов (1984 г. ) |
| Заменяет собой: |
|
| Нормативные ссылки: |
























