Скачать ГОСТ 9853.1-79 Титан губчатый. Метод определения азотаДата актуализации: 01.01.2021
|
| Обозначение: | ГОСТ 9853.1-79 |
| Обозначение англ: | GOST 9853.1-79 |
| Статус: | заменен |
| Название рус.: | Титан губчатый. Метод определения азота |
| Название англ.: | Sponge titanium. Method for the determination of nitrogen |
| Дата добавления в базу: | 01.10.2014 |
| Дата актуализации: | 01.01.2021 |
| Дата введения: | 01.01.1981 |
| Дата окончания срока действия: | 01.07.2000 |
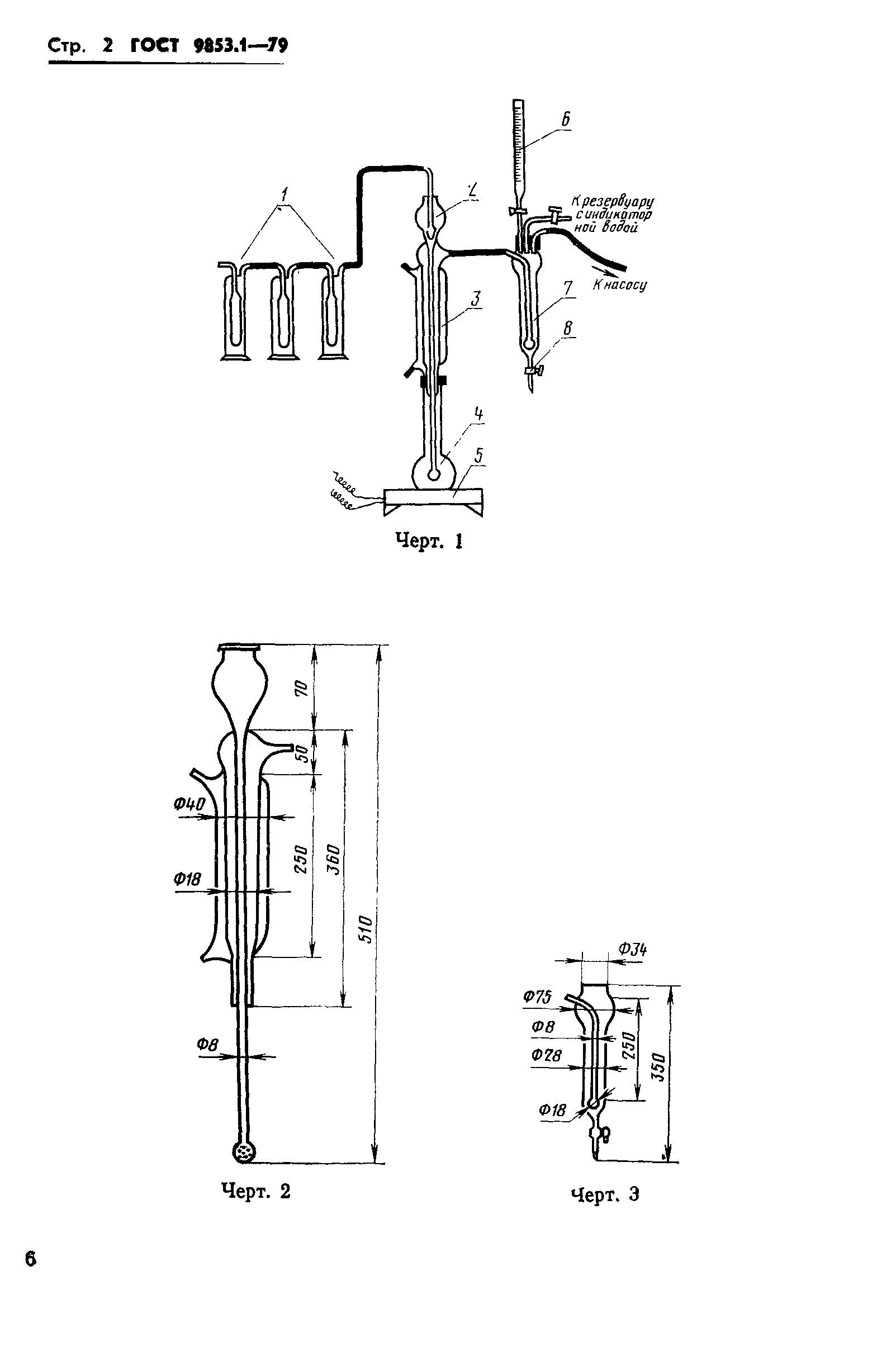
| Область применения: | Стандарт устанавливает объемный метод определения азота в губчатом титане (при массовой доле азота от 0,005 до 0,4 %). Метод основан на растворении титана в серной и фтористоводородной кислотах в результате чего в растворе образуются аммонийные соли. Последние разлагаются гидроокисью натрия с выделением аммиака, который поглощается слабокислым раствором индикатора Таширо и титруется раствором серной кислоты. |
| Оглавление: | 1 Общие требования 2 Аппаратура, реактивы и растворы 3 Подготовка к анализу 4 Проведение анализа 5 Обработка результатов |
| Разработан: | Министерство цветной металлургии СССР |
| Утверждён: | 24.08.1979 Государственный комитет СССР по стандартам (USSR National Committee on Standards 3207) |
| Издан: | Издательство стандартов (1979 г. ) |
| Список изменений: |
|
| Заменяет собой: |
|
| Нормативные ссылки: |
|

















Текстовое изменение № 1 от 01.01.1986

Текстовое изменение № 2 от 01.03.1988

Текстовое изменение № 3 от 01.03.1991


