Скачать ГОСТ Р 50267.38-99 Изделия медицинские электрические. Часть 2. Частные требования безопасности к кроватям медицинским электрическимДата актуализации: 01.01.2021
|
| Обозначение: | ГОСТ Р 50267.38-99 |
| Обозначение англ: | GOST R 50267.38-99 |
| Статус: | отменен |
| Название рус.: | Изделия медицинские электрические. Часть 2. Частные требования безопасности к кроватям медицинским электрическим |
| Название англ.: | Medical electrical equipment. Part 2. Particular requirements for the safety of electrically operated hospital beds |
| Дата добавления в базу: | 01.09.2013 |
| Дата актуализации: | 01.01.2021 |
| Дата введения: | 01.01.2001 |
| Дата окончания срока действия: | 01.01.2015 |
| Область применения: | Стандарт устанавливает требования к кроватям медицинским электрическим. |
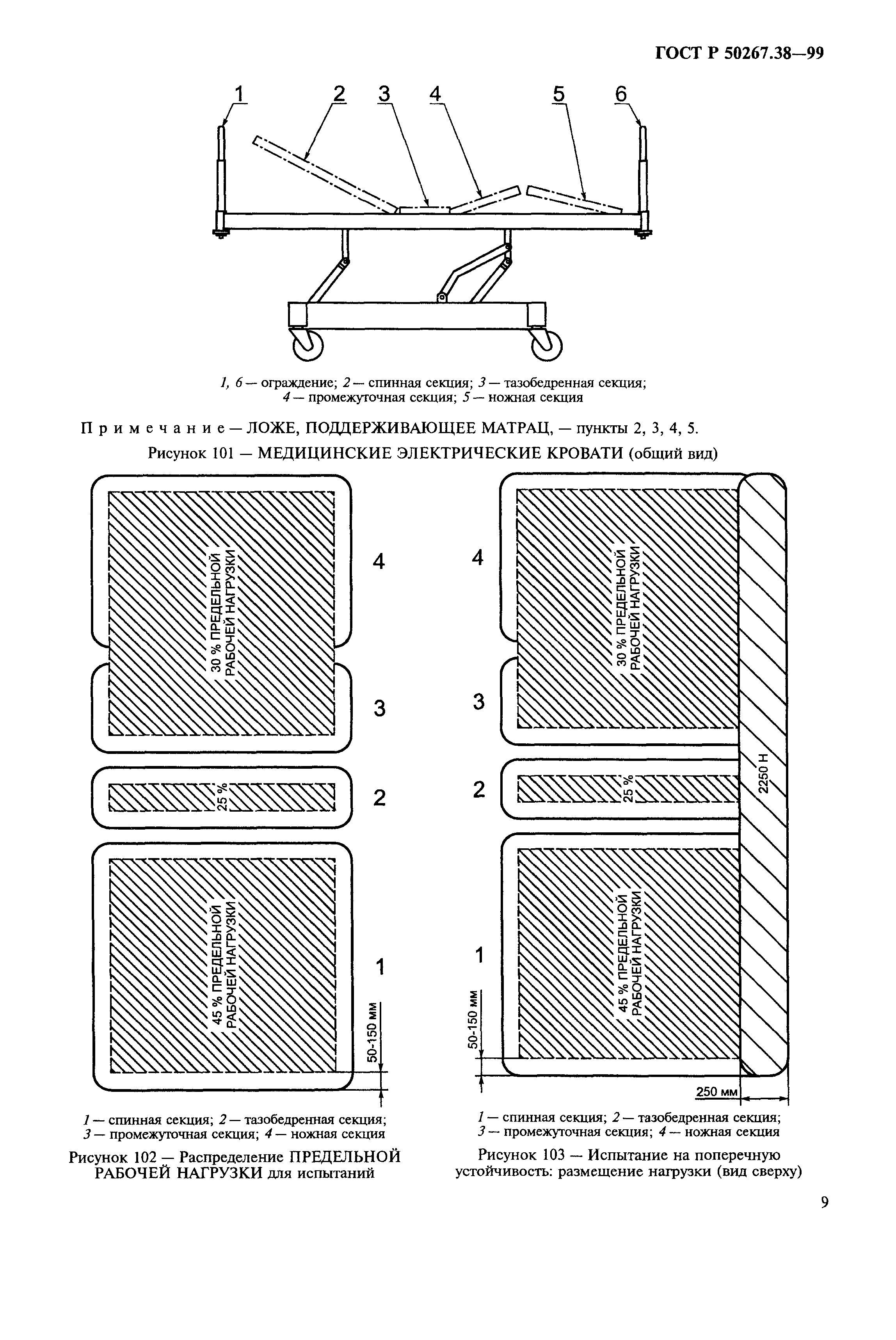
| Оглавление: | Раздел первый. Общие положения 1 Область распространения и цель 2 Определения 3 Общие требования 5 Классификация 6 Идентификация, маркировка и документация Раздел второй. Условия окружающей среды Раздел третий. Защита от опасностей поражения электрическим током 17 Разделение частей и цепей 18 Защитное заземление, рабочее заземление и выравнивание потенциалов Раздел четвертый. Защита от механических опасностей 21 Механическая прочность 22 Движущиеся части 24 Устойчивость при нормальной эксплуатации 26 Вибрация и шум 28 Подвешенные массы Раздел пятый. Защита от опасностей нежелательного или чрезмерного излучения 36 Электромагнитная совместимость Раздел шестой. Защита от опасностей воспламенения горючих смесей анестетиков Раздел седьмой. Защита от чрезмерных температур и других опасностей 44 Перелив, расплескивание, утечка, влажность, проникание жидкостей, очистка, стерилизация и дезинфекция Раздел восьмой. Точность рабочих характеристик и защита от представляющих опасность выходных характеристик Раздел девятый. Ненормальная работа и условия нарушения; испытания на воздействие внешних факторов 52 Ненормальная работа и условия нарушения Раздел десятый. Требования к конструкции 54 Общие положения 56 Компоненты и общая компоновка 57 Сетевые части, компоненты и монтаж Рисунок 101 Медицинские электрические кровати (общий вид) Рисунок 102 Распределение предельной рабочей нагрузки для испытаний Рисунок 103 Испытание на поперечную устойчивость: размещение нагрузки (вид сверху) Рисунок 104 Испытание на продольную устойчивость: размещение нагрузки (вид сверху) Рисунок 105 Испытание на поперечную устойчивость: размещение нагрузки (вид сбоку) Рисунок 106 Испытание на продольную устойчивость: размещение нагрузки (вид сбоку) Рисунок 107 Органы управления кроватью и/или приводы: пояснения графических обозначений Рисунок 108. Обозначение предельной рабочей нагрузки Рисунок 109 Типичное размещение точек сжатия и раздвигания Рисунок 110 Размеры зазоров вокруг перил Рисунок 111 Зона рабочих частей и выравнивание потенциалов Рисунок 112 Минимальный угол между спиной и ногами/приподнятыми ногами пациента для различных конфигураций ложа, поддерживающего матрацы Приложение АА Общие положения и обоснования Приложение ВВ Возможные испытания медицинских электрических кроватей |
| Разработан: | ВНИИИМТ |
| Утверждён: | 27.12.1999 Госстандарт России (Russian Federation Gosstandart 855-ст) |
| Издан: | ИПК Издательство стандартов (2000 г. ) |
| Нормативные ссылки: |
|























