Скачать ГОСТ Р 50412-92 Машины текстильные и вспомогательное оборудование. Машины приготовительные ткацкого производства. Определение левой и правой сторон

Дата актуализации: 01.01.2021

ГОСТ Р 50412-92

Машины текстильные и вспомогательное оборудование. Машины приготовительные ткацкого производства. Определение левой и правой сторон

Обозначение: ГОСТ Р 50412-92
Обозначение англ: GOST R 50412-92
Статус:введен впервые
Название рус.:Машины текстильные и вспомогательное оборудование. Машины приготовительные ткацкого производства. Определение левой и правой сторон
Название англ.:Textile machinery and accessories. Weaving preparatory machines. Definition of left and right sides
Дата добавления в базу:01.09.2013
Дата актуализации:01.01.2021
Дата введения:01.01.1994
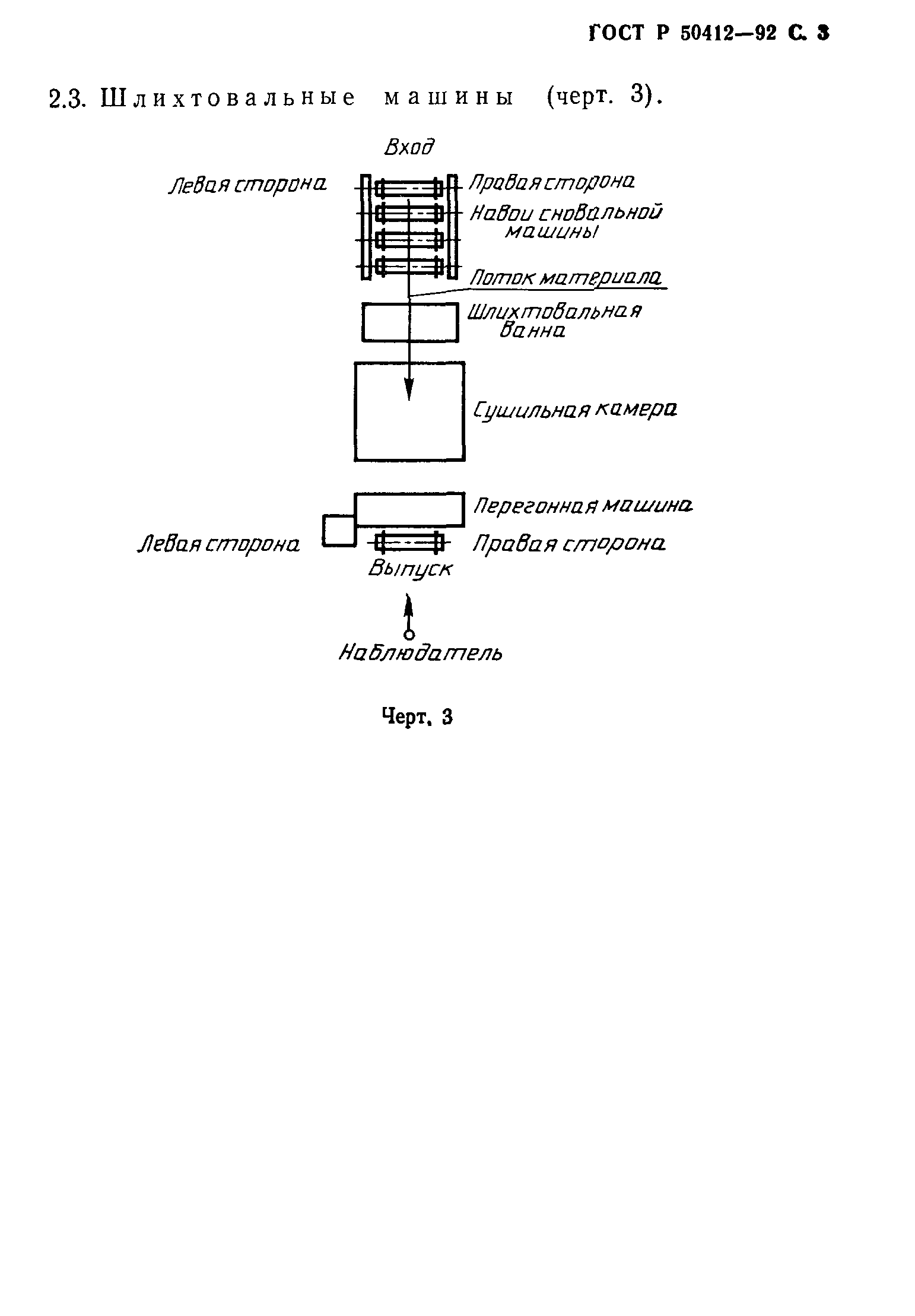
Область применения:Стандарт устанавливает порядок определения левой и правой сторон приготовительных машин ткацкого производства.
Оглавление:1 Назначение и область применения
2 Определение
Разработан: ТК 314 Текстильные машины и оснастка
Утверждён:25.11.1992 Госстандарт России (Russian Federation Gosstandart 1515)
Издан: Издательство стандартов (1993 г. )
ГОСТ Р 50412-92ГОСТ Р 50412-92ГОСТ Р 50412-92ГОСТ Р 50412-92ГОСТ Р 50412-92