Скачать ГОСТ Р 50518-93 Фрезы со шпоночным пазом. Взаимозаменяемые размеры с оправкамиДата актуализации: 01.01.2021
|
| Обозначение: | ГОСТ Р 50518-93 |
| Обозначение англ: | GOST R 50518-93 |
| Статус: | заменен |
| Название рус.: | Фрезы со шпоночным пазом. Взаимозаменяемые размеры с оправками |
| Название англ.: | Milling cutters with tenon drive. Interchangeability dimensions with cutter arbors |
| Дата добавления в базу: | 01.09.2013 |
| Дата актуализации: | 01.01.2021 |
| Дата введения: | 01.07.1994 |
| Дата окончания срока действия: | 01.07.2014 |
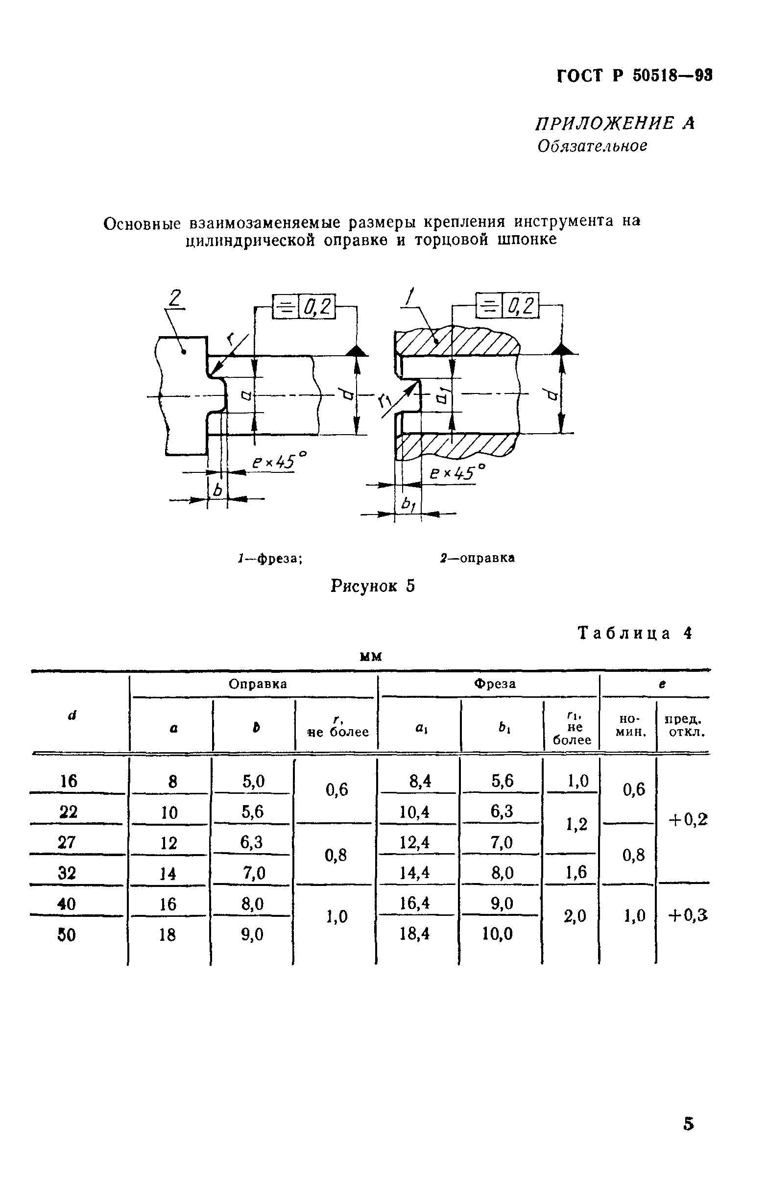
| Область применения: | Стандарт устанавливает размеры для обеспечения взаимозаменяемости фрез со шпоночным пазом и посадочными местами их на оправках. Стандарт устанавливает взаимозаменяемые размеры фрез, посадочного места фрезы на оправке и стопорного винта. |
| Оглавление: | 1 Область применения 2 Нормативные ссылки 3 Требования Приложение А (обязательное) |
| Разработан: | ТК 95 Инструмент |
| Утверждён: | 10.03.1993 Госстандарт России (Russian Federation Gosstandart 70) |
| Чем заменён: | |
| Нормативные ссылки: |








