Скачать ГОСТ Р 50530-93 Патроны к ручному огнестрельному оружию, устройствам промышленного и специального назначения. Виды и методы контроля при сертификационных испытаниях на безопасностьДата актуализации: 01.01.2021
|
| Обозначение: | ГОСТ Р 50530-93 |
| Обозначение англ: | GOST R 50530-93 |
| Статус: | заменен |
| Название рус.: | Патроны к ручному огнестрельному оружию, устройствам промышленного и специального назначения. Виды и методы контроля при сертификационных испытаниях на безопасность |
| Название англ.: | Cartridges for portable fire-arms, firing devices of industrial and trade special purposes. Types and methods of control during safety certificating tests |
| Дата добавления в базу: | 01.09.2013 |
| Дата актуализации: | 01.01.2021 |
| Дата введения: | 01.07.1993 |
| Дата окончания срока действия: | 01.01.2009 |
| Область применения: | Стандарт устанавливает виды и методы контроля патронов к ручному огнестрельному оружию, устройствам промышленного и специального назначения при сертификационных испытаниях на безопасность в соответствии с нормативными документами Постоянной международной комиссии (ПМК) Брюссельской конвенции по взаимному признанию испытательных клейм ручного огнестрельного оружия. |
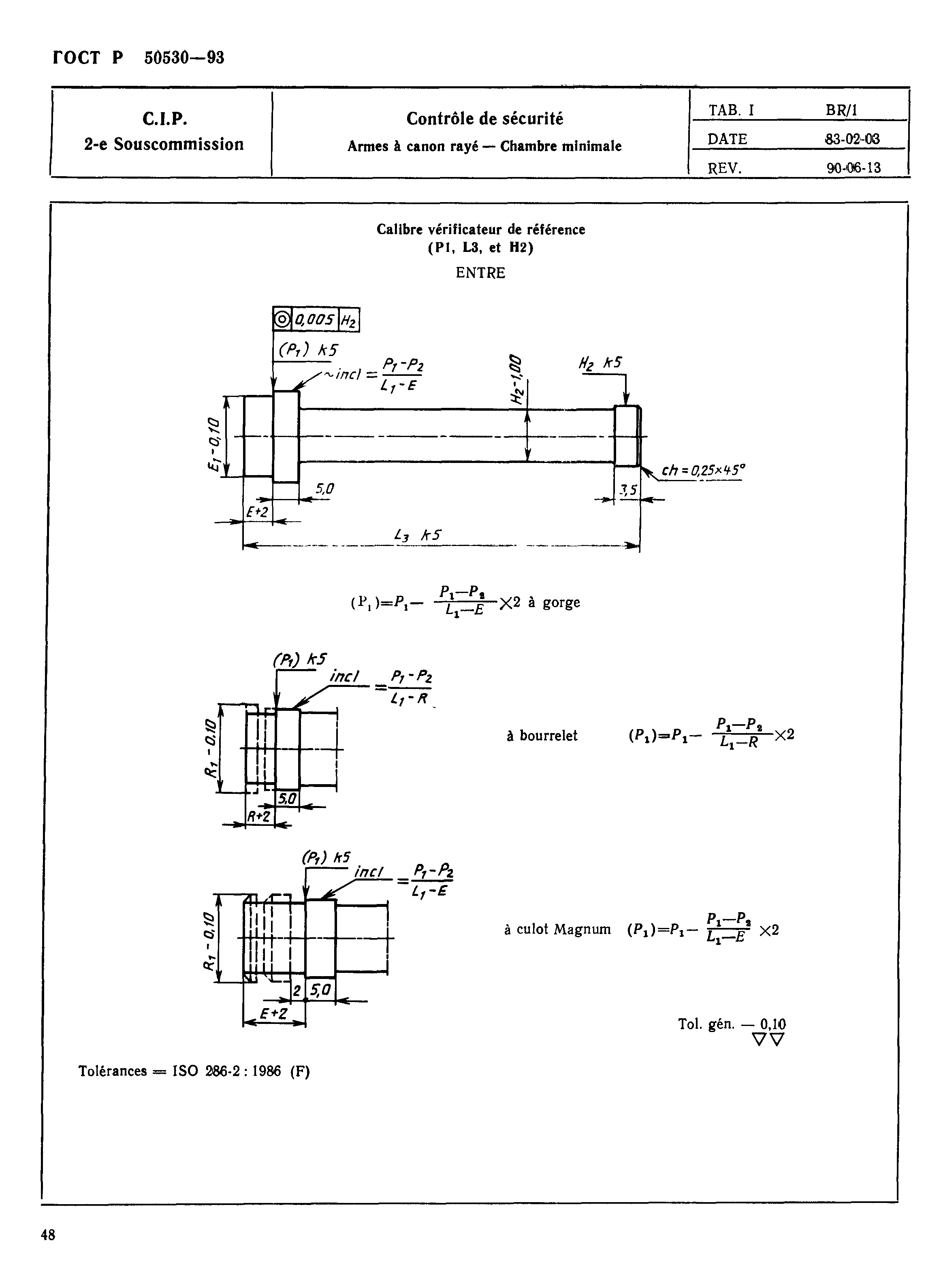
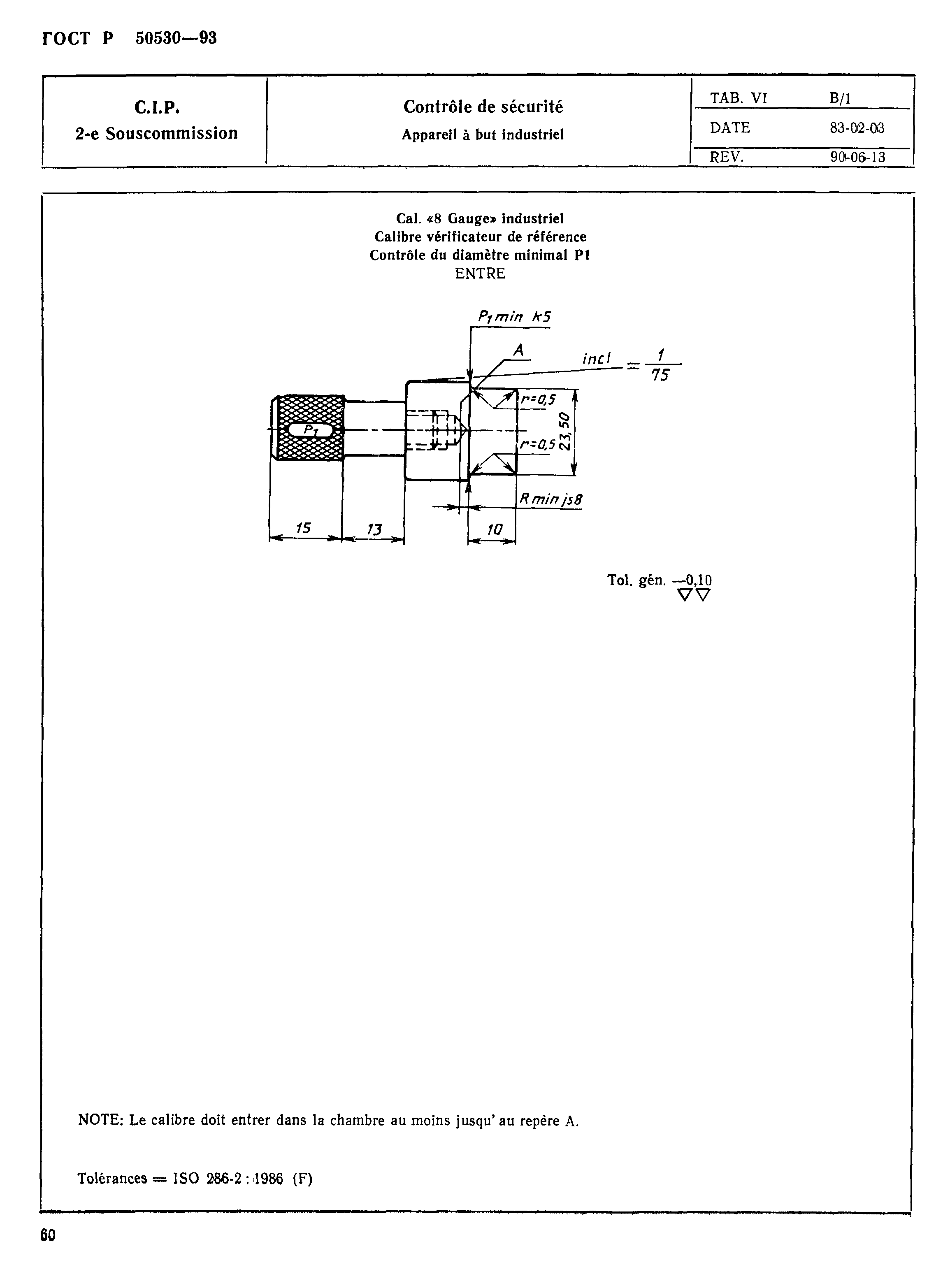
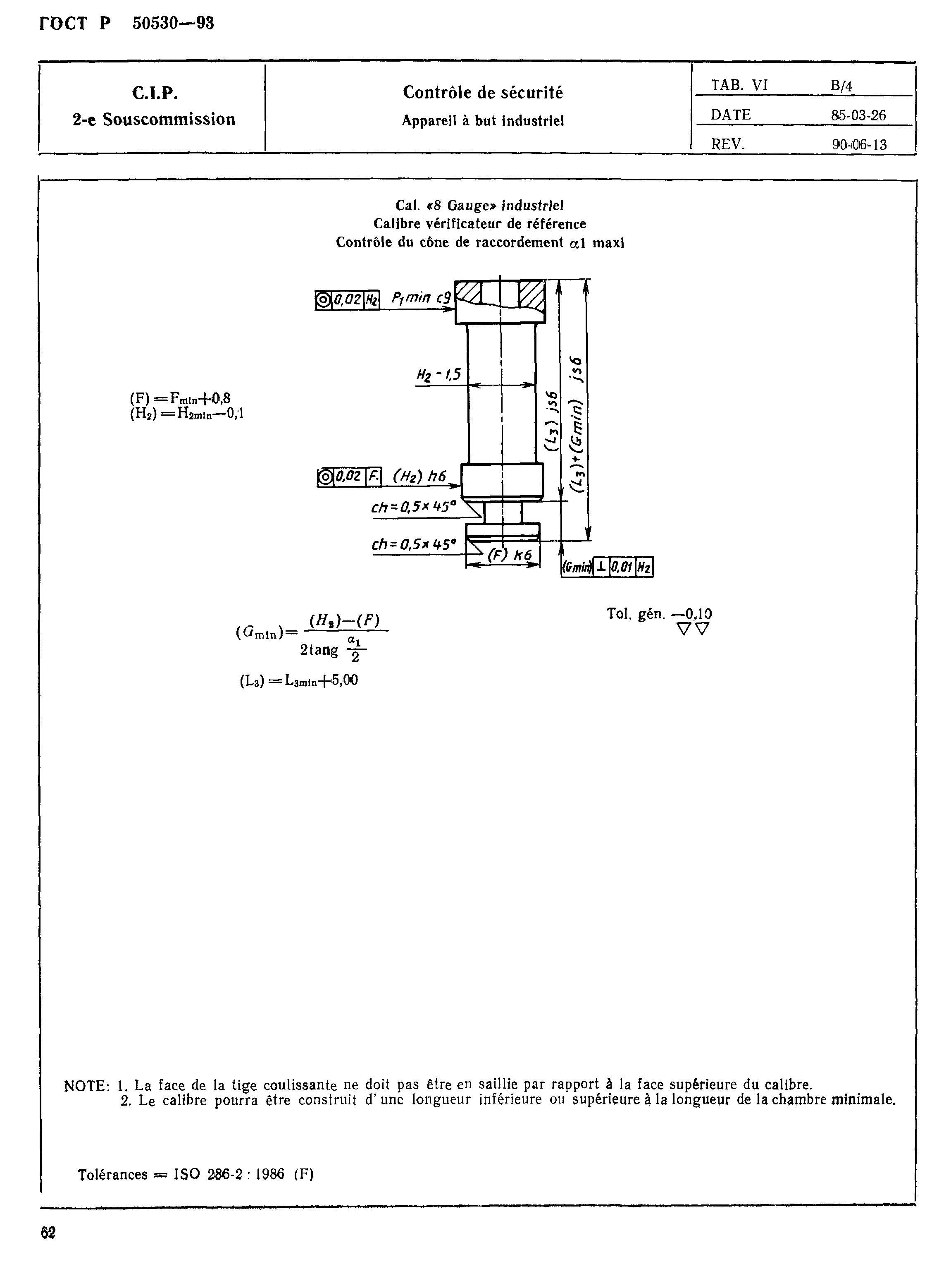
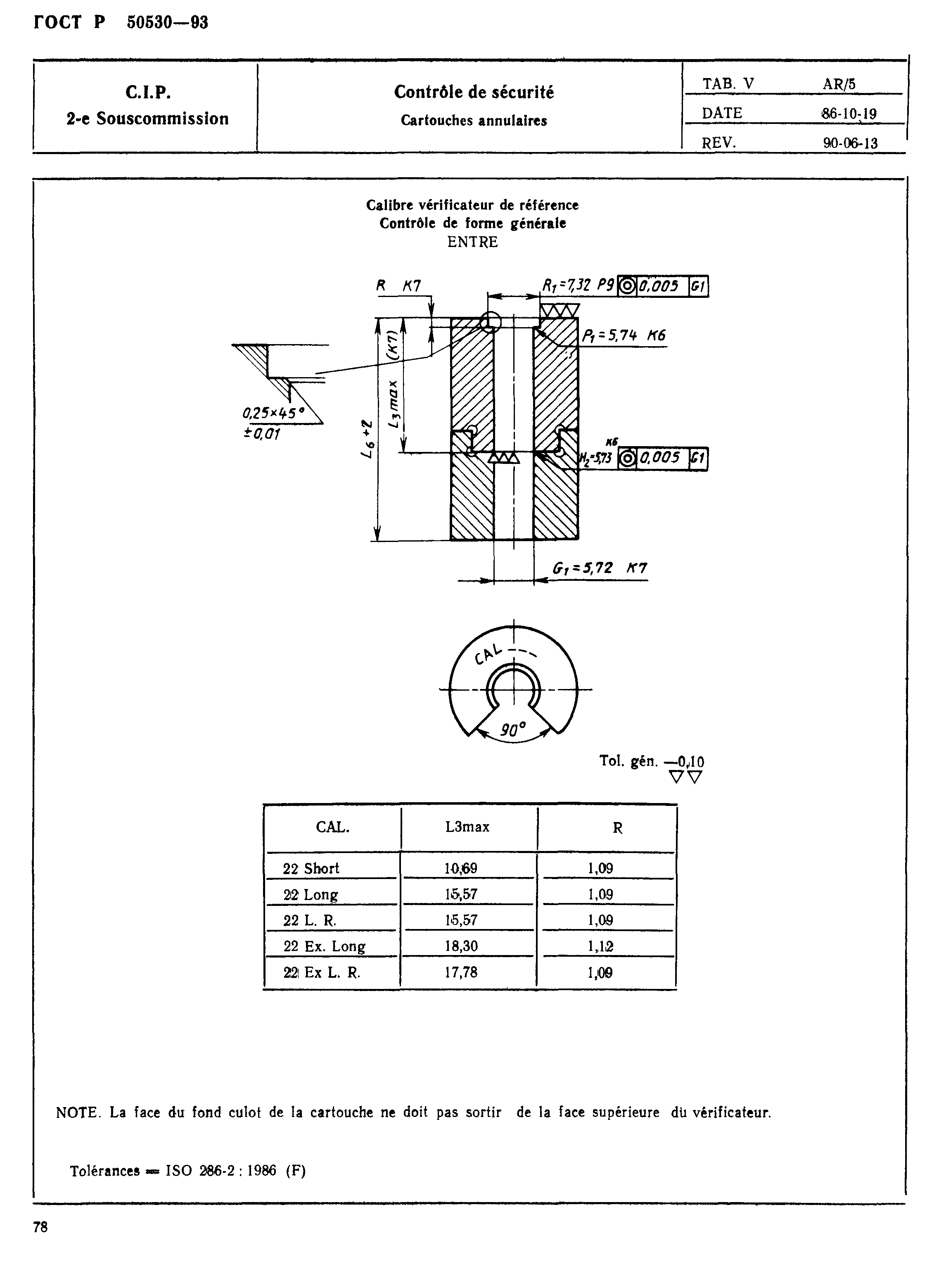
| Оглавление: | 1 Область применения 2 Виды контроля 3 Методы контроля 4 Оформление результатов контроля Приложение А Значение коэффициента допуска К в зависимости от числа измерений Приложение Б Таблицы ПМК. Рекомендации по выбору максимальных размеров патронов и минимальных размеров патронников для ручного огнестрельного оружия, охотничьего и спортивного оружия, устройств промышленного назначения |
| Разработан: | ТК 340 Спортивное и охотничье оружие |
| Утверждён: | 17.03.1993 Госстандарт России (Russian Federation Gosstandart 83) |
| Издан: | Издательство стандартов (1995 г. ) |
























































































