Скачать ГОСТ Р 50536-93 Основные нормы взаимозаменяемости. Шпонки клиновые низкие с головкой и без головки и шпоночные пазы. Размеры и допускиДата актуализации: 01.01.2021
|
| Обозначение: | ГОСТ Р 50536-93 |
| Обозначение англ: | GOST R 50536-93 |
| Статус: | введен впервые |
| Название рус.: | Основные нормы взаимозаменяемости. Шпонки клиновые низкие с головкой и без головки и шпоночные пазы. Размеры и допуски |
| Название англ.: | Basic requirements for interchangeability. Thin taper keys with and without gib head and their corresponding keyways. Dimensions and tolerances |
| Дата добавления в базу: | 01.09.2013 |
| Дата актуализации: | 01.01.2021 |
| Дата введения: | 01.01.1994 |
| Область применения: | Стандарт устанавливает размерные характеристики низких клиновых шпонок с головкой и без головки и соответствующих лысок или шпоночных пазов на валу и во втулке. Стандарт устанавливает требования к материалу, из которого изготавливают шпонки и указывает соотношение между диаметром вала и сечением шпонки. Стандарт применяют для цилиндрических концов валов, для специальных случаев как, например, установка их в тонкостенных деталях. Стандарт применяют и для других концов валов. |
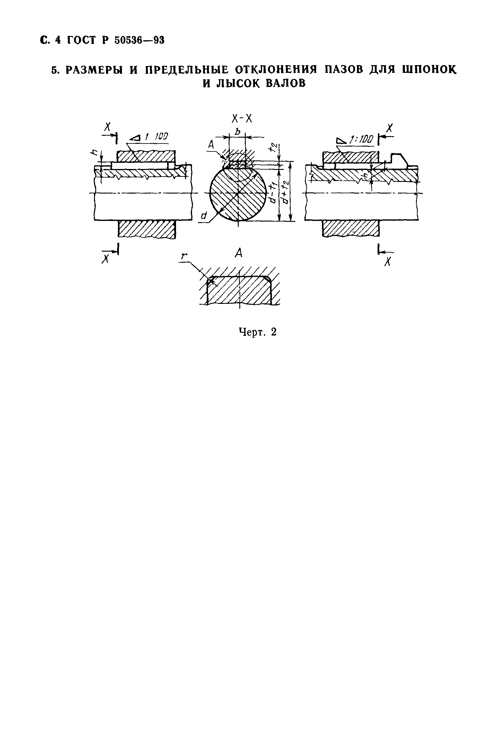
| Оглавление: | 1 Назначение 2 Область применения 3 Форма, размеры и предельные отклонения шпонок 4 Материал 5 Размеры и предельные отклонения пазов для шпонок и лысок валов Приложение 1 (обязательное) Дополнительные требования к шпонкам и лыскам (пазам), необходимые для потребностей народного хозяйства Приложение 2 (справочное) Теоретическая масса шпонок Приложение 3 (рекомендуемое) Зависимость параметров шероховатости поверхности от допусков размеров |
| Разработан: | ТК 258 Зубчатые передачи и конструктивные элементы деталей машин |
| Утверждён: | 25.03.1993 Госстандарт России (Russian Federation Gosstandart 91) |
| Издан: | Издательство стандартов (1993 г. ) |
| Нормативные ссылки: |
|














