Скачать ГОСТ Р 50548-93 Продукты гидролиза крахмала. Определение содержания воды. Модифицированный метод Карла ФишераДата актуализации: 01.01.2021
|
| Обозначение: | ГОСТ Р 50548-93 |
| Обозначение англ: | GOST R 50548-93 |
| Статус: | введен впервые |
| Название рус.: | Продукты гидролиза крахмала. Определение содержания воды. Модифицированный метод Карла Фишера |
| Название англ.: | Starch hydrolysis products. Determination of water content. Modified Karl Fischer method |
| Дата добавления в базу: | 01.09.2013 |
| Дата актуализации: | 01.01.2021 |
| Дата введения: | 01.01.1994 |
| Область применения: | Стандарт устанавливает метод определения содержания воды в продуктах гидролиза крахмала. |
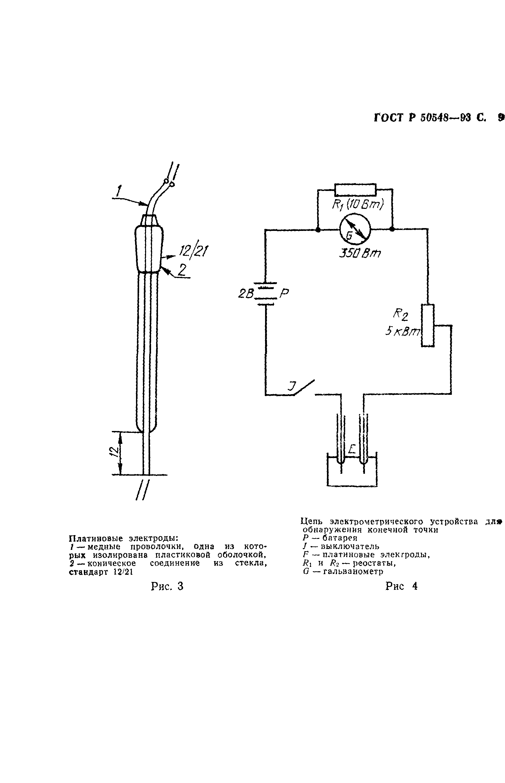
| Оглавление: | 1. Назначение и область применения 2. Сущность метода 3. Реакции 4. Реактивы 5. Оборудование 6. Подготовка и проведение анализа 7. Обработка результатов 8. Протокол анализа Приложение А (обязательное) Специальный шприц для добавления образцов в форме вязких жидкостей и метод его использования Приложение Б (обязательное) Схема аппарата Карла Фишера |
| Разработан: | ТК 250 Крахмал и крахмалопродукты |
| Утверждён: | 02.04.1993 Госстандарт России (Russian Federation Gosstandart 103) |
| Издан: | Издательство стандартов (1993 г. ) |
| Список изменений: |
|












Текстовое изменение Поправка от 01.11.1993