Скачать ГОСТ Р 50560-93 Фрезы, устанавливаемые на центрирующие оправки с конусом 7:24. Присоединительные размеры. Центрирующие оправкиДата актуализации: 01.01.2021
|
| Обозначение: | ГОСТ Р 50560-93 |
| Обозначение англ: | GOST R 50560-93 |
| Статус: | введен впервые |
| Название рус.: | Фрезы, устанавливаемые на центрирующие оправки с конусом 7:24. Присоединительные размеры. Центрирующие оправки |
| Название англ.: | Milling cutters mounted on centring arbors having a 7/24 taper. Fitting dimensions. Centring arbors |
| Дата добавления в базу: | 01.09.2013 |
| Дата актуализации: | 01.01.2021 |
| Дата введения: | 01.07.1994 |
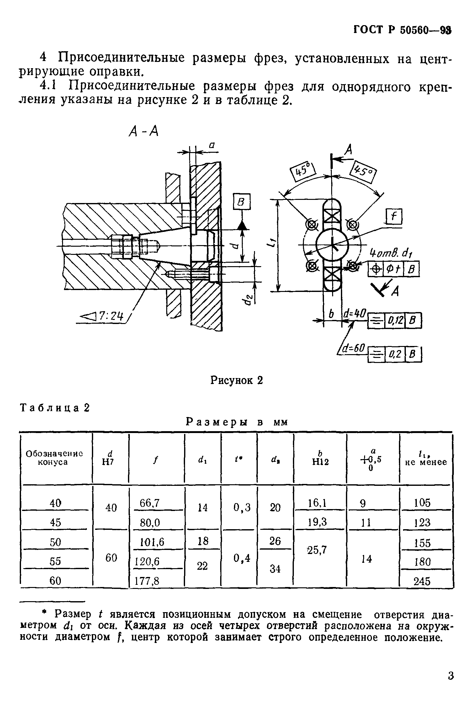
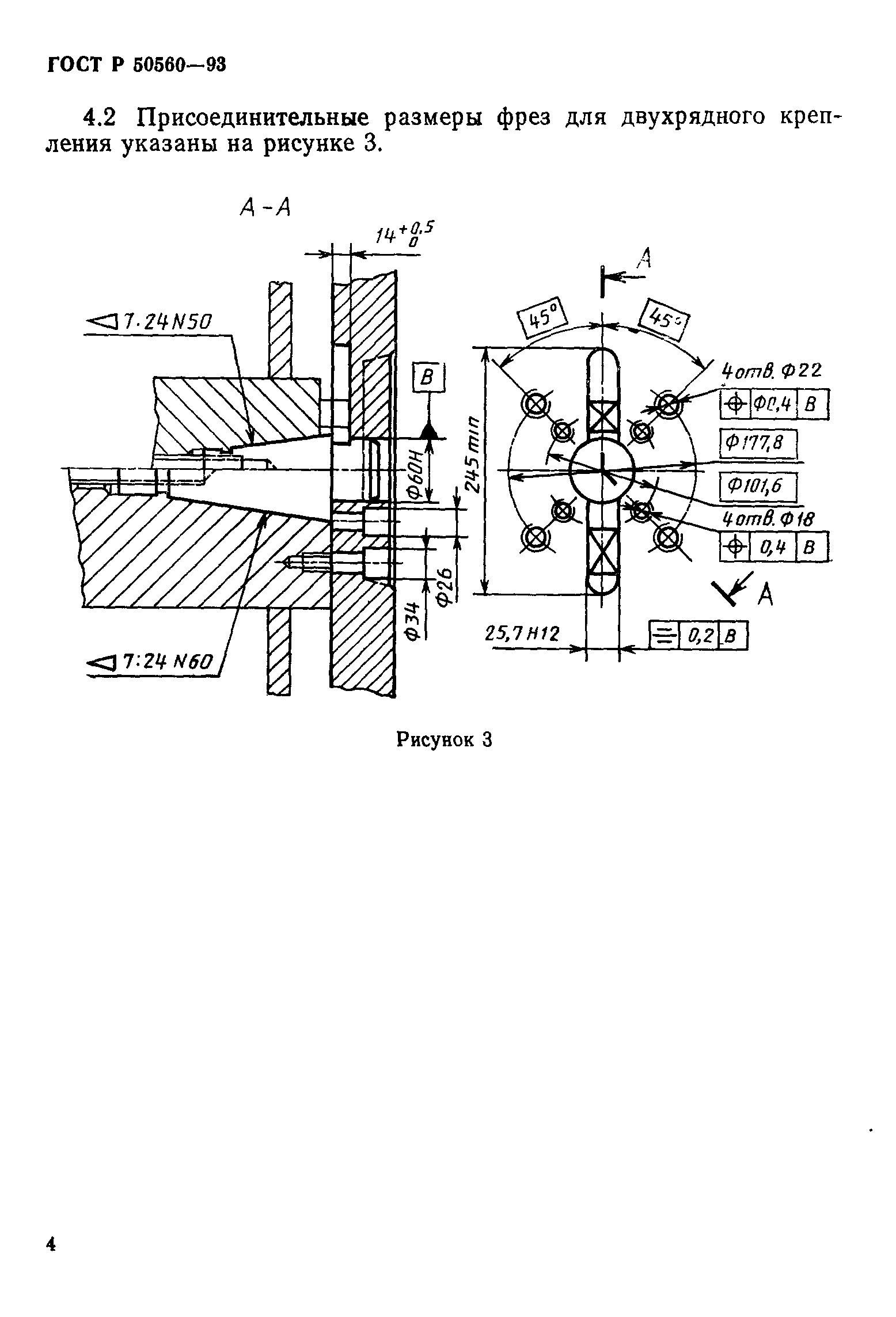
| Область применения: | Стандарт регламентирует присоединительные размеры фрез, устанавливаемых на центрирующих оправках, и размеры центрирующих оправок с конусом 7:24 для центрирования фрез на переднем конце шпинделя. Стандарт распространяется на фрезы со вставными ножами из быстрорежущей стали или с напайными пластинами и на фрезы со сменными твердосплавными пластинами. |
| Оглавление: | 1. Область применения 2. Нормативные ссылки 3. Размеры центрирующих оправок |
| Разработан: | ТК 95 Инструмент |
| Утверждён: | 21.04.1993 Госстандарт России (Russian Federation Gosstandart 116) |
| Издан: | Издательство стандартов (1993 г. ) |







