Скачать ГОСТ Р 51027-97 Сеть связи цифровая с интеграцией служб. Общие требования к системе общеканальной сигнализацииДата актуализации: 01.01.2021
|
| Обозначение: | ГОСТ Р 51027-97 |
| Обозначение англ: | GOST R 51027-97 |
| Статус: | введен впервые |
| Название рус.: | Сеть связи цифровая с интеграцией служб. Общие требования к системе общеканальной сигнализации |
| Название англ.: | Integrated services digital network. Common channel signalling. General technical requirements |
| Дата добавления в базу: | 01.09.2013 |
| Дата актуализации: | 01.01.2021 |
| Дата введения: | 01.01.1998 |
| Область применения: | Стандарт распространяется на систему общеканальной сигнализации (ОКС) в применении к цифровым сетям связи с интеграцией служб (ЦСИС) со связанным или квазисвязанным режимами сигнализации. Стандарт устанавливает общие требования ко всем четырем уровням системы ОКС. |
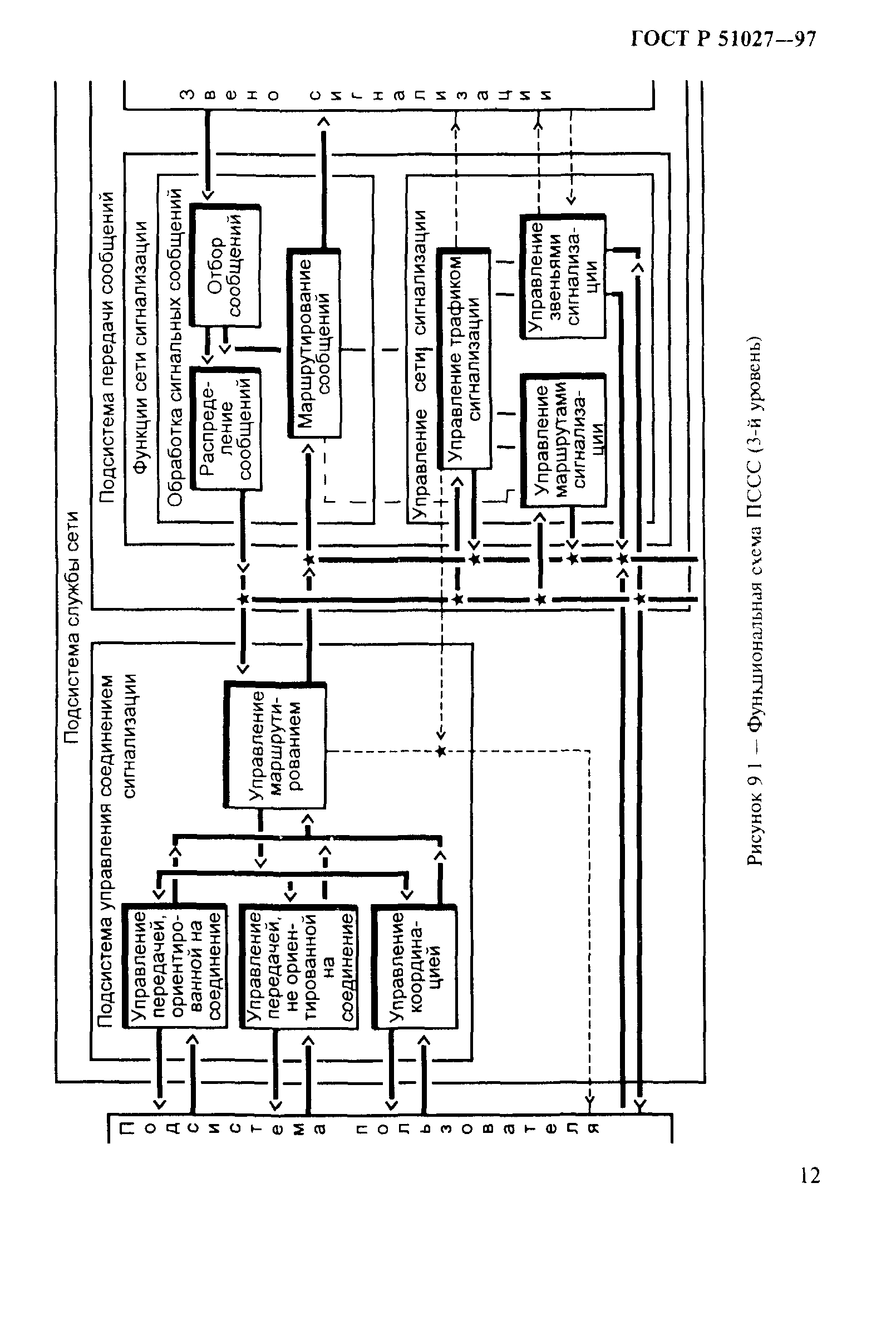
| Оглавление: | 1 Область применения 2 Нормативные ссылки 3 Определения 4 Обозначения и сокращения 5 Требования к структуре системы сигнализации 6 Требования к структуре сети сигнализации 7 Требования к звену данных сигнализации 8 Требования к звену сигнализации 8.1 Функции звена сигнализации 8.2 Формат сигнальной единицы 8.3 Процедуры звена сигнализации 9 Требования к подсистеме службы сети 9.1 Функции подсистемы службы сети 9.2 Функции обработки сигнальных сообщений 9.3 Функции подсистемы управления соединением сигнализации 9.4 Функции управления сетью сигнализации 9.5 Форматы сообщений уровня 3 подсистемы службы сети 9.6 Процедуры уровня 3 подсистемы службы сети 10 Требования к подсистеме пользователя ЦСИС 10.1 Функции подсистемы пользователя 10.2 Формат сообщений подсистемы пользователя 10.3 Процедуры сигнализации |
| Разработан: | НПК Интердата |
| Утверждён: | 06.02.1997 Госстандарт России (Russian Federation Gosstandart 39) |
| Издан: | ИПК Издательство стандартов (1997 г. ) |
| Нормативные ссылки: |































