Скачать ГОСТ Р 51267-99 Спички. Метод определения чувствительности к воспламенениюДата актуализации: 01.01.2021
|
| Обозначение: | ГОСТ Р 51267-99 |
| Обозначение англ: | GOST R 51267-99 |
| Статус: | отменен |
| Название рус.: | Спички. Метод определения чувствительности к воспламенению |
| Название англ.: | Matches. Method of testing matches sensibility for ignition |
| Дата добавления в базу: | 01.09.2013 |
| Дата актуализации: | 01.01.2021 |
| Дата введения: | 01.01.2000 |
| Дата окончания срока действия: | 01.07.2015 |
| Область применения: | Стандарт распространяется на спички и устанавливает метод определения их чувствительности к воспламенению. Положения стандарта подлежат применению расположенными на территории Российской федерации предприятиями, вытпускающими спички, независимо от форм собственности и подчинения. |
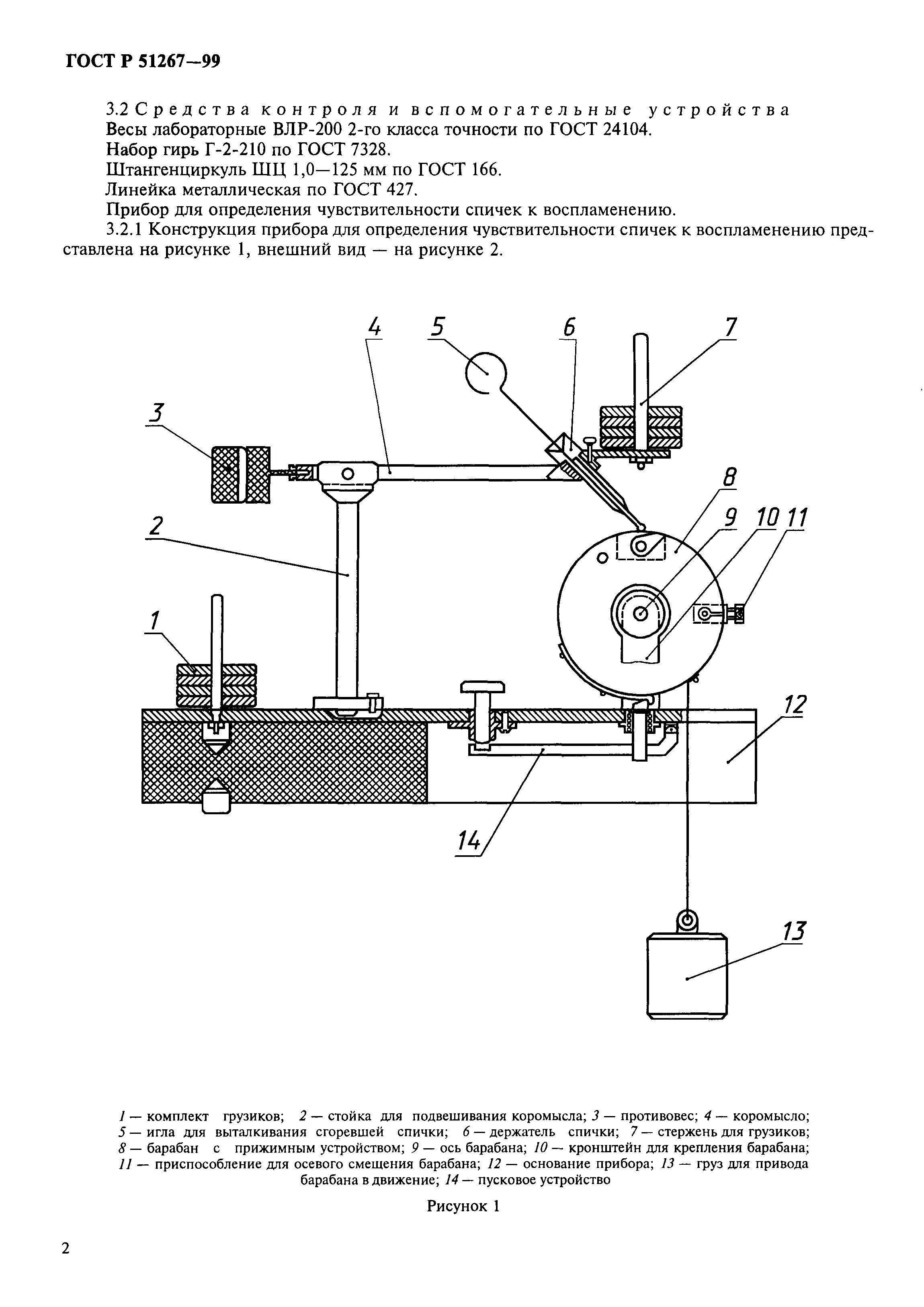
| Оглавление: | 1 Область применения 2 Нормативные ссылки 3 Требования |
| Разработан: | ТК 204 Спички и общетехнические требования к деревообработке |
| Утверждён: | 20.04.1999 Госстандарт России (Russian Federation Gosstandart 130) |
| Издан: | ИПК Издательство стандартов (1999 г. ) |
| Нормативные ссылки: |
|







