Скачать ГОСТ Р 51527-99 Совместимость технических средств электромагнитная. Стабилизированные источники питания постоянного тока. Кондуктивные электромагнитные помехи. Нормы и методы испытанийДата актуализации: 01.01.2021
|
| Обозначение: | ГОСТ Р 51527-99 |
| Обозначение англ: | GOST R 51527-99 |
| Статус: | заменен |
| Название рус.: | Совместимость технических средств электромагнитная. Стабилизированные источники питания постоянного тока. Кондуктивные электромагнитные помехи. Нормы и методы испытаний |
| Название англ.: | Electromagnetic compatibility of technical equipment. Stabilized power supplies, d. c. output. Conducted electromagnetic interference. Limits and test methods |
| Дата добавления в базу: | 01.09.2013 |
| Дата актуализации: | 01.01.2021 |
| Дата введения: | 01.01.2001 |
| Дата окончания срока действия: | 01.01.2010 |
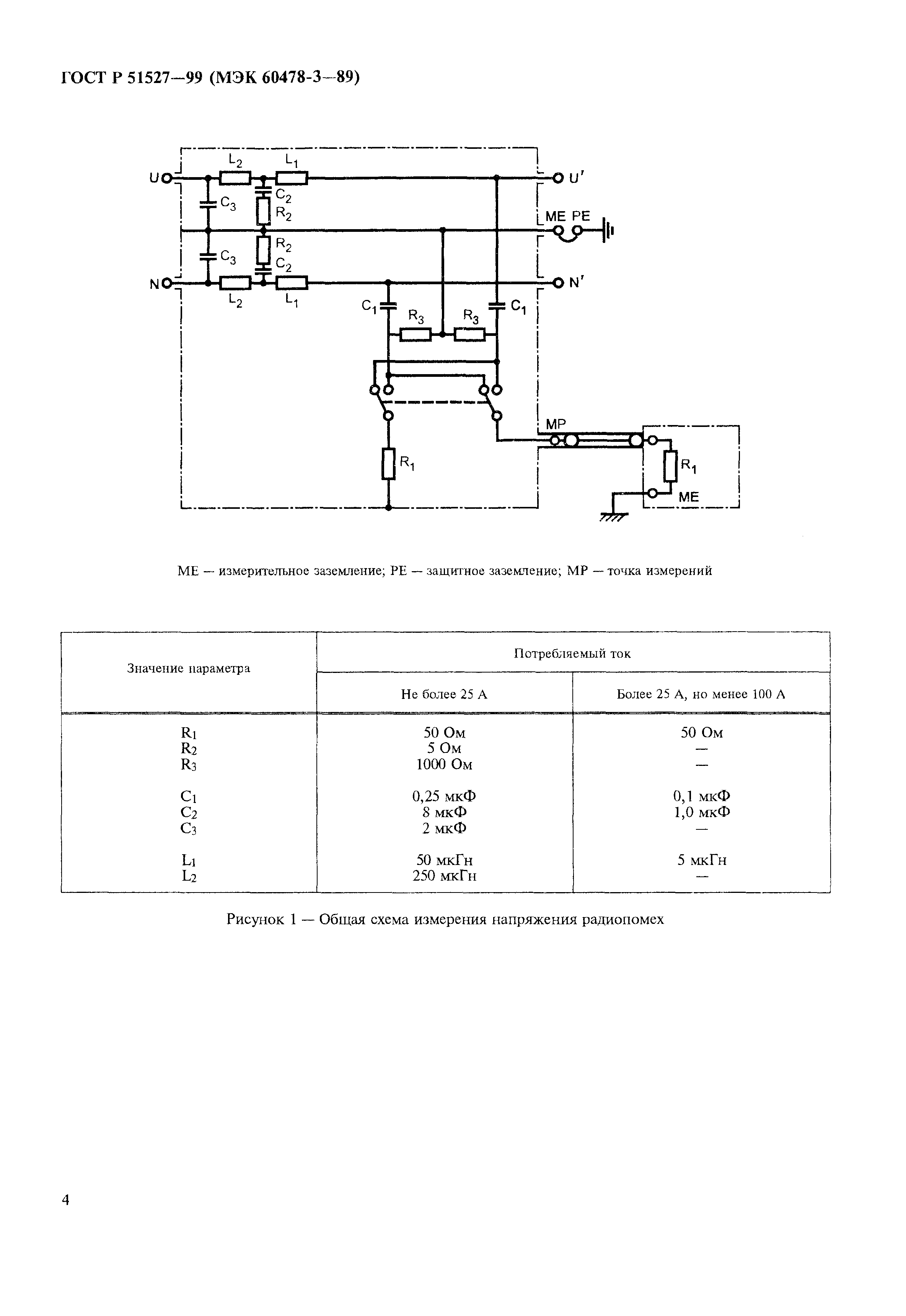
| Область применения: | Стандарт распространяется на стабилизированные источники питания постоянного тока и особенно импульсные источники питания. Стандарт применяется для устройств, предназначенных для использования в электротехнических, электронных и радиоэлектронных изделиях, аппаратуре и оборудовании, подключаемых к низковольтным электрическим сетям переменного тока, для обеспечения их электропитанием постоянным током. Стандарт устанавливает методы испытаний устройств и требования к средствам измерений кондуктивных электромагнитных помех, создаваемых устройствами, а также нормы индустриальных радиопомех на входных и выходных зажимах устройств. Нормы радиопомех на входных зажимах устройств, установленные стандартом, позволяют оценить степень совместимости устройств с конечным проектируемым оборудованием и его соответствие требованием стандартов. Нормы кондуктивных радиопомех на выходных зажимах позволяют сравнить эффективность устройств различных типов. Требования к излучаемым радиопомехам в стандарте не установлены. Стандарт распространяется на устройства с потребляемым током не более 25 А. |
| Оглавление: | 1 Область применения 2 Нормативные ссылки 3 Устройства с потребляемым током не более 25 А 4 Устройства с потребляемым током более 25 А, но менее 100 А |
| Разработан: | ТК 30 Электромагнитная совместимость технических средств |
| Утверждён: | 28.12.1999 Госстандарт России (Russian Federation Gosstandart 791-ст) |
| Издан: | ИПК Издательство стандартов (2000 г. ) |
| Нормативные ссылки: |
|







