Скачать ГОСТ Р ИСО 6959-96 Ботинки для спортивно-беговых лыж с тремя отверстиями для штырей. Размеры, поверхности соприкосновения и конструкцияДата актуализации: 01.01.2021
|
| Обозначение: | ГОСТ Р ИСО 6959-96 |
| Обозначение англ: | GOST R ISO 6959-96 |
| Статус: | введен впервые |
| Название рус.: | Ботинки для спортивно-беговых лыж с тремя отверстиями для штырей. Размеры, поверхности соприкосновения и конструкция |
| Название англ.: | Cross-country ski boots with three pin holes. Demensions, interface and design |
| Дата добавления в базу: | 01.09.2013 |
| Дата актуализации: | 01.01.2021 |
| Дата введения: | 01.07.1996 |
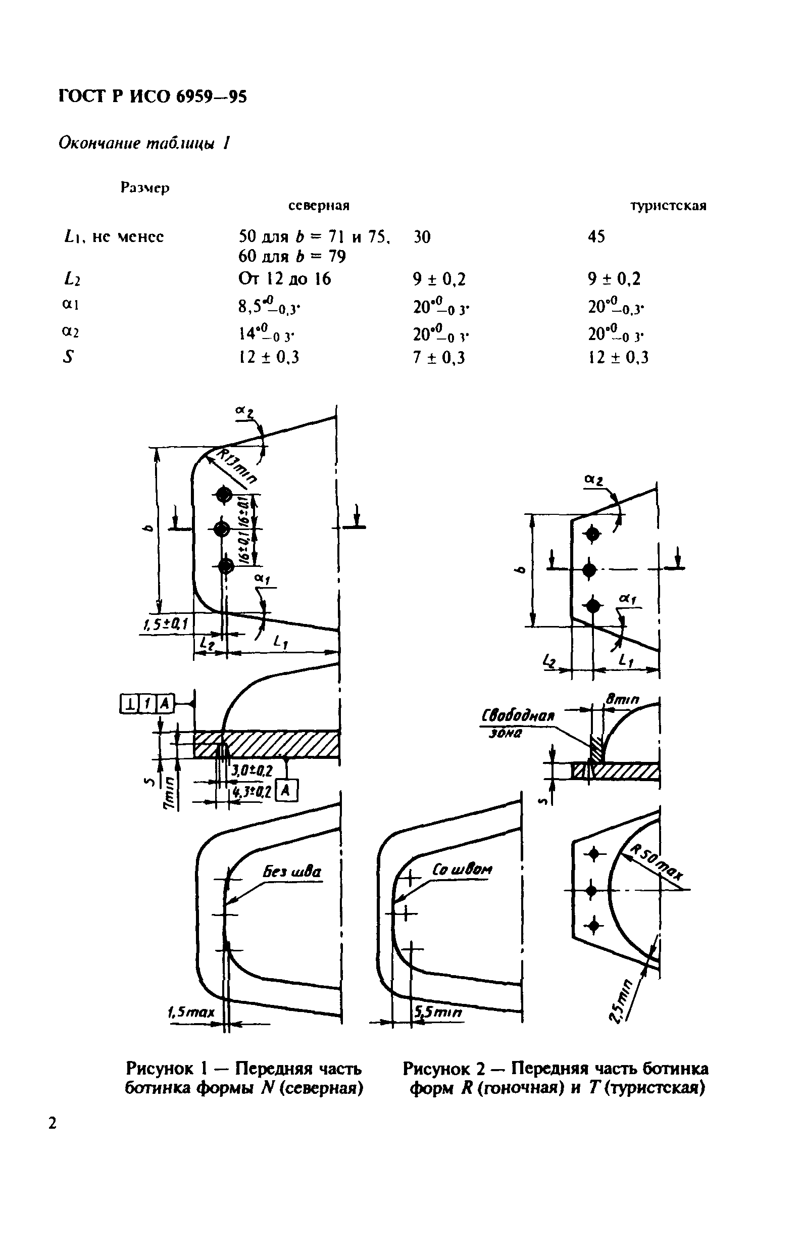
| Оглавление: | Введение 1 Область применения 2 Размеры 3 Конструкция 4 Маркировка |
| Разработан: | ВИСТИ |
| Утверждён: | 28.03.1996 Госстандарт России (Russian Federation Gosstandart 225) |
| Издан: | ИПК Издательство стандартов (1996 г. ) |






