Скачать РД 34.35.303-66 Инструкция по проверке правильности включения реле направления мощностиДата актуализации: 01.01.2021
|
| Обозначение: | РД 34.35.303-66 |
| Обозначение англ: | RD 34.35.303-66 |
| Статус: | действует |
| Название рус.: | Инструкция по проверке правильности включения реле направления мощности |
| Название англ.: | Guidelines for Verifying Correct Connection of Voltage Relays |
| Дата добавления в базу: | 01.01.2019 |
| Дата актуализации: | 01.01.2021 |
| Область применения: | В инструкции рассмотрены способы проверки реле направления мощности, включенных на полные токи и напряжения в схемах направленных токовых и поперечных дифференциальных защит, реле направления мощности, включенных на ток и напряжение нулевой и обратной последовательности, и реле направления мощности нулевой последовательности с токовой поляризацией |
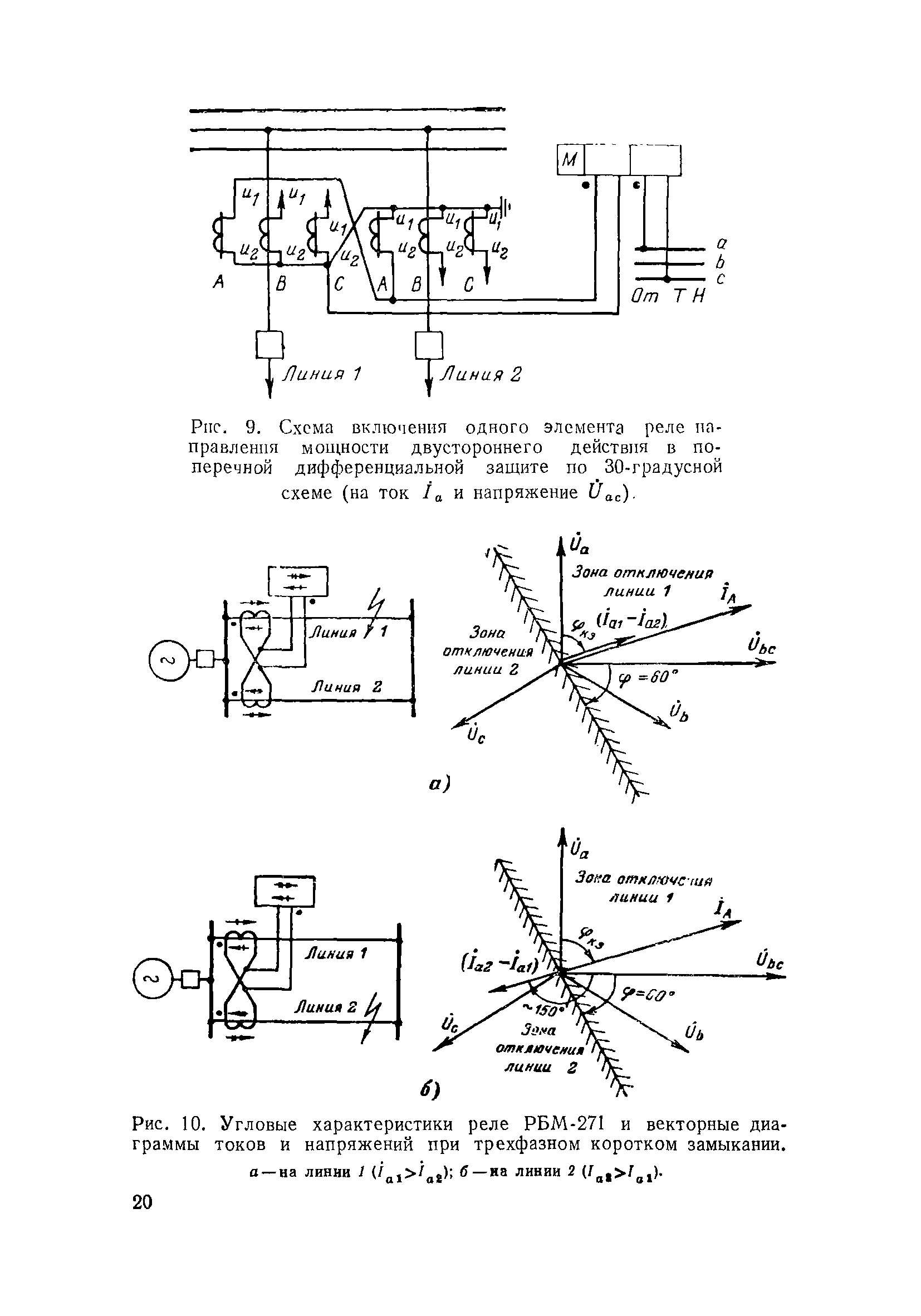
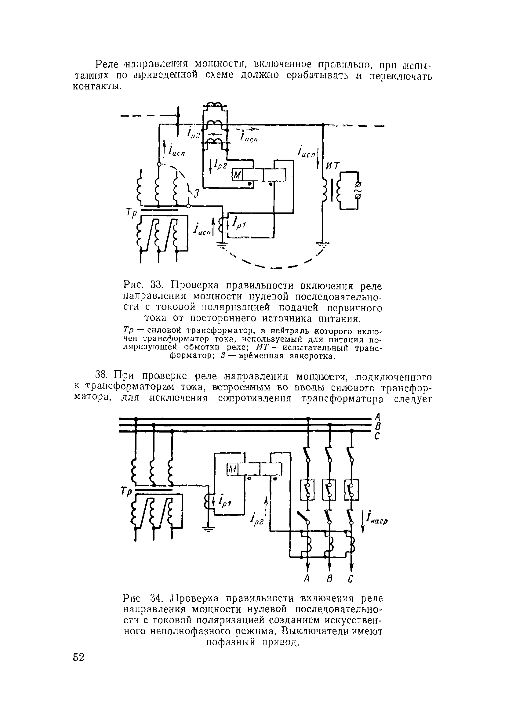
| Оглавление: | Предисловие Раздел первый. Общие сведения 1 Общие требования к проверке реле 2 Угловые характеристики реле направления мощности 3 Схемы включения реле направления мощности Раздел второй. Проверка реле направления мощности защиты от междуфазных коротких замыканий 1 Последовательность проверки 2 Проверка цепей напряжения 3 Снятие векторной диаграммы, проверка токовых цепей 4 Имитация аварийных условий и наблюдение за действием реле 5 Построение линии изменения знака вращающего момента и определение зоны работы и зоны заклинивания 6 Анализ правильности включения реле 7 Устранение ошибок, выявленных при проверке 8 Особенности проверки трёхфазного реле направления мощности 9 Особенности проверки реле в схемах автоматики, действующей при повышении напряжения Раздел третий. Проверка реле направления мощности нулевой последовательности защиты от замыканий на землю 1 Последовательность проверки 2 Проверка цепей напряжения, снятие векторной диаграммы токов и проверка токовых цепей 3 Имитация аварийных условий и наблюдение за действием реле 4 Проверка правильности подключения дополнительного вывода для испытания защиты 5 Построение линии изменения знака вращающего момента и определение зоны работы и зоны заклинивания 6 Анализ правильности включения реле 7 Устранение ошибок, выявленных при проверке 8 Особенности проверки реле направления мощности нулевой последовательности в схемах защит трансформаторов и автотрансформаторов от замыканий на землю 9 Особенности проверки реле направления мощности нулевой последовательности с токовой поляризацией Раздел четвертый. Проверка реле направления мощности в схеме направленной поперечной дифференциальной защиты линии 1 Общие положения 2 Проверка цепей напряжения, снятие векторной диаграммы токов и проверка токовых цепей 3 Имитация аварийных условий и наблюдение за действием реле 4 Построение линии изменения знака вращающего момента и определение зоны работы реле 5 Анализ правильности включения реле 6 Устранение ошибок, выявленных при проверке реле Раздел пятый. Проверка реле направления мощности обратной последовательности 1 Общие положения 2 Имитация аварийных условий и наблюдение за действием реле 3 Построение линии изменения знака вращающего момента и определение зоны работы в зоны заклинивания 4 Анализ правильности включения реле |
| Разработан: | ОРГРЭС |
| Утверждён: | Главтехуправление Минэнерго СССР (Glavtekhupravleniye, USSR Minenergo ) |
| Издан: | Издательство Энергия (1966 г. ) |
































































