Скачать РД 34.27.503-92 Типовая инструкция по эксплуатации мокрых золоуловителейДата актуализации: 01.01.2021
|
| Обозначение: | РД 34.27.503-92 |
| Обозначение англ: | RD 34.27.503-92 |
| Статус: | действует |
| Название рус.: | Типовая инструкция по эксплуатации мокрых золоуловителей |
| Название англ.: | Model Guidelines for Operation of Fly-Ash Arresters |
| Дата добавления в базу: | 01.09.2013 |
| Дата актуализации: | 01.01.2021 |
| Дата введения: | 01.04.1994 |
| Область применения: | Предназначена для персонала, занимающегося эксплуатацией и ремонтом вышеназванных МЗУ. |
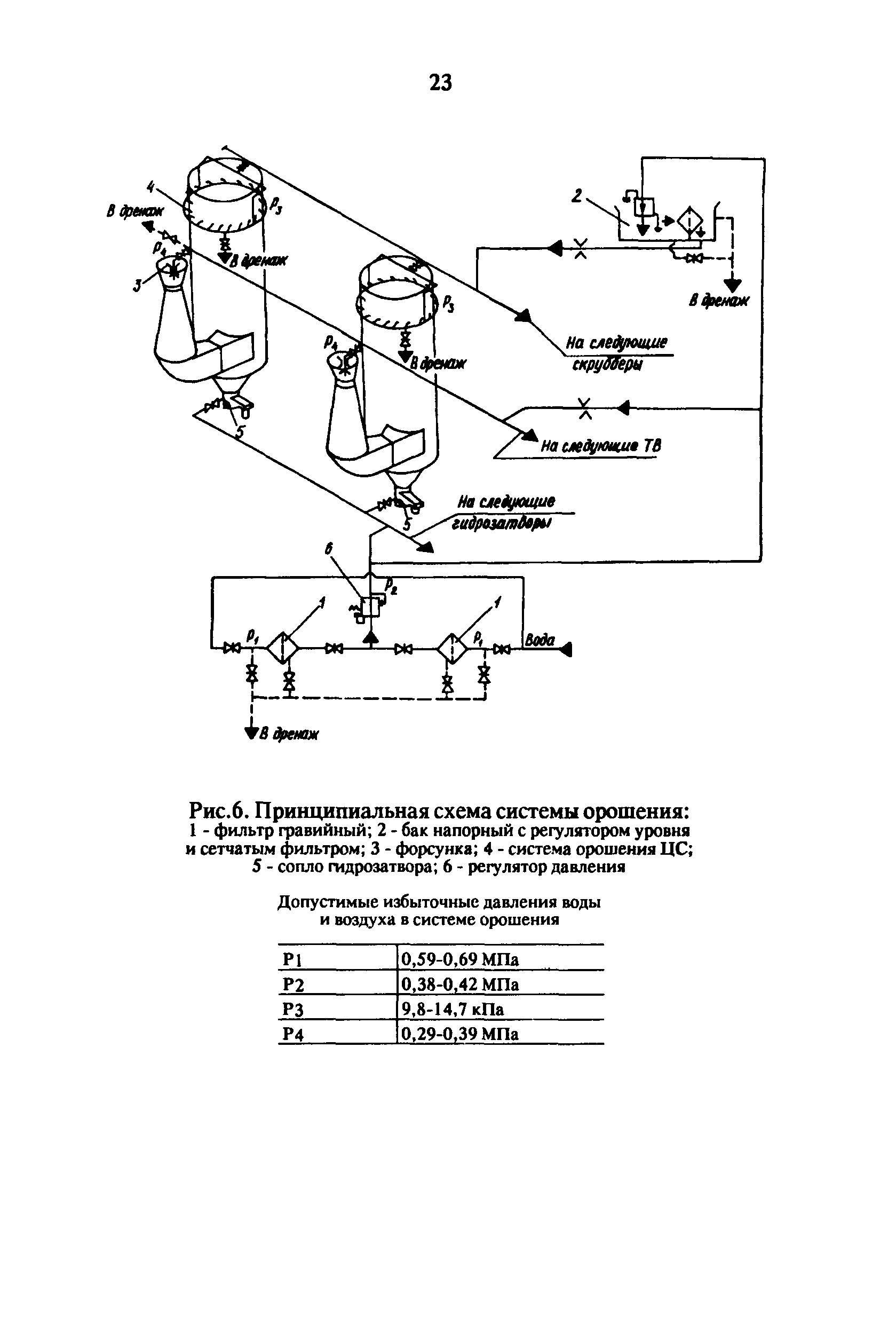
| Оглавление: | 1 Общие указания 2 Пуск установки 3 Контроль за работой и состоянием установки 4 Останов установки 5 Техническое обслуживание 6 Меры безопасности 7 Характерные неисправности и методы их устранения Приложение Техническое описание мокрых золоулавливающих установок |
| Разработан: | Уралтехэнерго |
| Утверждён: | 14.04.1992 Минтопэнерго РФ (Russian Federation Mintopenergo ) |
| Издан: | СПО ОРГРЭС (1994 г. ) |
| Заменяет собой: |
|
| Нормативные ссылки: |




























