Скачать РД 34.27.508-89 Типовая инструкция по эксплуатации систем внутреннего пневмозолоудаления аэрожелобамиДата актуализации: 01.01.2021
|
| Обозначение: | РД 34.27.508-89 |
| Обозначение англ: | RD 34.27.508-89 |
| Статус: | действует |
| Название рус.: | Типовая инструкция по эксплуатации систем внутреннего пневмозолоудаления аэрожелобами |
| Название англ.: | Model Guidelines for Operation of Internal Pneumatic Ash Collection Systems |
| Дата добавления в базу: | 01.09.2013 |
| Дата актуализации: | 01.01.2021 |
| Дата введения: | 01.01.1990 |
| Область применения: | Предназначена для инженерно-технического персонала электростанций, в функции которого входит организация эксплуатации, наладки и ремонта оборудования ПЗУА. |
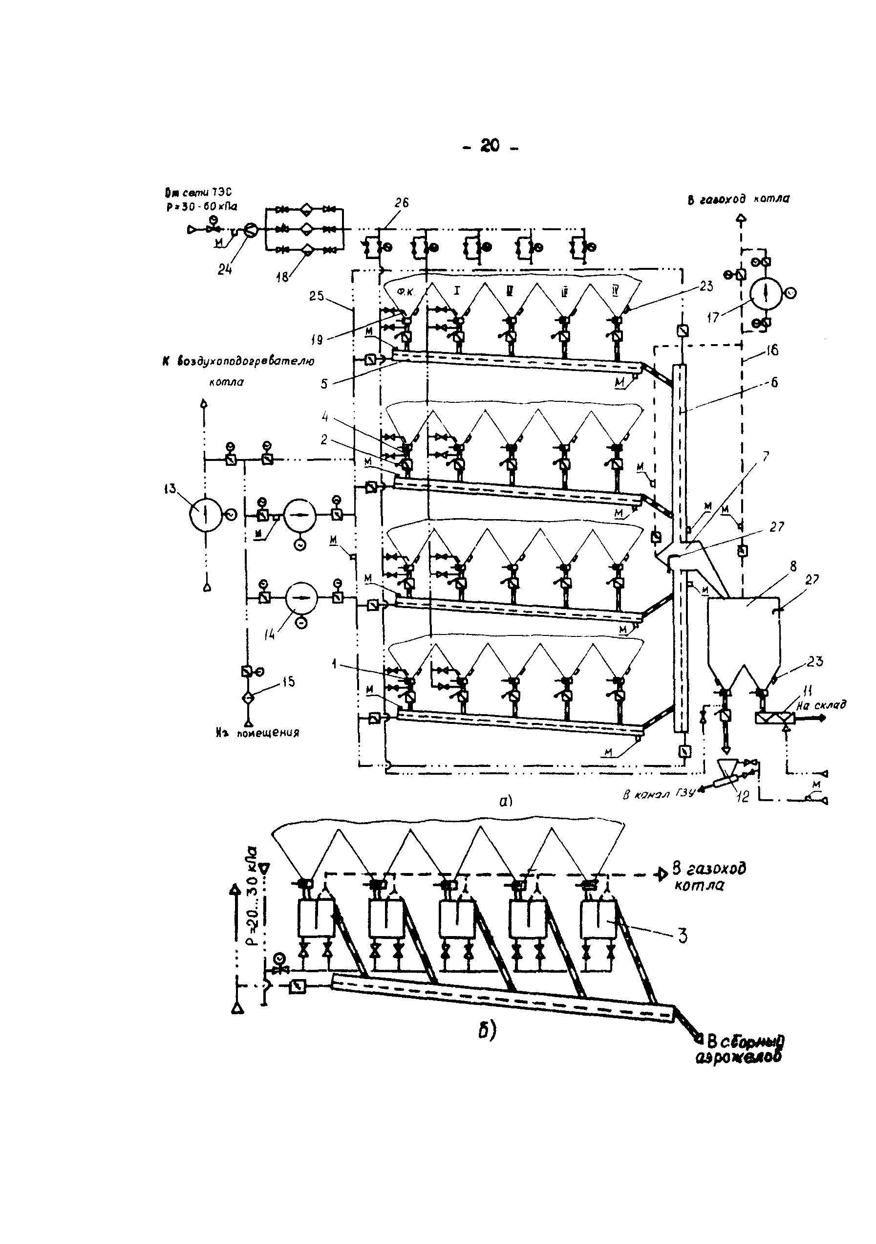
| Оглавление: | 1 Общие указания 2 Указания мер безопасности 3 Пуск и останов системы ПЗУА 4 Обслуживыание системы ПЗУА 5 Характерные неиспраности и методы их устранения 6 Действия персонала в аварийных ситуациях Приложение 1 Состав и работа системы внутреннего пневмозолоудаления аэрожелобами Приложение 2 Режимная карта системы ПЗУА |
| Разработан: | Уралтехэнерго |
| Утверждён: | 26.12.1989 Минэнерго СССР (USSR Minenergo ) |
| Издан: | СПО ОРГРЭС (1991 г. ) |



























