Скачать РД 34.26.513 Руководящие указания по переводу котлов работающих на сернистых топливах в режим сжигания с предельно малыми избытками воздухаДата актуализации: 01.01.2021
|
| Обозначение: | РД 34.26.513 |
| Обозначение англ: | RD 34.26.513 |
| Статус: | действует |
| Название рус.: | Руководящие указания по переводу котлов работающих на сернистых топливах в режим сжигания с предельно малыми избытками воздуха |
| Название англ.: | Guidelines for Switching Boilers Operating on Sulfurous Fuels in Combustion Mode with Minimum Excess Air |
| Дата добавления в базу: | 01.09.2013 |
| Дата актуализации: | 01.01.2021 |
| Область применения: | В руководящих указаниях приводятся основные положения и указания по переводу котлов в режим сжигания сернистого топлива с предельно малыми избытками воздуха. |
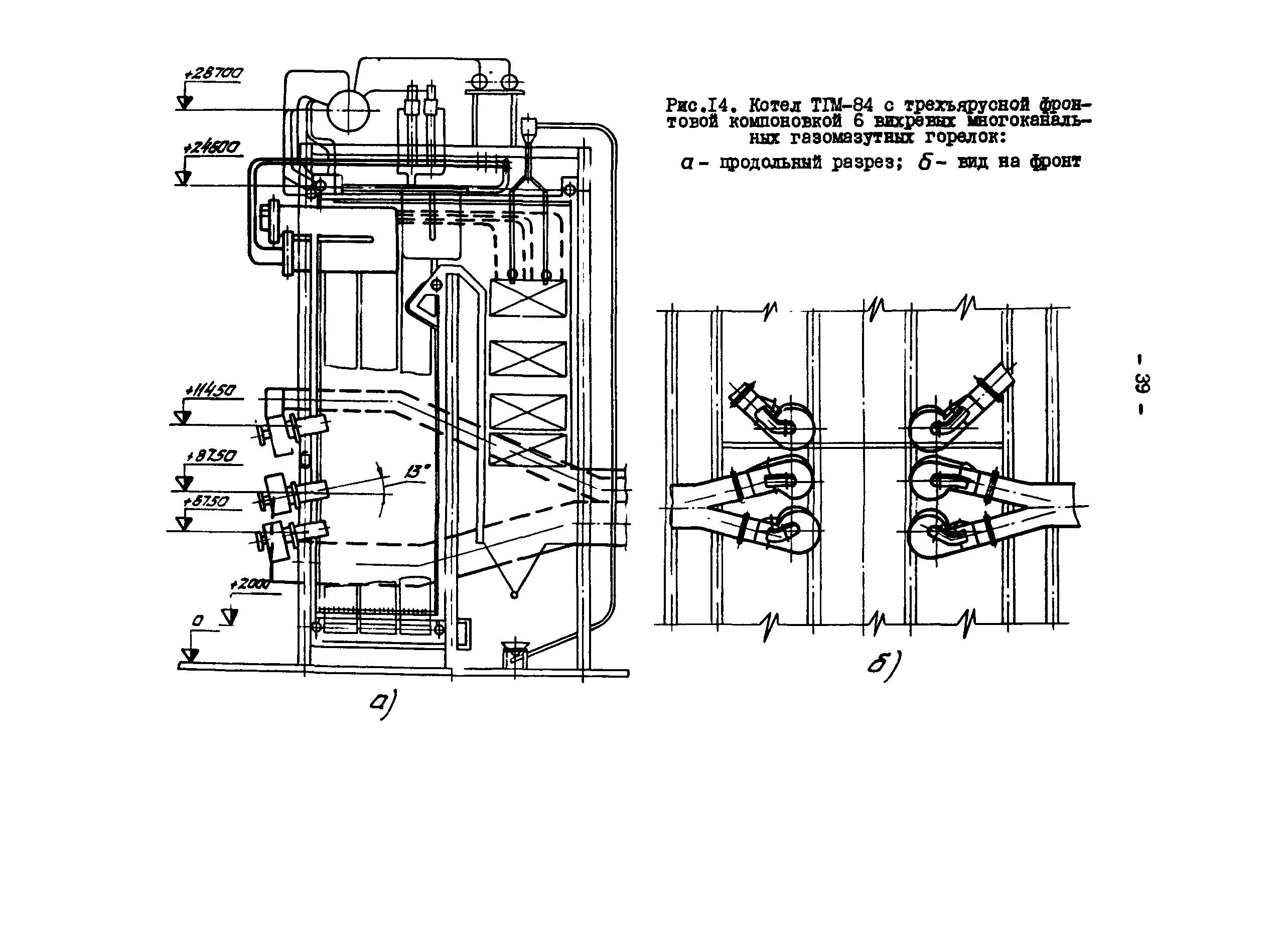
| Оглавление: | Введение 1 Общие положения 2 Топливо и его подготовка 3 Требования к топочно-горелочным устройствам 4 Измерительные приборы и аппаратура для контроля и автоматического регулирования 5 Автоматика процесса горения 6 Очистка поверхностей нагрева 7 Противопожарные мероприятия 8 Наладка и ведение режима с предельно малыми избытками воздуха 9 Подготовка персонала 10 Необходимый объем реконструкции котлов различных марок |
| Разработан: | ПО Союзтехэнерго |
| Утверждён: | 04.12.1979 Главтехуправление Минэнерго СССР (Glavtekhupravleniye, USSR Minenergo ) |
| Издан: | СПО Союзтехэнерго (1980 г. ) |
| Нормативные ссылки: |
















































