Скачать РД 34.22.503-89 Методические указания по стабилизационной обработке охлаждающей воды в оборотных системах охлаждения с градирнями оксиэтилиндендифосфоновой кислотойДата актуализации: 01.01.2021
|
| Обозначение: | РД 34.22.503-89 |
| Обозначение англ: | RD 34.22.503-89 |
| Статус: | действует |
| Название рус.: | Методические указания по стабилизационной обработке охлаждающей воды в оборотных системах охлаждения с градирнями оксиэтилиндендифосфоновой кислотой |
| Название англ.: | Procedural Guidelines for Stabilization of Water Treatment in Recycled Cooling System with Cooling Towers Using Oxydiethylenediphenylphosphoric Acid |
| Дата добавления в базу: | 21.05.2015 |
| Дата актуализации: | 01.01.2021 |
| Дата введения: | 01.07.1989 |
| Область применения: | Методические указания устанавливают порядок проведения работ по применению оксиэтилиндендифосфоновой кислоты для обработки охлаждающей воды в оборотных системах охлаждения на тепловых электростанциях. Методические указания предназначены для эксплуатационного и наладочного персонала. |
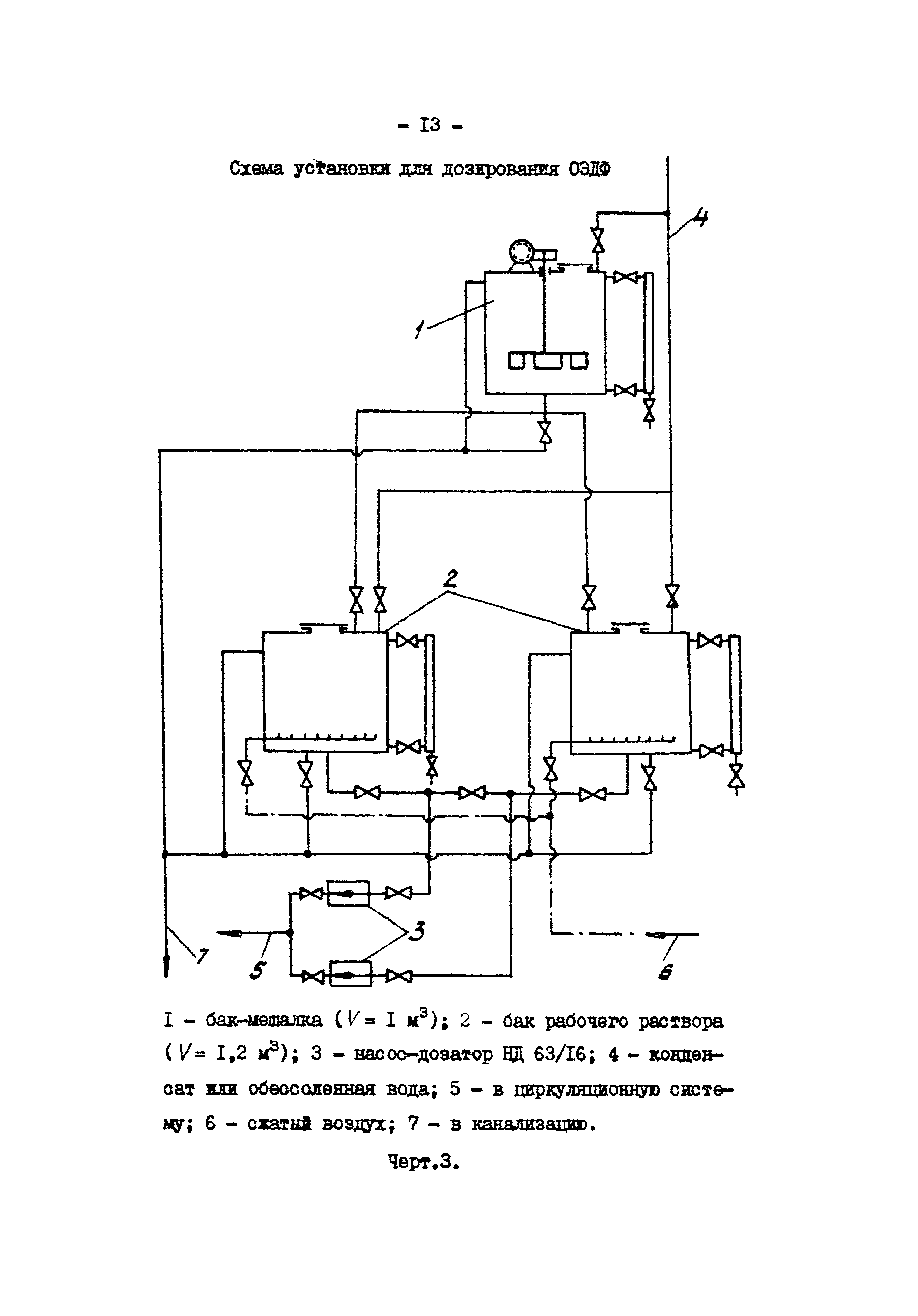
| Оглавление: | 1 Общие положения 2 Свойства ОЭДФ 3 Режим обработки воды 4 Установка для приготовления и дозирования ОЭДФ 5 Контроль за обработкой воды 6 Влияние ОЭДФ на загрязнение окружающей среды Приложение 1. Меры предосторожности при работе с ОЭДФ Приложение 2. Методика определения содержания ОЭДФ |
| Разработан: | Уральский филиал ВТИ им.Ф.Э.Дзержинского |
| Утверждён: | 30.11.1988 Минэнерго СССР (USSR Minenergo ) |
| Издан: | ВТИ (1989 г. ) |
| Заменяет собой: |
|
























