Скачать РД 34.22.504 Типовая инструкция по эксплуатации береговой насосной циркуляционного водоснабжения блочных электростанцийДата актуализации: 01.01.2021
|
| Обозначение: | РД 34.22.504 |
| Обозначение англ: | RD 34.22.504 |
| Статус: | действует |
| Название рус.: | Типовая инструкция по эксплуатации береговой насосной циркуляционного водоснабжения блочных электростанций |
| Название англ.: | Model Guidelines for Operation Shore Circulating Water Supply Pumping Stations for Modular Electric Power Generating Stations |
| Дата добавления в базу: | 01.01.2019 |
| Дата актуализации: | 01.01.2021 |
| Дата введения: | 01.01.1984 |
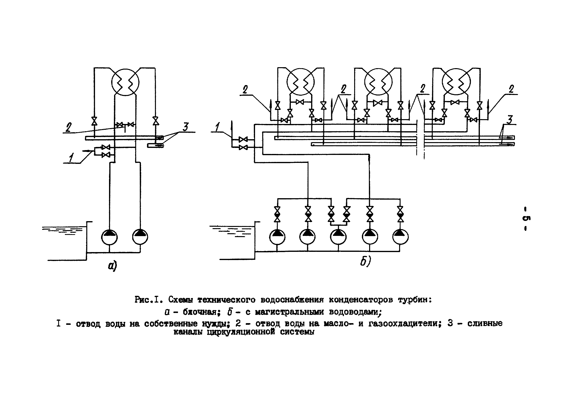
| Область применения: | Типовая инструкция составлена применительно к блочным электростанциям, береговые насосные которых оборудованы осевыми циркуляционными насосами. Типовая инструкция является основой для составления местных рабочих инструкций по эксплуатации оборудования береговых насосных с блочной схемой включения циркуляционных насосов и схемой водоснабжения с магистральными водоводами |
| Оглавление: | 1. Введение 2. Системы циркуляционного водоснабжения ТЭС и схемы включения циркуляционных насосов 3. Меры безопасности при работе на береговой насосной 4. Подготовка к пуску и пуск оборудования береговой насосной 4.1. Подготовка к пуску оборудования при полностью остановленной насосной (после ремонта) 4.2. Пуск оборудования при полностью остановленной насосной 4.3. Подготовка к пуску и пуск циркуляционных насосах 5. Обслуживание работающего оборудования 6. Останов оборудования 6.1. Вывод циркуляционного насоса в резерв (для схемы со станционными магистральными водоводами) 6.2. Плановый останов циркуляционного насоса (для блочной схемы циркуляционного водоснабжения) 6.3. Останов циркуляционного насоса для ремонта 7. Противоаварийные указания 8. Неисправности циркуляционных насосов и способы их устранения 8.1. Циркуляционные насосы 8.2. Электродвигатели Приложение 1 (Справочное). Оборудование береговой насосной Приложение 2 (Справочное). Основные технические характеристики циркуляционных насосов, изготавливаемых по "Уралгидромаш" Приложение 3 (Обязательное). Особенности эксплуатации насосов ОПВ в системах циркуляционного водоснабжения Приложение 4 (Справочное). Контрольно-измерительные приборы технологические блокировки, защиты, автоматика и сигнализация, дистанционное управление Приложение 5 (Обязательное). Борьба с шугой на береговой насосной |
| Разработан: | Уралтехэнерго |
| Утверждён: | 25.06.1983 Минэнерго СССР (USSR Minenergo ) |
| Издан: | СПО Союзтехэнерго (1983 г. ) |
| Список изменений: |
|
| Заменяет собой: |
|
















































Текстовое изменение № 12/87


