Скачать РД 34.17.207 Инструкция по оформлению технической документации на сварочные работы при ремонте оборудования ТЭСДата актуализации: 01.01.2021
|
| Обозначение: | РД 34.17.207 |
| Обозначение англ: | RD 34.17.207 |
| Статус: | не действует |
| Название рус.: | Инструкция по оформлению технической документации на сварочные работы при ремонте оборудования ТЭС |
| Название англ.: | Guidelines for Execution of Process Documentation for Welding Operations During Repair of Thermal Power Station Equipment |
| Дата добавления в базу: | 01.09.2013 |
| Дата актуализации: | 01.01.2021 |
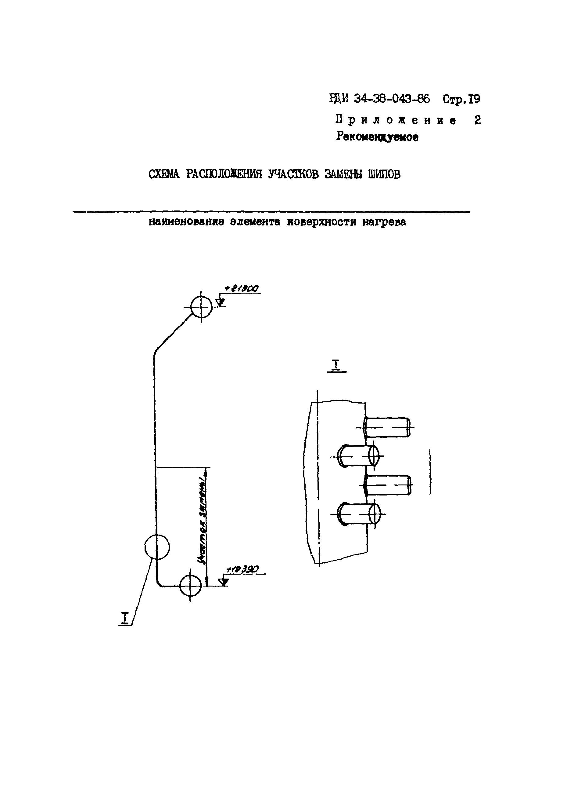
| Оглавление: | 1. Общие положения 2. Оформление технической документации на сварочные работы при ремонте труб поверхностей нагрева котлов и трубопроводов 3. Оформление технической документации на сварочные работы при ремонте барабанов котлов 4. Оформление технической документации при ремонте литых корпусных деталей 5. Оформление технической документации при восстановлении деталей наплавкой и газотермическим напылением Приложение 1. Сведения по ошиповке участков труб элементов поверхностей нагрева Приложение 2. Схема расположения участков замены шипов Приложение 3. Сведения о восстановлении (упрочнении) участков труб элементов поверхностей нагрева Приложение 4. Схема расположения восстановленных (упрочненных) участков труб Приложение 5. Сведения о сварных соединениях трубопровода Приложение 6. Схема расположения сварных соединений Приложение 7. Сведения о сварных соединениях труб элементов поверхностей нагрева Приложение 8. Схема расположения сварных соединений Приложение 9. Сведения о выборках и заварке дефектов на барабане Приложение 10. Схема расположения и устранения дефектов Приложение 11. Сведения о выборках и заварке дефектов на трубных отверстиях и штуцерах барабана Приложение 12. Схема расположения и устранения дефектов на отверстиях и штуцерах Приложение 13. Сведения о выборке и заварке дефектов на корпусных литых деталях Приложение 14. Схема расположения и устранения дефектов на корпусных литых деталях Приложение 15. Сведения о восстановлении или упрочнении деталей Приложение 16. Приемо-сдаточный акт передачи технической документации Приложение 17. Акт дефектами до ремонта Приложение 18. Протокол измерения толщины стенки Приложение 19. Акт внутренней дефектации барабана перед ремонтом Приложение 20. Заключение по цветной или магнитно-порошковой дефектоскопии Приложение 21. Заключение по ультразвуковой дефектоскопии Приложение 22. Протокол измерения твердости металла Приложение 23. Акт на замену штуцеров Приложение 24. Протокол выполнения работ по предварительному, сопутствующему подогреву, термообработке Приложение 25. Акт внутреннего осмотра барабана котла после ремонта и гидравлического |
| Разработан: | ЦКБ Энергоремонт |
| Утверждён: | 24.03.1987 Минэнерго СССР (USSR Minenergo ) |
| Издан: | СПО Союзтехэнерго (1989 г. ) |
| Нормативные ссылки: |
|















































