Скачать К-4-13-4 Типовая технологическая карта. Установка опор краном К-162

Дата актуализации: 01.01.2021

К-4-13-4

Типовая технологическая карта. Установка опор краном К-162

Обозначение: К-4-13-4
Обозначение англ: К-4-13-4
Статус:не установлен срок действия
Название рус.:Типовая технологическая карта. Установка опор краном К-162
Название англ.:Standard Process Chart - Installation of Supports Using Crane K-162
Дата добавления в базу:01.09.2013
Дата актуализации:01.01.2021
Дата введения:01.01.1976
Оглавление:1. Область применения
2. Технико-экономические показатели на одну опору
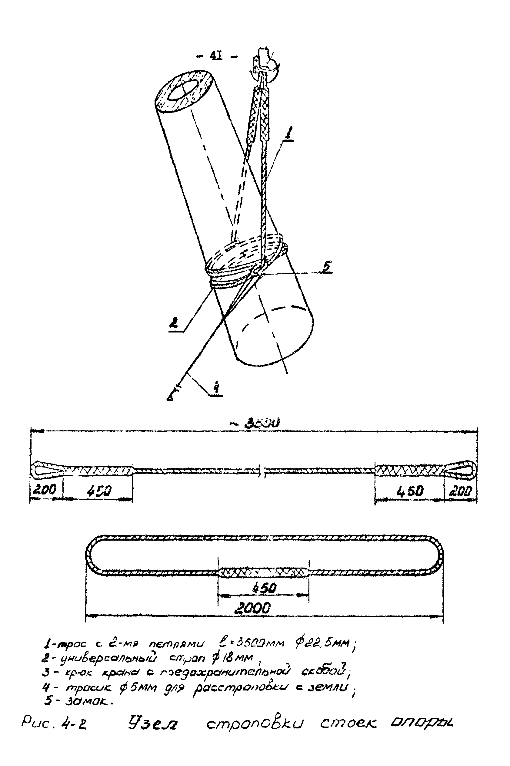
3. Организация и технология установки опор
4. Организация и методы труда рабочих
5. Материально-технические ресурсы (для одного звена)
Разработан: Оргэнергострой
Утверждён: Минэнерго СССР (USSR Minenergo )
Нормативные ссылки:
К-4-13-4К-4-13-4К-4-13-4К-4-13-4К-4-13-4К-4-13-4К-4-13-4К-4-13-4К-4-13-4К-4-13-4К-4-13-4К-4-13-4К-4-13-4