Скачать Руководство Руководство по применению испарителей жидкого хлора ИЖХ-12,5 и ИЖХ-50Дата актуализации: 01.01.2021
|
| Обозначение: | Руководство |
| Обозначение англ: | Guide |
| Статус: | действует |
| Название рус.: | Руководство по применению испарителей жидкого хлора ИЖХ-12,5 и ИЖХ-50 |
| Название англ.: | Guidelines for Use of Liquid Chlorine Evaporators Type IZhKh-12.5 and IZhKh-50 |
| Дата добавления в базу: | 01.09.2013 |
| Дата актуализации: | 01.01.2021 |
| Дата введения: | 29.09.1989 |
| Область применения: | Руководство предназначено для проектных и эксплуатационных организаций. |
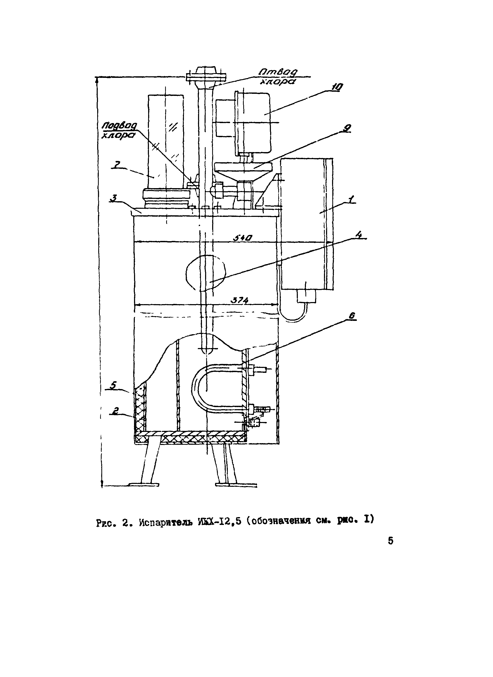
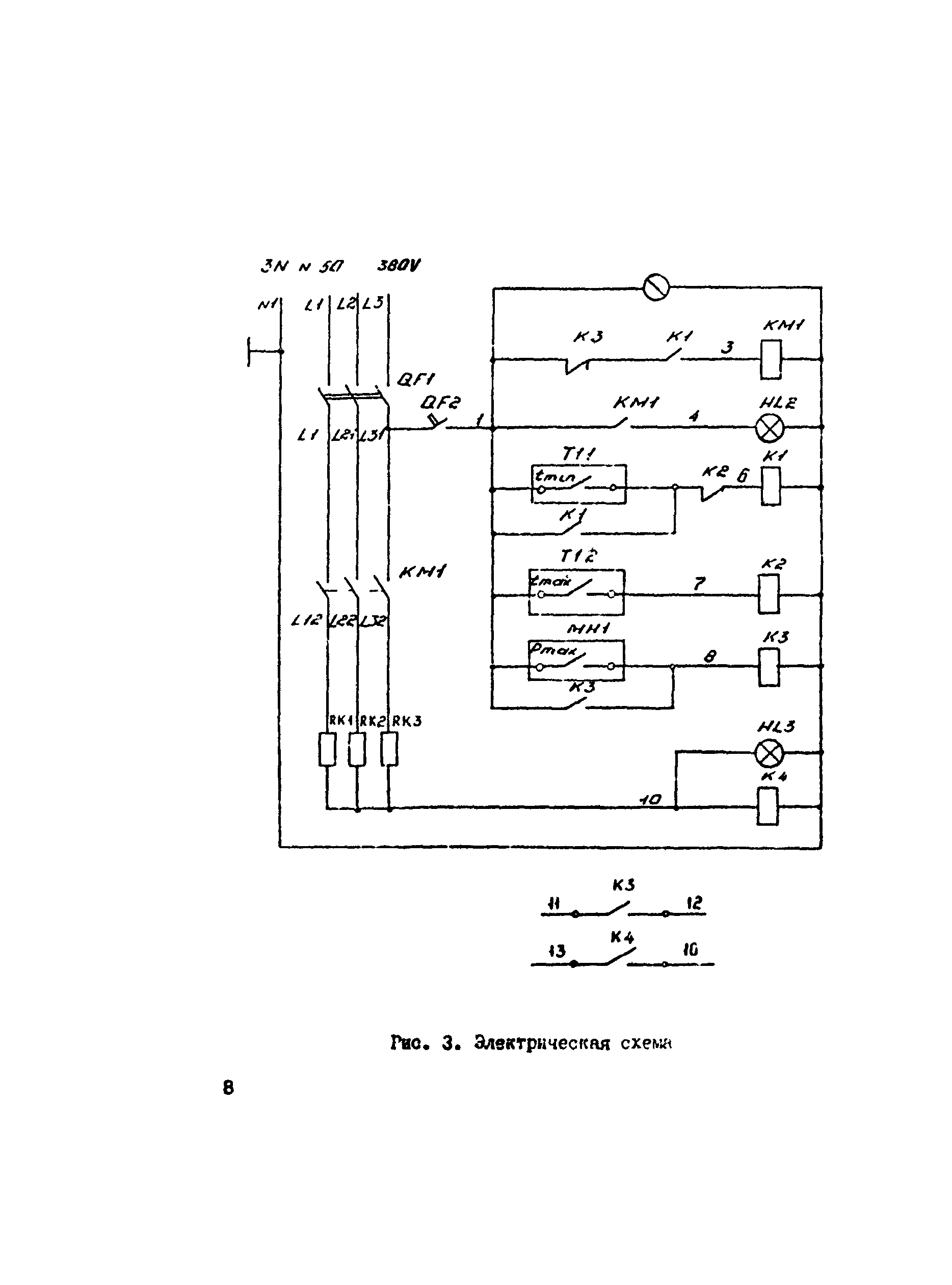
| Оглавление: | Назначение изделия Технические характеристики Устройство и принцип работы Меры безопасности Размещение, монтаж и подготовка испарителей к работе Порядок работы |
| Разработан: | НИИ КВОВ АКХ им. К.Д.Памфилова |
| Утверждён: | 29.09.1989 НИИ КВОВ АКХ им. К.Д. Памфилова (K. D. Pamfilov NII KVOV AKKh ) |
| Издан: | Ротапринт АКХ им. К.Д. Памфилова (1989 г. ) |









