Скачать ГОСТ 26455-97 Муфты дисковые полужесткие. Параметры, конструкция и размерыДата актуализации: 01.01.2021 ГОСТ 26455-97
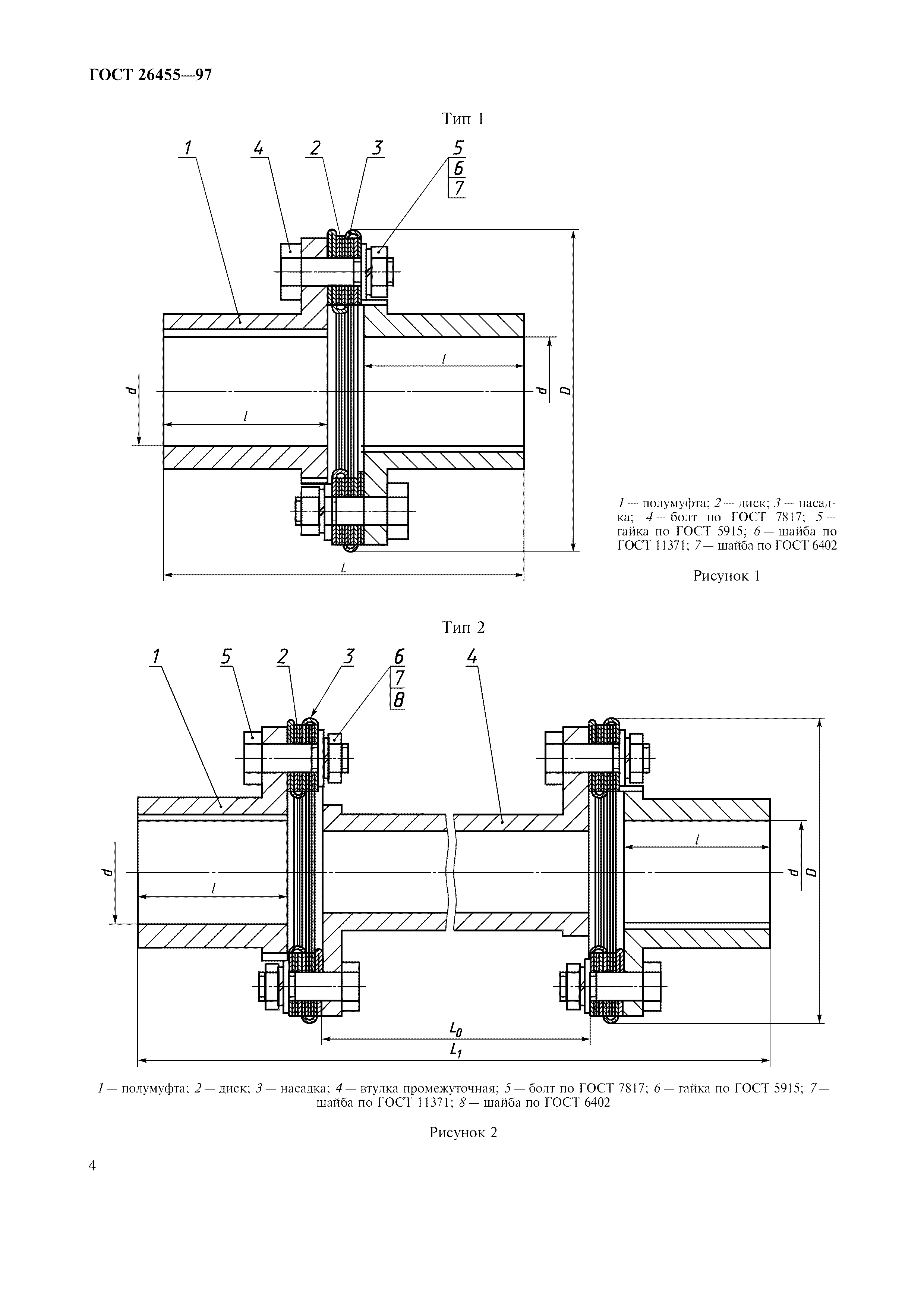
Муфты дисковые полужесткие. Параметры, конструкция и размеры| Обозначение: | ГОСТ 26455-97 | | Обозначение англ: | GOST 26455-97 | | Статус: | взамен | | Название рус.: | Муфты дисковые полужесткие. Параметры, конструкция и размеры | | Название англ.: | Semifixed disk couplings. Parameters, design and dimensions | | Дата добавления в базу: | 01.09.2013 | | Дата актуализации: | 01.01.2021 | | Дата введения: | 01.01.2002 | | Область применения: | Стандарт распространяется на дисковые полужесткие муфты общемашиностроительного применения, предназначенные для соединения соосных валов и передачи крутящего момента от 40 до 6300 Н * м, а также компенсации смещений осей валов без уменьшения динамических нагрузок, климатических исполнений У и Т, категорий 1-3, 5, климатических исполнений УХЛ и О категории 4 по ГОСТ 15150. | | Оглавление: | 1 Область применения 2 Нормативные ссылки 3 Типы, параметры, конструкция и размеры Приложение А Конструкция и размеры деталей муфт | | Разработан: | МТК 96 НИИредуктор Минпромполитики Украины
| | Утверждён: | 02.03.2001 Государственный комитет Российской Федерации по стандартизации и метрологии (Russian Federation National Committee for Standardization and Metrology 112-ст) 20.11.1997 Межгосударственный Совет по стандартизации, метрологии и сертификации (Inter-Governmental Council on Standardization, Metrology, and Certification 12)
| | Издан: | ИПК Издательство стандартов (2001 г. )
| | Заменяет собой: | | | Нормативные ссылки: | |
             
|