Скачать ГОСТ Р 51726-2001 Крепление инструментов с полым коническим хвостовиком (HSK) типа А. Присоединительные размерыДата актуализации: 01.01.2021
|
| Обозначение: | ГОСТ Р 51726-2001 |
| Обозначение англ: | GOST R 51726-2001 |
| Статус: | заменен |
| Название рус.: | Крепление инструментов с полым коническим хвостовиком (HSK) типа А. Присоединительные размеры |
| Название англ.: | Tool receiver for type A hollow taper shanks. Connecting dimensions |
| Дата добавления в базу: | 01.09.2013 |
| Дата актуализации: | 01.01.2021 |
| Дата введения: | 01.07.2002 |
| Дата окончания срока действия: | 01.07.2014 |
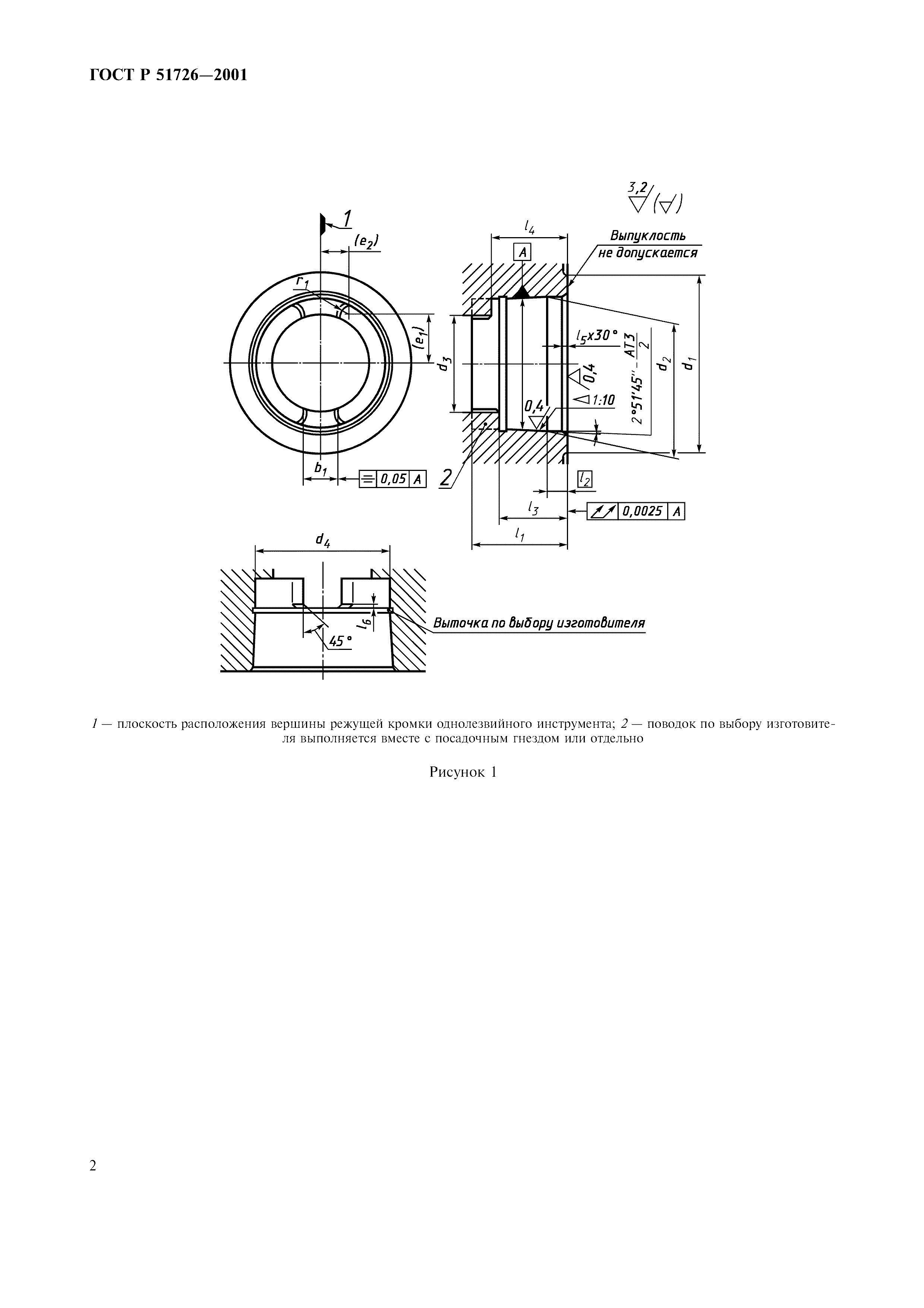
| Область применения: | Стандарт распространяется на присоединительные размеры посадочного гнезда для крепления полых конических хвостовиков (НК) типа А по ГОСТ Р 51547. Требования стандарта являются обязательными. |
| Оглавление: | 1 Область применения 2 Нормативные ссылки 3 Размеры Приложение А Схема зажима конического хвостовика (НSК) типа А |
| Разработан: | Всероссийский научно-исследовательский инструментальный институт |
| Утверждён: | 28.03.2001 Госстандарт России (Russian Federation Gosstandart 142-ст) |
| Издан: | ИПК Издательство стандартов (2001 г. ) |
| Нормативные ссылки: |







