Скачать СО 153-34.21.322-2003 Методические указания по организации и проведению наблюдений за осадкой фундаментов и деформациями зданий и сооружений строящихся и эксплуатируемых тепловых электростанцийДата актуализации: 01.01.2021
|
| Обозначение: | СО 153-34.21.322-2003 |
| Обозначение англ: | SO 153-34.21.322-2003 |
| Статус: | действует |
| Название рус.: | Методические указания по организации и проведению наблюдений за осадкой фундаментов и деформациями зданий и сооружений строящихся и эксплуатируемых тепловых электростанций |
| Дата добавления в базу: | 01.09.2013 |
| Дата актуализации: | 01.01.2021 |
| Дата введения: | 30.06.2003 |
| Область применения: | Методические указания содержат основные положения по организации и методике наблюдений за осадкой фундаментов, деформациями строительных конструкций и сооружений тепловых электростанций. |
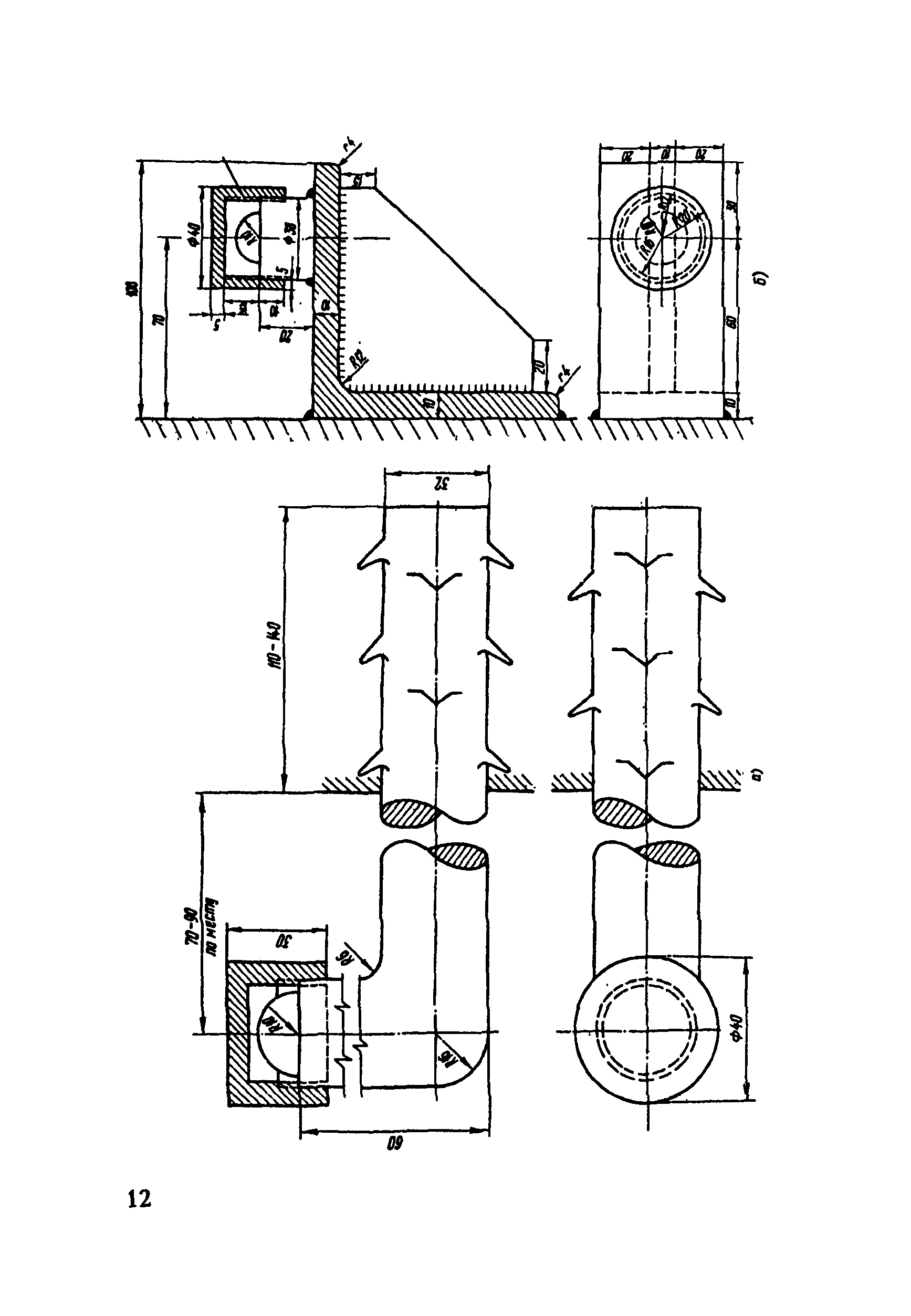
| Оглавление: | 1 Общие положения 2 Измерение осадки фундаментов 2.1 Объекты для наблюдений за осадкой фундаментов 2.2 Исходные реперы 2.3 Осадочные деформационные марки 2.4 Измерение осадки (деформаций) фундаментов 2.5 Геометрическое нивелирование 2.6 Обработка материалов геометрического нивелирования и отчетность 2.7 Гидростатическое нивелирование 3 Измерение деформаций строительных конструкций 3.1 Измерение деформаций фундаментов турбоагрегатов мощностью 180 МВт и более 3.2 Измерение деформаций перекосов (поворотов) ригелей фундамента и опор подшипников турбоагрегатов 3.3 Определение кренов инженерных сооружений башенного типа 3.4 Геодезическая съемка подкрановых путей 4 Измерение осадки и деформаций гидротехнических сооружений ТЭС Приложение А Конструкции деформационных марок и способы их установки Приложение Б Поверка в полевых условиях нивелиров, применяемых при гиеометрическом нивелировании Приложение В Форма записи наблюдений в журнале высокоточного геометрического нивелирования Приложение Г Каталог отметок и осадки глубинных реперов и марок, установленных на фундаментах сооружений Приложение Д Вычисление крена дымовой трубы по угловым измерениям и по разности осадки ее фундамента (пример) Прилжение Е Значения предельных деформаций оснований Приложение Ж Ведомость вычисления положения оси рельса в плане по способу последовательных створов в случае приближенного центрирования теодолита (пример) Приложение И Предельные значения отклонений рельсовых путей (в плане и профиле) от проектного положения Список использованной литературы |
| Утверждён: | 30.06.2003 Минэнерго России (Russian Federation Minenergo 283) |
| Издан: | ЦПТИ ОРГРЭС (2005 г. ) |
| Заменяет собой: | |
| Нормативные ссылки: |
|






















































