Скачать СО 34.26.726 Методические указания по наладке регуляторов питания барабанных паровых котловДата актуализации: 01.01.2021
|
| Обозначение: | СО 34.26.726 |
| Обозначение англ: | SO 34.26.726 |
| Статус: | действует |
| Название рус.: | Методические указания по наладке регуляторов питания барабанных паровых котлов |
| Дата добавления в базу: | 01.09.2013 |
| Дата актуализации: | 01.01.2021 |
| Дата введения: | 01.10.1986 |
| Область применения: | Предназначены для наладочного и эксплуатационного персонала предприятий Минэнерго СССР, занимающегося наладкой и эксплуатацией барабанных паровых котлов энергоблоков и энергоустановок с поперечными связями. |
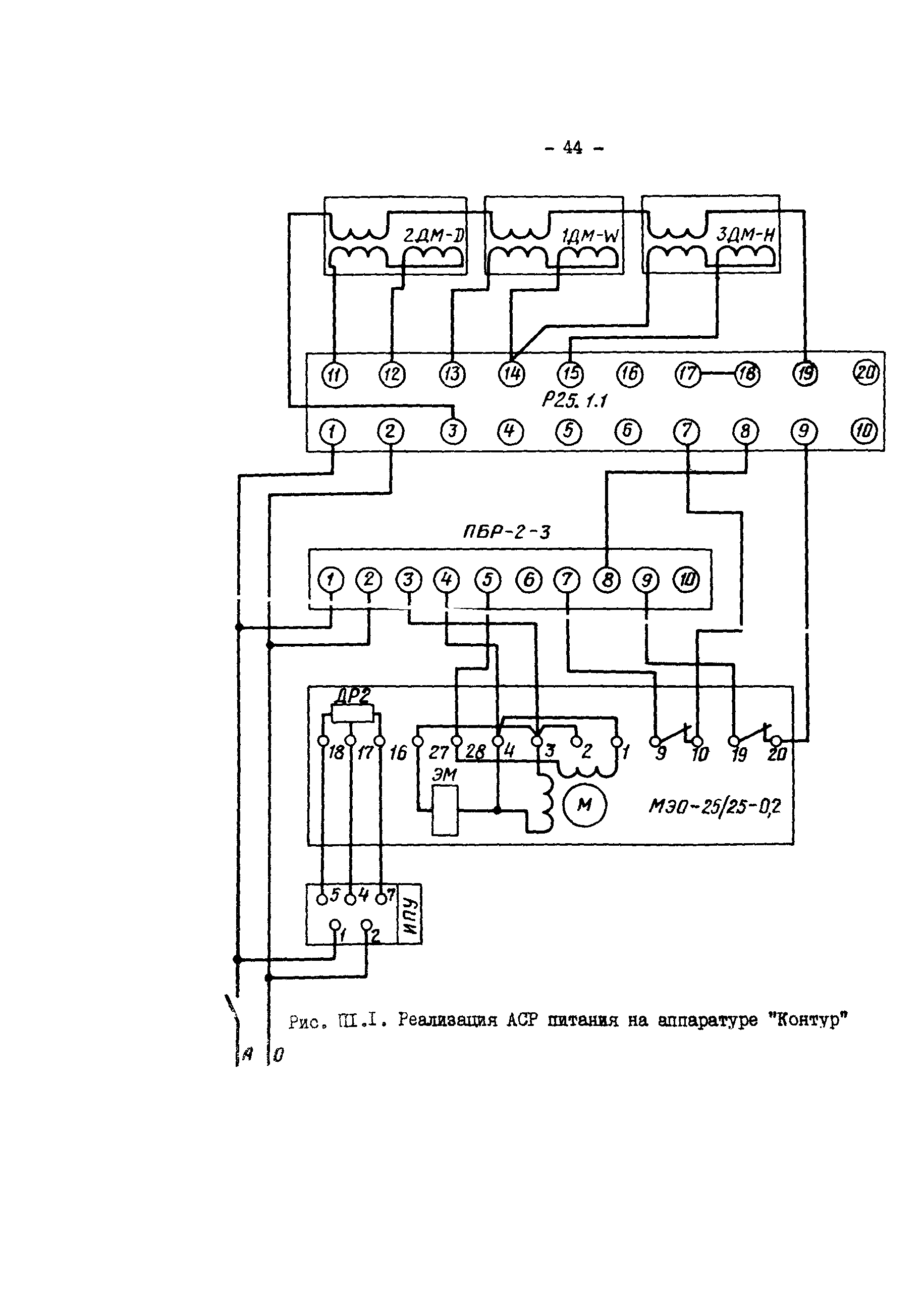
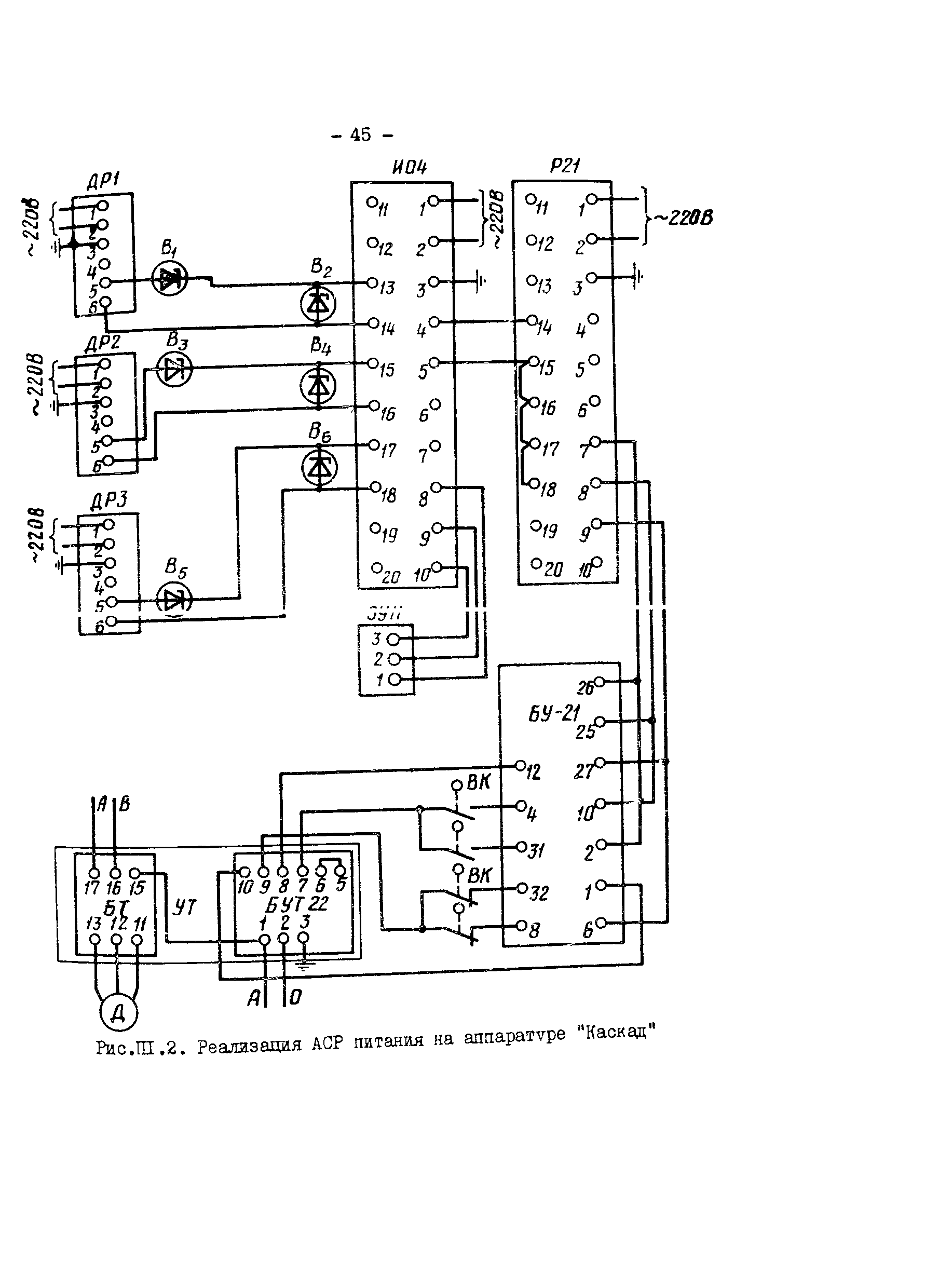
| Оглавление: | 1 Общие положения 2 Расчет статической настройки автоматической системы регулирования питания 3 Расчет динамической настройки автоматической системы регулирования питания 4 Экспериментальный метод настройки автоматической системы регулирования питания 5 Оформление результатов наладки и испытаний регуляторов питания Приложение 1. Примеры реализации схем автоматической системы регулирования питания Приложение 2. Расчет характеристик основного регулирующего питательного клапана котла БКЗ-820-13,8 Приложение 3. Примеры расчета настройки АСР питания Список литературы, на которую ссылаются в Методических указаниях |
| Разработан: | Предприятие Сибтехэнерго |
| Утверждён: | 27.12.1985 ПО Союзтехэнерго |
| Издан: | СПО Союзтехэнерго (1987 г. ) |
| Заменяет собой: |
|
| Нормативные ссылки: |























































