Скачать СО 34.26.735 Рекомендации по техническому обслуживанию калориферных установок ТЭСДата актуализации: 01.01.2021
|
| Обозначение: | СО 34.26.735 |
| Обозначение англ: | SO 34.26.735 |
| Статус: | действует |
| Название рус.: | Рекомендации по техническому обслуживанию калориферных установок ТЭС |
| Дата добавления в базу: | 01.09.2013 |
| Дата актуализации: | 01.01.2021 |
| Дата введения: | 19.02.1993 |
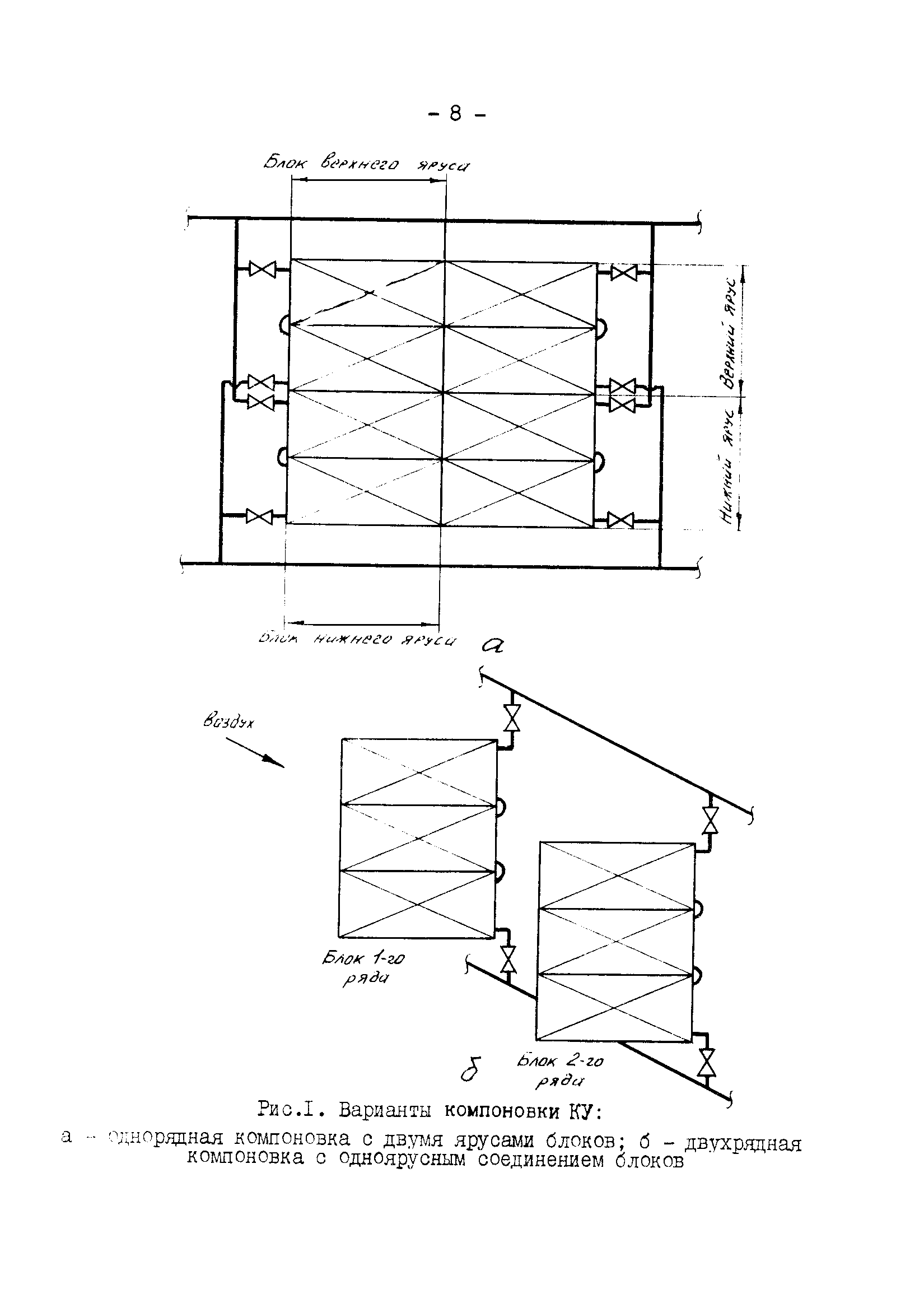
| Оглавление: | Введение 1 Калориферные установки тепловых электрических станций 2 Система технического обслуживания калориферных установок ТЭС 3 Техническая диагностика технологической схемы калориферной установки Приложение 1 Основные технические характеристики калориферов Приложение 2 Основные технические характеристики клапанов воздушных утепленных КВУ и П Приложение 3 Основные технические характеристики воздушных заслонок прямоугольного сечения Приложение 4 Основные технические характеристики запорной и предохранительной арматуры Приложение 5 Основные технические характеристики регулирующей арматуры Приложение 6 Основные технические характеристики насосов подмешивания |
| Разработан: | Уралтехэнерго фирмы ОРГРЭС |
| Утверждён: | 19.02.1993 Фирма ОРГРЭС |
| Издан: | СПО ОРГРЭС (1993 г. ) |
| Нормативные ссылки: |

































