Скачать ГОСТ 11175-80 Развертки машинные, оснащенные пластинами из твердого сплава. Конструкция и размеры

Дата актуализации: 01.01.2021

ГОСТ 11175-80

Развертки машинные, оснащенные пластинами из твердого сплава. Конструкция и размеры

Обозначение: ГОСТ 11175-80
Обозначение англ: GOST 11175-80
Статус:заменен
Название рус.:Развертки машинные, оснащенные пластинами из твердого сплава. Конструкция и размеры
Название англ.:Carbide tipped parallel machine reamers. Design and dimensions
Дата добавления в базу:21.05.2015
Дата актуализации:01.01.2021
Дата введения:01.01.1981
Дата окончания срока действия:01.01.1991
Область применения:Стандарт распространяется на машинные развертки, оснащенные пластинами из твердого сплава.
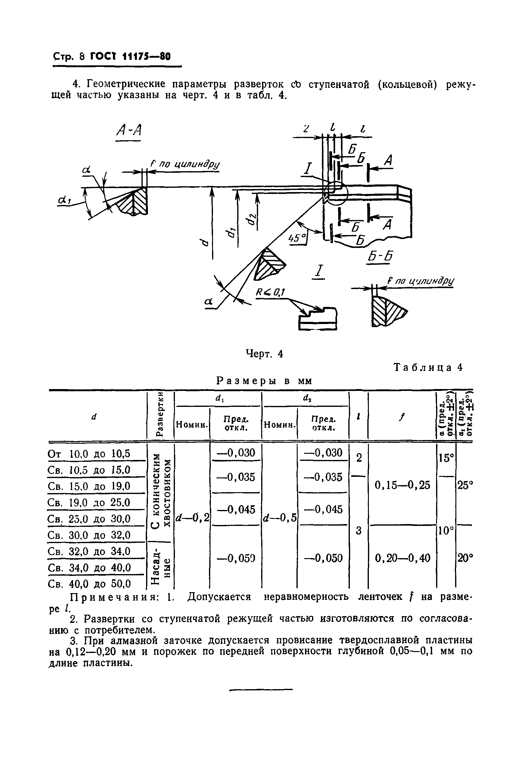
Оглавление:Приложение (рекомендуемое) Элементы конструкции и геометрические параметры разверток
Разработан: Министерство станкостроительной и инструментальной промышленности
Утверждён:19.03.1980 Государственный комитет СССР по стандартам (USSR National Committee on Standards 1223)
Издан: Издательство стандартов (1980 г. )
Список изменений:
Заменяет собой:
  • ГОСТ 11175-71 «Развертки машинные, оснащенные пластинками из твердого сплава. Конструкция и размеры»
Нормативные ссылки:
ГОСТ 11175-80ГОСТ 11175-80ГОСТ 11175-80ГОСТ 11175-80ГОСТ 11175-80ГОСТ 11175-80ГОСТ 11175-80ГОСТ 11175-80ГОСТ 11175-80ГОСТ 11175-80ГОСТ 11175-80

Текстовое изменение № 1 от 01.07.1989

№ 1№ 1№ 1№ 1