Скачать ГОСТ 1154-60 Ванны чугунные эмалированныеДата актуализации: 01.01.2021
|
| Обозначение: | ГОСТ 1154-60 |
| Обозначение англ: | GOST 1154-60 |
| Статус: | взамен |
| Название рус.: | Ванны чугунные эмалированные |
| Название англ.: | Enamelled cast iron bathtubs |
| Дата добавления в базу: | 21.05.2015 |
| Дата актуализации: | 01.01.2021 |
| Дата введения: | 01.01.1961 |
| Область применения: | Стандарт распространяется на чугунные эмалированные ванны и детали к ним (ножки, перелив, выпуск и сифон), предназначаемые для санитарно-бытовых целей. |
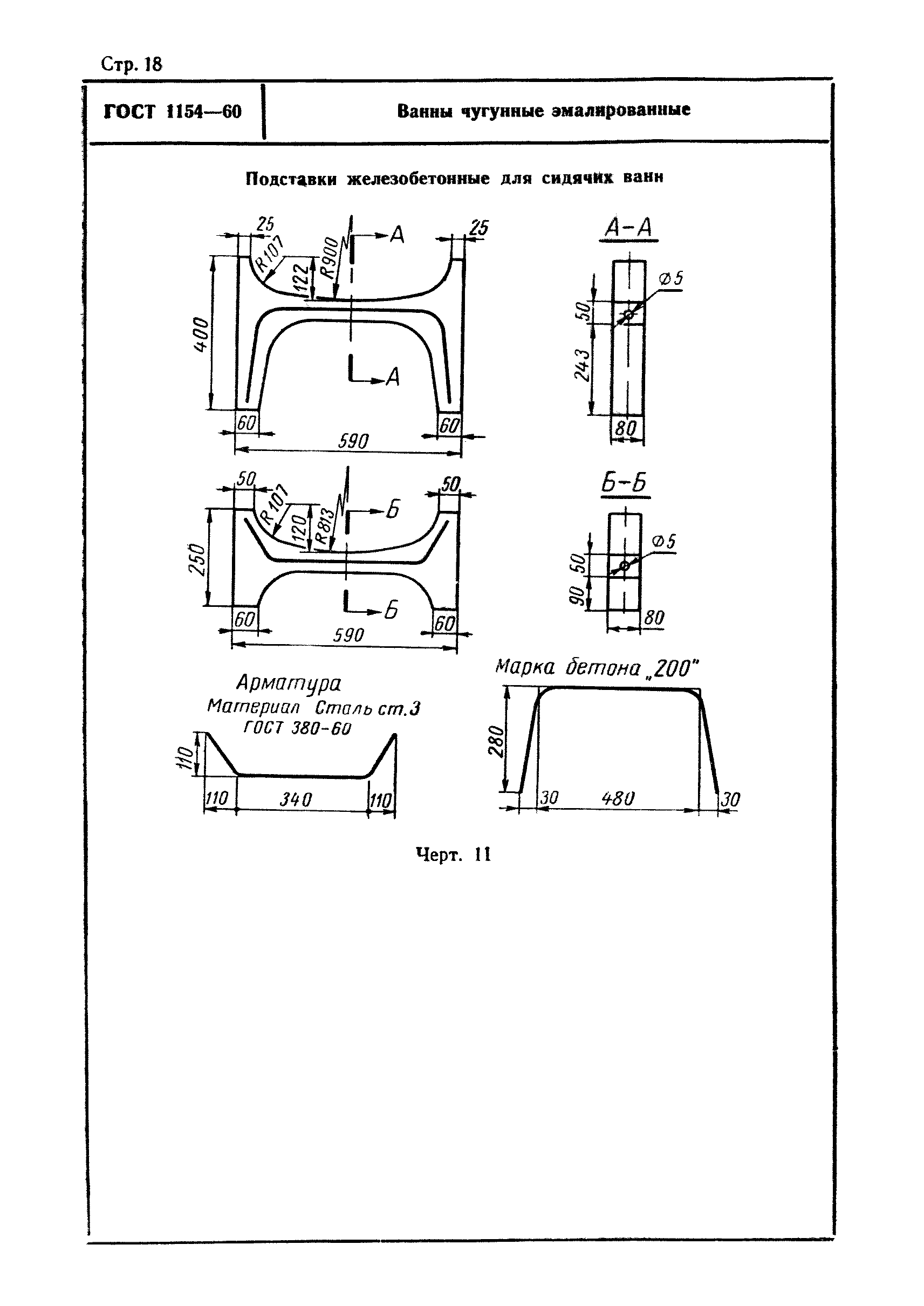
| Оглавление: | I. Типы и основные размеры II. Технические требования III. Правила приемки IV. Методы испытаний V. Маркировка, упаковка, хранение и транспортирование Приложение Примерная монтажная схема установки сидячей ванны на железобетонных подставках |
| Утверждён: | 06.09.1960 Государственный комитет Совета Министров СССР по делам строительства |
| Издан: | СТАНДАРТГИЗ (1960 г. ) |
| Список изменений: |
|
| Заменяет собой: |
|
| Нормативные ссылки: |























Текстовое изменение № 1 от 01.01.1962
