Скачать ГОСТ 6051-51 Прокладки резино-тканевые уплотнительные для диффузоров и вакуум-аппаратовДата актуализации: 01.01.2021
|
| Обозначение: | ГОСТ 6051-51 |
| Обозначение англ: | GOST 6051-51 |
| Статус: | заменен |
| Название рус.: | Прокладки резино-тканевые уплотнительные для диффузоров и вакуум-аппаратов |
| Дата добавления в базу: | 01.02.2017 |
| Дата актуализации: | 01.01.2021 |
| Дата введения: | 01.10.1952 |
| Дата окончания срока действия: | 01.01.1977 |
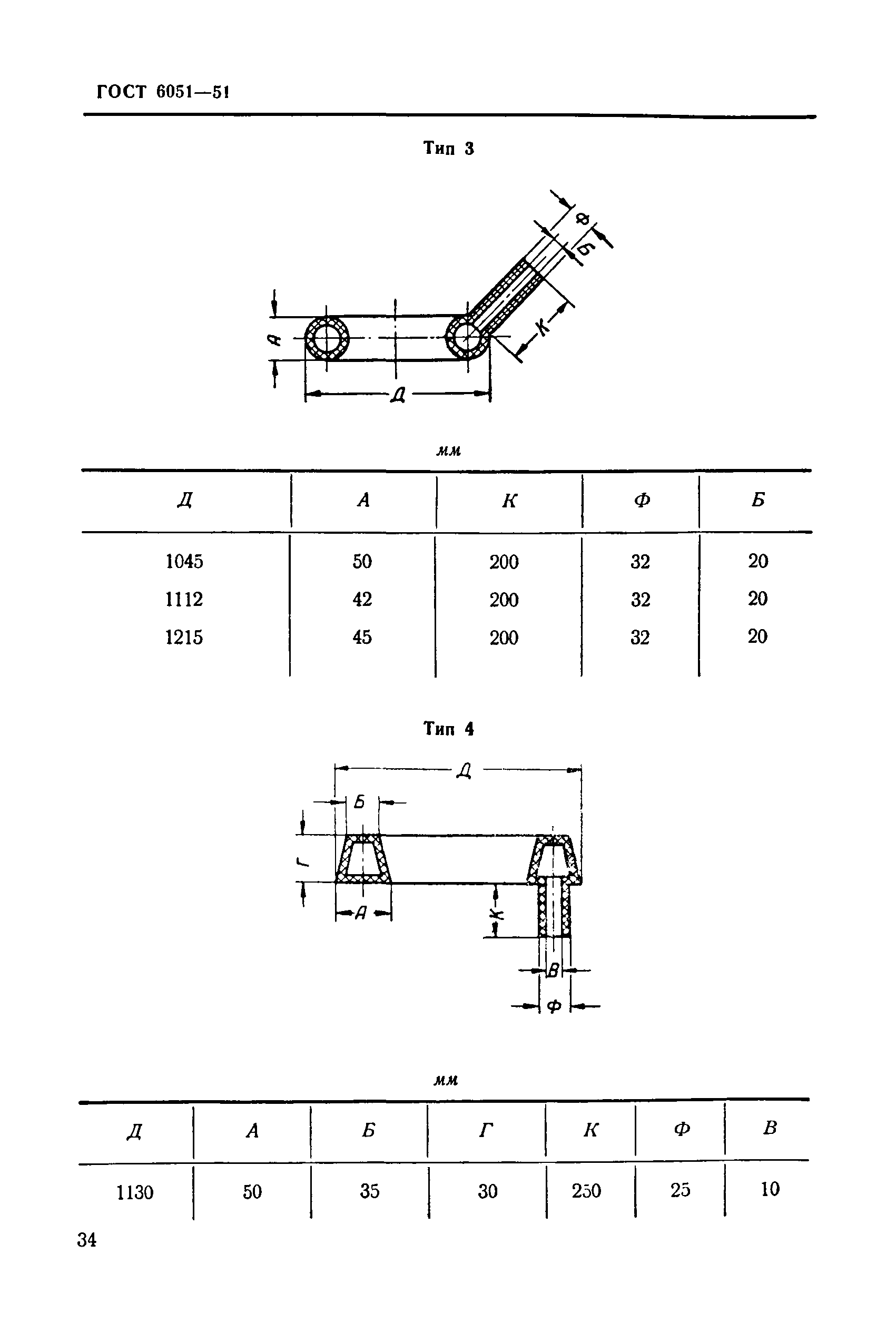
| Область применения: | Стандарт распространяется на резино-тканевые уплотнительные прокладки, изготовленные формовым способом и предназначенные для герметизации соединения корпуса с крышкой у диффузоров м вакуум-аппаратов сахарной промышленности. |
| Оглавление: | I. Технические условия II. Правила приемки III. Методы испытаний IV. Маркировка и упаковка V. Хранение |
| Разработан: | Министерство химической промышленности |
| Утверждён: | 12.12.1951 Управление по стандартизации при Совете Министров Союза ССР (Administration for Standarization at the USSR Cabinet of Ministers ) |
| Издан: | Издательство стандартов (1963 г. ) |











