Скачать ГОСТ 4291-62 Иллюминаторы рубочные прямоугольные и щитки к ним. Типы и основные размеры

Дата актуализации: 01.01.2021

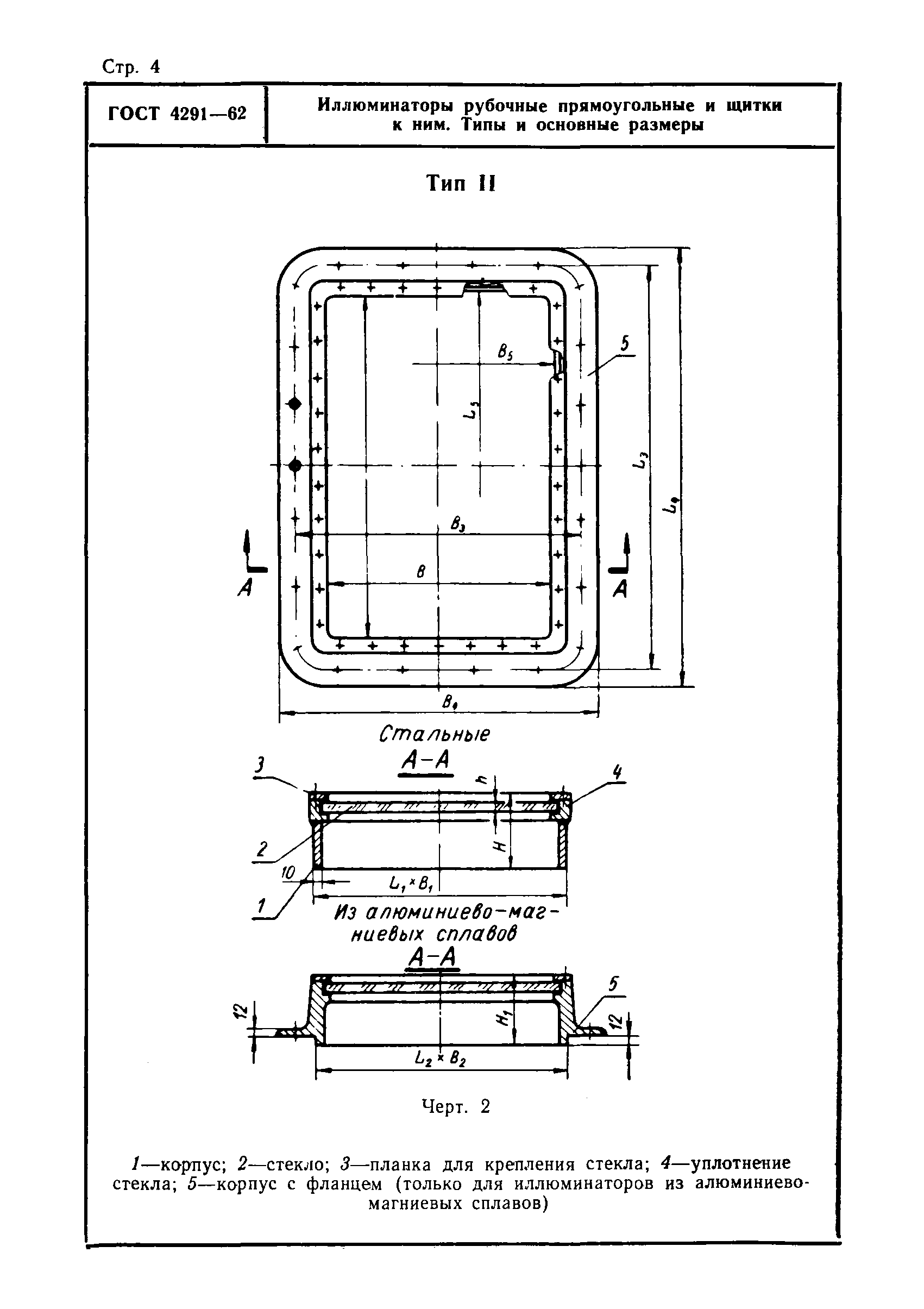
ГОСТ 4291-62

Иллюминаторы рубочные прямоугольные и щитки к ним. Типы и основные размеры

Обозначение: ГОСТ 4291-62
Обозначение англ: GOST 4291-62
Статус:отменен
Название рус.:Иллюминаторы рубочные прямоугольные и щитки к ним. Типы и основные размеры
Название англ.:Ships' windows and their shields. Types and basic dimensions
Дата добавления в базу:01.01.2019
Дата актуализации:01.01.2021
Дата введения:01.07.1963
Дата окончания срока действия:01.06.1976
Область применения:Стандарт распространяется на рубочные прямоугольные иллюминаторы и щитки к ним для надводных кораблей, судов и плавсредств всех типов, классов и назначений.
Оглавление:Приложение Узлы иллюминаторов
Утверждён:03.02.1962 Комитет стандартов, мер и измерительных приборов при Совете Министров Союза ССР
Издан: СТАНДАРТГИЗ (1962 г. )
Заменяет собой:
  • ГОСТ 4291-54 «Иллюминаторы рубочные прямоугольные и затемнители к ним. Типы и основные размеры» (Сведения из перечня "Указатель государственных общесоюзных стандартов 1965 г.", Издательство стандартов 1965)
Нормативные ссылки:
ГОСТ 4291-62ГОСТ 4291-62ГОСТ 4291-62ГОСТ 4291-62ГОСТ 4291-62ГОСТ 4291-62ГОСТ 4291-62ГОСТ 4291-62ГОСТ 4291-62ГОСТ 4291-62ГОСТ 4291-62ГОСТ 4291-62ГОСТ 4291-62ГОСТ 4291-62ГОСТ 4291-62ГОСТ 4291-62