Скачать ГОСТ 5267-63 Сталь прокатная специальных профилей для вагоностроения. Сортамент

Дата актуализации: 01.01.2021

ГОСТ 5267-63

Сталь прокатная специальных профилей для вагоностроения. Сортамент

Обозначение: ГОСТ 5267-63
Обозначение англ: GOST 5267-63
Статус:заменен
Название рус.:Сталь прокатная специальных профилей для вагоностроения. Сортамент
Название англ.:Rolled steel of special profiles for carriagebuilding. Assortment
Дата добавления в базу:01.10.2014
Дата актуализации:01.01.2021
Дата введения:01.01.1965
Дата окончания срока действия:01.01.1979
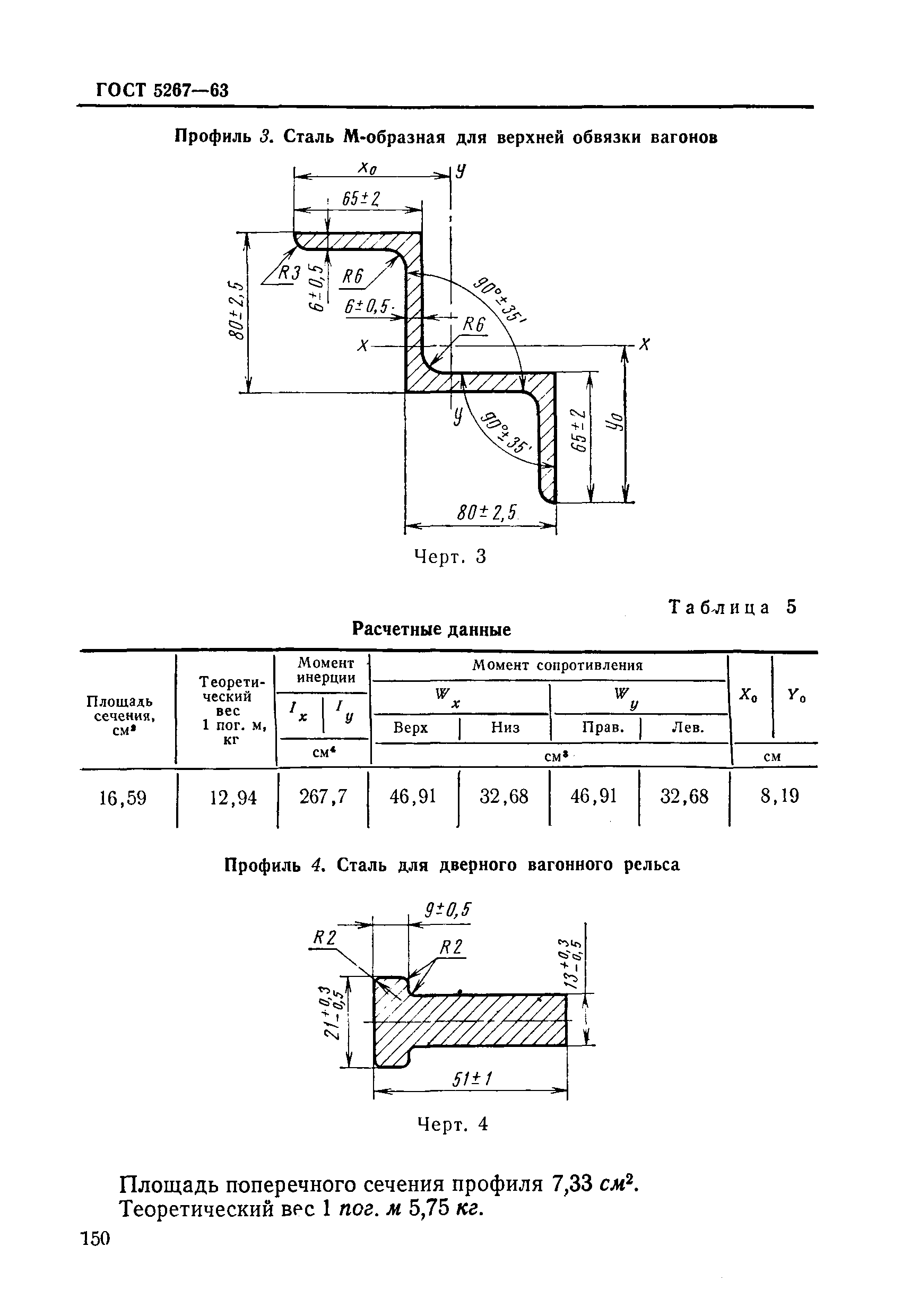
Область применения:Стандарт распространяется на сталь прокатную специальных профилей, предназначенные для вагоностроения
Утверждён:04.11.1963 Государственный комитет стандартов, мер и измерительных приборов СССР
Издан: Издательство стандартов (1969 г. )
Заменяет собой:
  • ГОСТ 5267-50 «Сталь прокатная специальных профилей для паровозо- и вагоностроения. Сортамент» (Кроме рессорно-пружинной стали. Сведения из перечня "Указатель государственных общесоюзных стандартов 1965 г.", Издательство стандартов 1965)
ГОСТ 5267-63ГОСТ 5267-63ГОСТ 5267-63ГОСТ 5267-63ГОСТ 5267-63ГОСТ 5267-63ГОСТ 5267-63ГОСТ 5267-63ГОСТ 5267-63ГОСТ 5267-63