Скачать ГОСТ 12492-67 Сталь специальных профилей для сельскохозяйственных машин. Сортамент

Дата актуализации: 01.01.2021

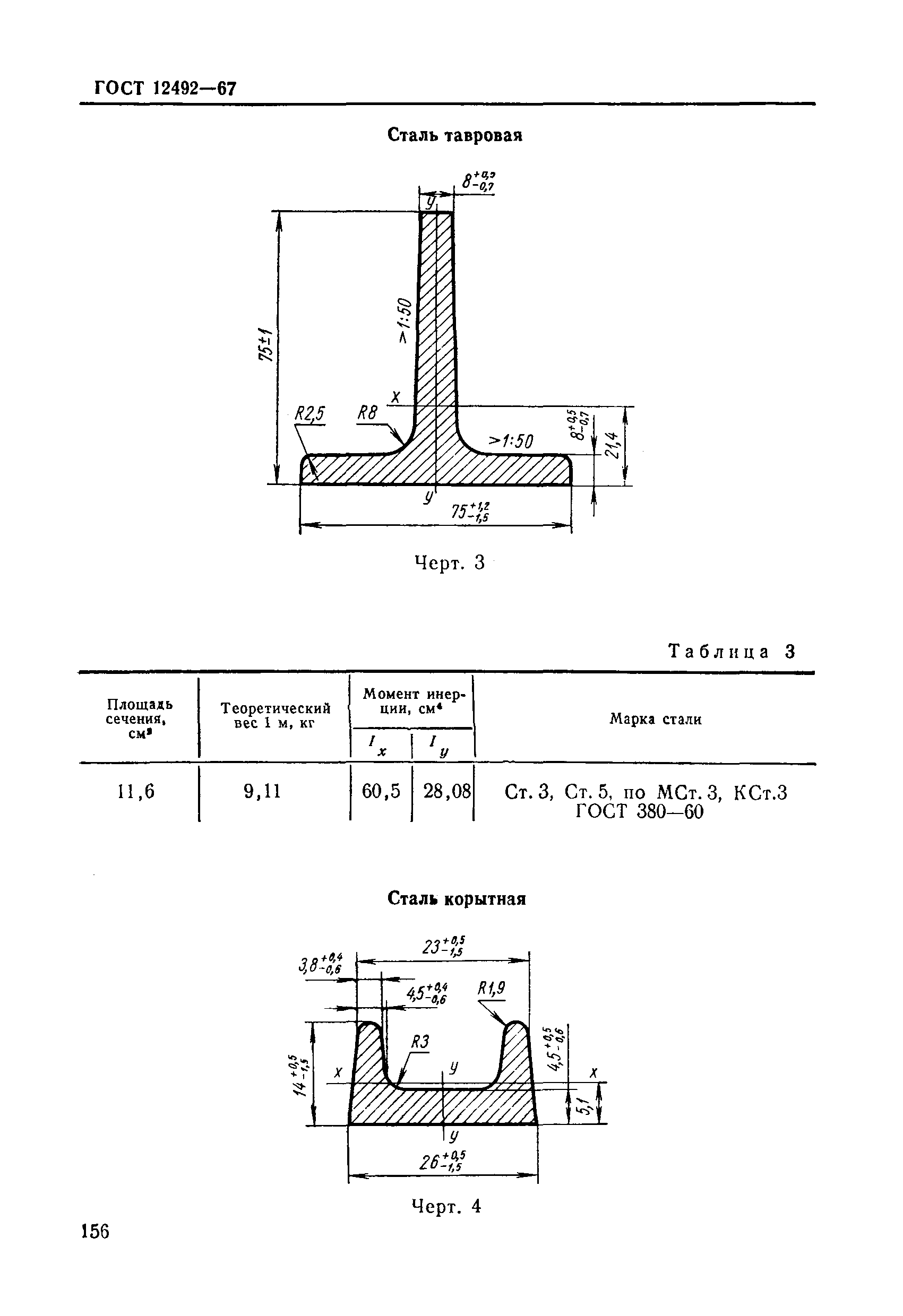
ГОСТ 12492-67

Сталь специальных профилей для сельскохозяйственных машин. Сортамент

Обозначение: ГОСТ 12492-67
Обозначение англ: GOST 12492-67
Статус:заменен
Название рус.:Сталь специальных профилей для сельскохозяйственных машин. Сортамент
Название англ.:Steel special profiles for agricultural machinery. Assortment
Дата добавления в базу:01.10.2014
Дата актуализации:01.01.2021
Дата введения:01.07.1967
Дата окончания срока действия:01.01.1980
Область применения:Стандарт распространяется на сталь специальных профилей для сельскохозяйственных машин.
Утверждён:03.01.1967 Комитет стандартов, мер и измерительных приборов при Совете Министров СССР (Committee on Standards, Measures, and Measuring Instruments at the USSR Cabinet of Ministers )
Издан: Издательство стандартов (1969 г. )
Заменяет собой:
  • ГОСТ 8531-57 «Сталь горячекатаная периодического профиля для лемехов» (в части сортамента. Сведения из перечня "Указатель государственных стандартов СССР 1970 г.", Издательство комитета стандартов 1970)
  • ГОСТ 3294-53 «Сталь специальных профилей для сельскохозяйственных машин. Сортамент» (Кроме квадратных, прямоугольных и треугольных трубСведения из перечня "Указатель государственных стандартов СССР 1970 г.", Издательство комитета стандартов 1970)
Нормативные ссылки:
ГОСТ 12492-67ГОСТ 12492-67ГОСТ 12492-67ГОСТ 12492-67ГОСТ 12492-67ГОСТ 12492-67ГОСТ 12492-67ГОСТ 12492-67ГОСТ 12492-67ГОСТ 12492-67ГОСТ 12492-67ГОСТ 12492-67ГОСТ 12492-67ГОСТ 12492-67ГОСТ 12492-67ГОСТ 12492-67ГОСТ 12492-67ГОСТ 12492-67ГОСТ 12492-67