Скачать ГОСТ 13915-68 Круги поворотные автомобильных прицепов и полуприцеповДата актуализации: 01.01.2021
|
| Обозначение: | ГОСТ 13915-68 |
| Обозначение англ: | GOST 13915-68 |
| Статус: | отменен |
| Название рус.: | Круги поворотные автомобильных прицепов и полуприцепов |
| Название англ.: | Automobile trailers and semitrailers turntables |
| Дата добавления в базу: | 01.02.2017 |
| Дата актуализации: | 01.01.2021 |
| Дата введения: | 01.01.1970 |
| Дата окончания срока действия: | 01.11.1978 |
| Область применения: | Стандарт распространяется на поворотные круги, устанавливаемые на поворотные тележки автомобильных прицепов и полуприцелов общетранспортного назначения. Стандарт не распространяется на поворотные круги, подготовка производства и производство которых начаты до внедрения стандарта. |
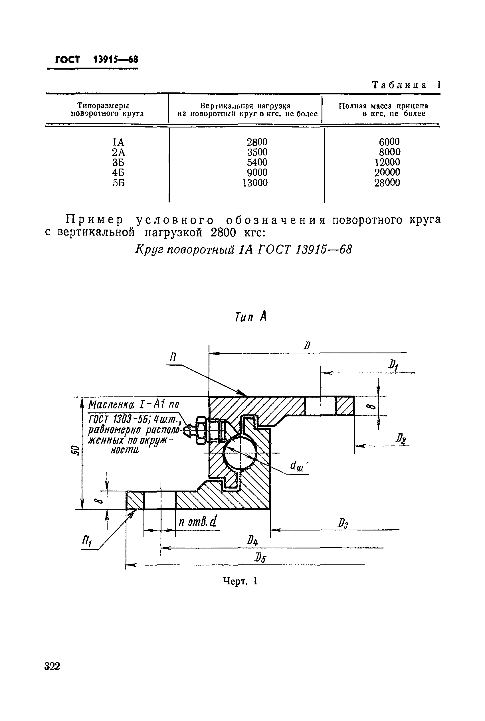
| Оглавление: | 1. Типы и основные размеры 2. Технические требования 3. Методы испытаний 4. Маркировка, упаковка, транспортирование и хранение |
| Утверждён: | 12.08.1968 Комитет стандартов, мер и измерительных приборов при Совете Министров СССР (Committee on Standards, Measures, and Measuring Instruments at the USSR Cabinet of Ministers ) |
| Издан: | Издательство стандартов (1975 г. ) |
| Нормативные ссылки: |














