Скачать ГОСТ 19254-81 Зажимы опорные для открытых распределительных устройств. Технические условияДата актуализации: 01.01.2021
|
| Обозначение: | ГОСТ 19254-81 |
| Обозначение англ: | GOST 19254-81 |
| Статус: | отменен |
| Название рус.: | Зажимы опорные для открытых распределительных устройств. Технические условия |
| Название англ.: | Supporting clams for outdoor switchgear installations. Specifications |
| Дата добавления в базу: | 12.02.2016 |
| Дата актуализации: | 01.01.2021 |
| Дата введения: | 01.01.1982 |
| Дата окончания срока действия: | 01.01.1988 |
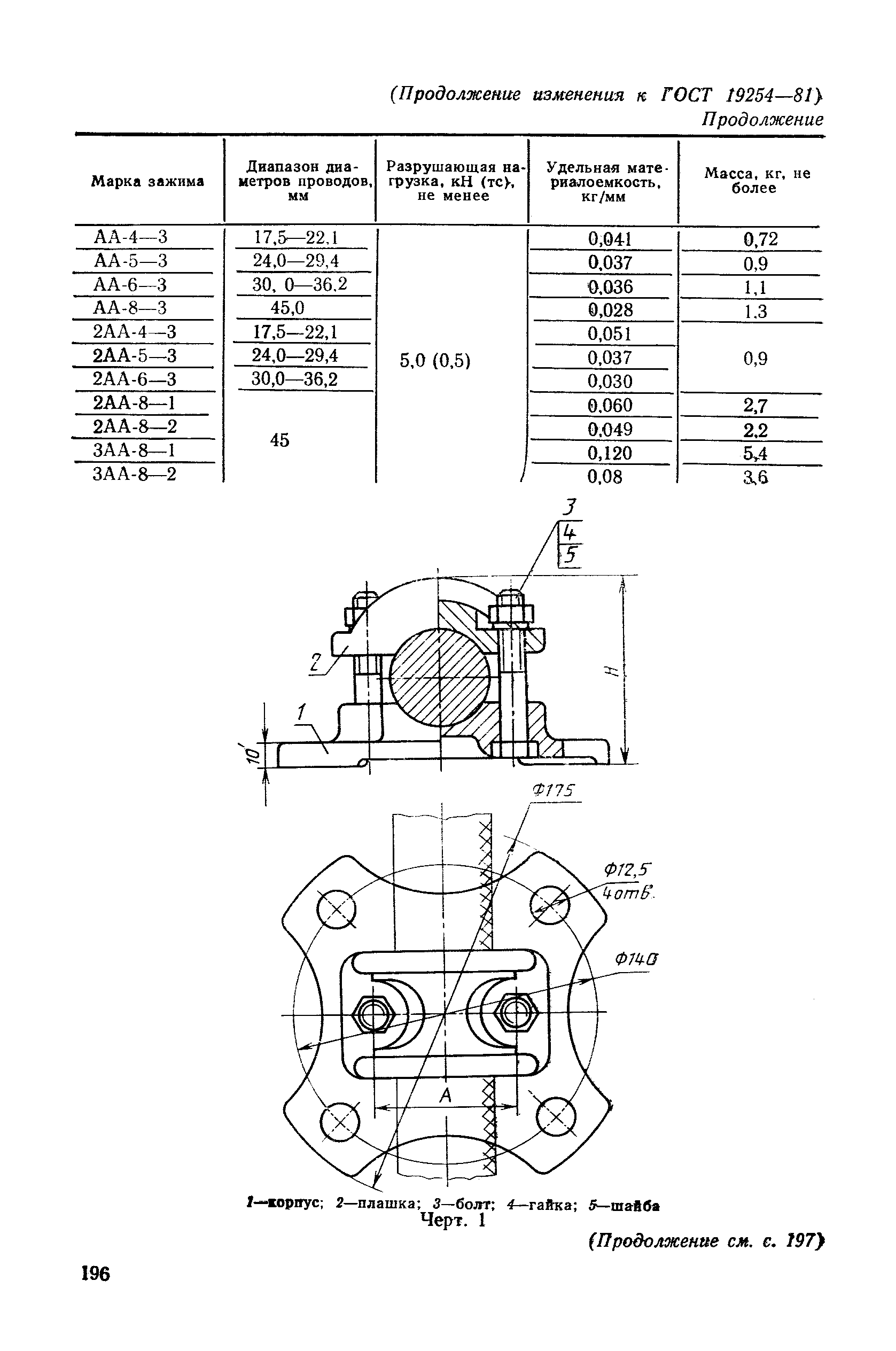
| Область применения: | Стандарт распространяется на опорные зажимы, предназначенные для крепления на колонках изоляторов - алюминиевых и медных полых проводов, алюминиевых труб, используемых в качестве шин в распределительных устройствах. |
| Оглавление: | 1. Типы и основные элементы 2. Технические требования 3. Правила приемки и методы испытаний 4. Маркировка, упаковка, транспортирование и хранение 5. Указания по применению 6. Гарантии изготовителя Приложение (Исключено, Изм. № 2) |
| Разработан: | Министерство энергетики и электрификации СССР |
| Утверждён: | 25.03.1981 Государственный комитет СССР по стандартам (USSR National Committee on Standards 1558) |
| Издан: | Издательство стандартов (1982 г. ) |
| Список изменений: |
|
| Заменяет собой: |
|
| Нормативные ссылки: |
|









Текстовое изменение № 1 от 01.12.1985
Текстовое изменение № 2 от 01.12.1986


