Скачать ГОСТ 21053-75 Трубы чугунные напорные со стыковым соединением под резиновые уплотнительные манжетыДата актуализации: 01.01.2021
|
| Обозначение: | ГОСТ 21053-75 |
| Обозначение англ: | GOST 21053-75 |
| Статус: | отменен |
| Название рус.: | Трубы чугунные напорные со стыковым соединением под резиновые уплотнительные манжеты |
| Название англ.: | Cast iron pressug pipes with butt joint with rubber seals |
| Дата добавления в базу: | 21.05.2015 |
| Дата актуализации: | 01.01.2021 |
| Дата введения: | 01.01.1977 |
| Дата окончания срока действия: | 01.01.1987 |
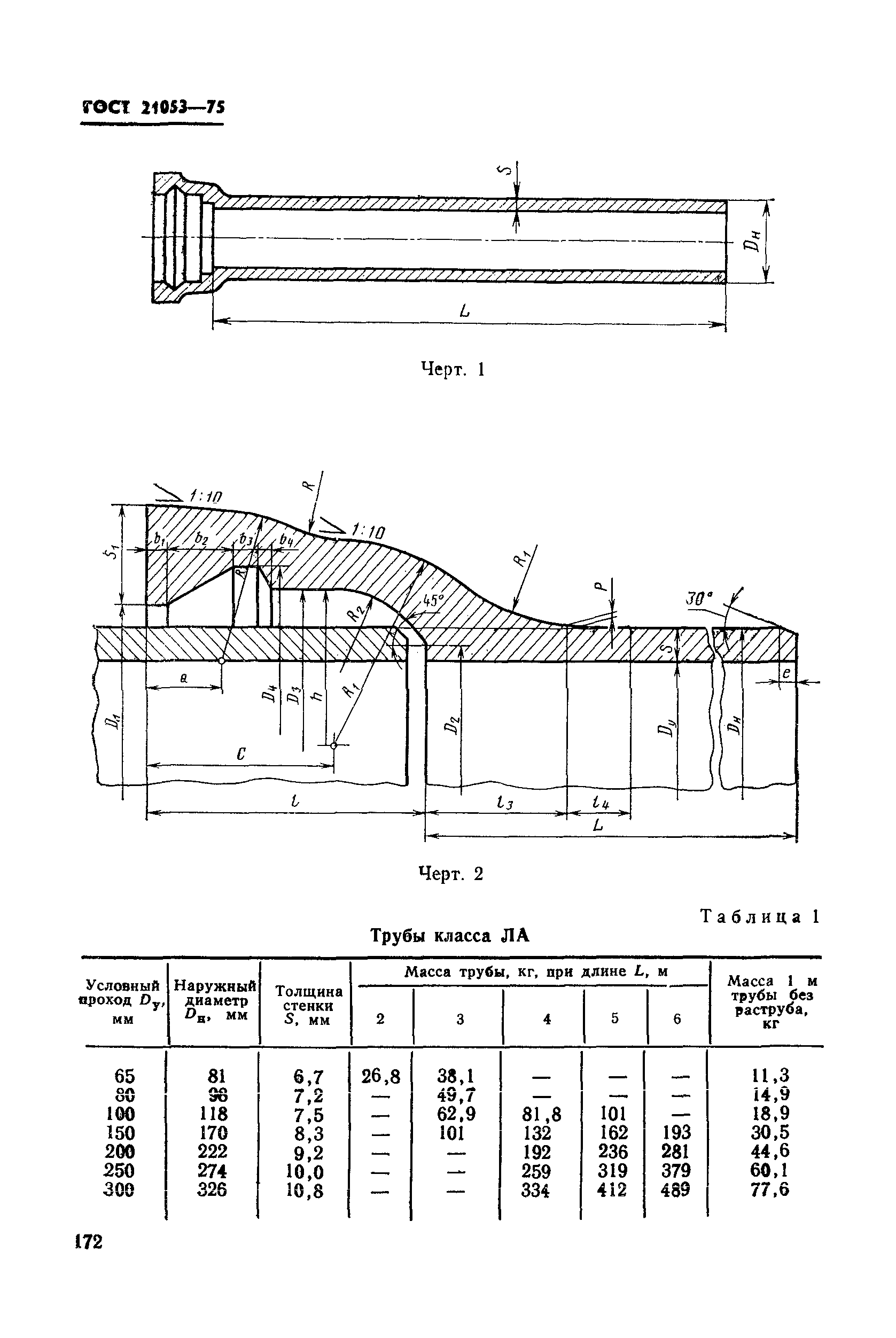
| Область применения: | Стандарт распространяется на чугунные напорные трубы с резиновыми уплотнительными манжетами, обеспечивающими герметичность стыковых соединений. |
| Оглавление: | 1. Сортамент 2. Технические требования 3. Правила приемки 4. Методы испытаний 5. Маркировка, упаковка, транспортирование и хранение |
| Утверждён: | 07.08.1975 Государственный комитет стандартов Совета Министров СССР (USSR National Committee on Standards at the Cabinet of Ministers 2082) |
| Издан: | Издательство стандартов (1981 г. ) |
| Нормативные ссылки: |















