Скачать ГОСТ 21164-75 Редукторы глобоидные типа Чг. Основные параметры, габаритные и присоединительные размерыДата актуализации: 01.01.2021
|
| Обозначение: | ГОСТ 21164-75 |
| Обозначение англ: | GOST 21164-75 |
| Статус: | отменен |
| Название рус.: | Редукторы глобоидные типа Чг. Основные параметры, габаритные и присоединительные размеры |
| Название англ.: | Globoidal gearboxes of Чг type. Base parameters, overall and mounting dimensions |
| Дата добавления в базу: | 01.10.2014 |
| Дата актуализации: | 01.01.2021 |
| Дата введения: | 01.01.1977 |
| Дата окончания срока действия: | 01.01.1989 |
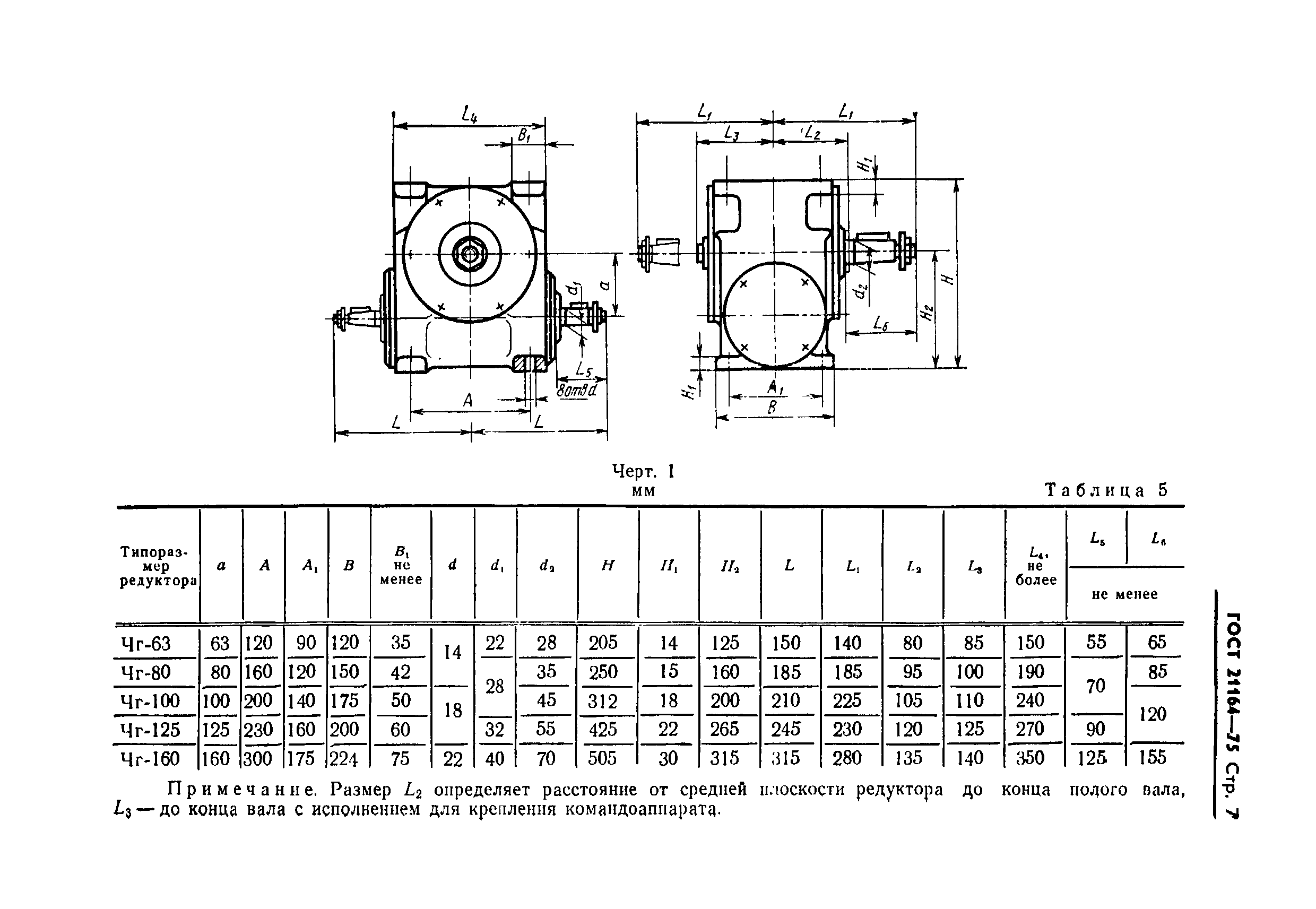
| Область применения: | Стандарт распространяется на глобоидные одноступенчатые универсальные необдуваемые редукторы общего назначения (с рядом межосевых расстояний от 63 до 160 мм и рядом передаточных чисел от 10 до 63). |
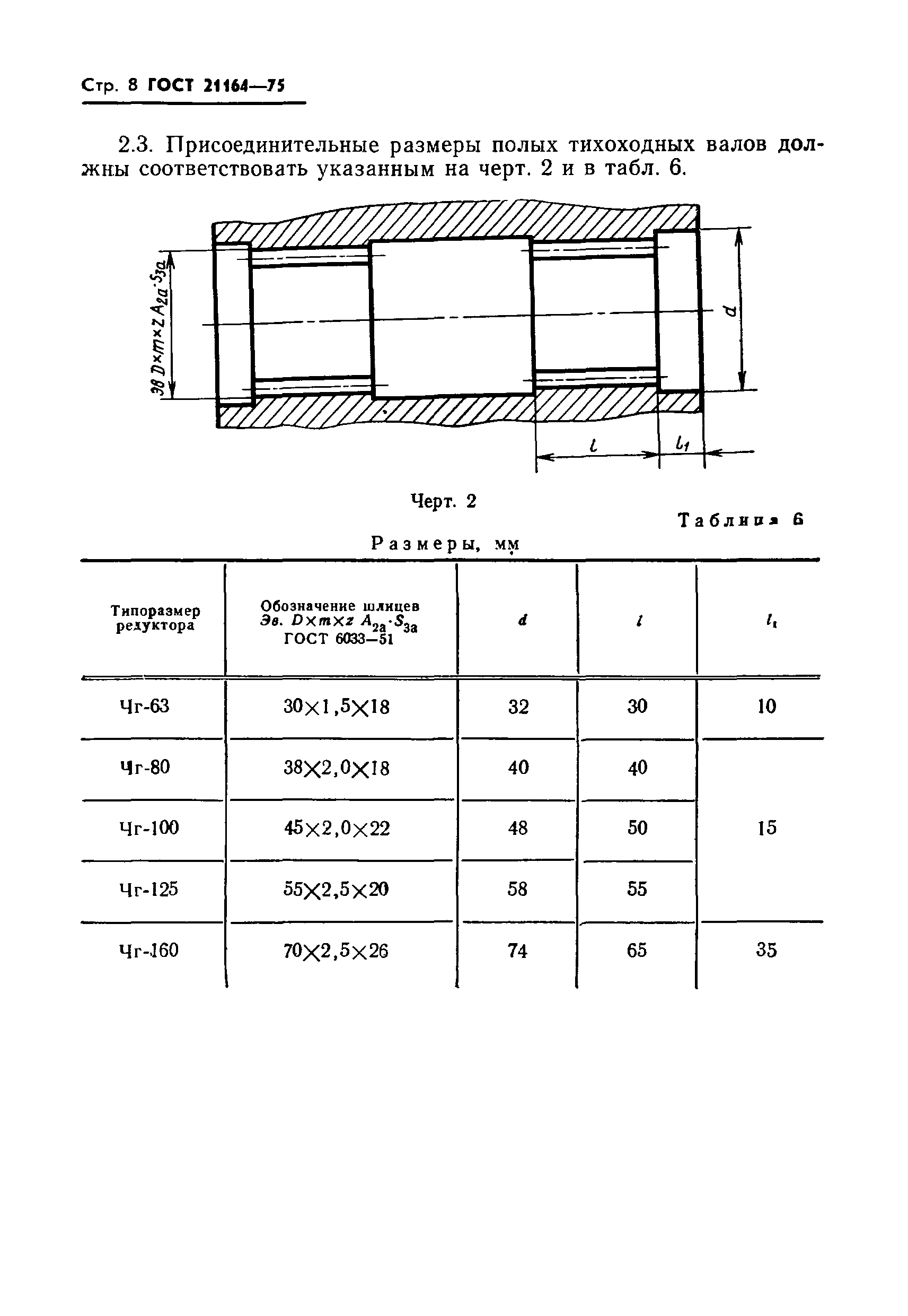
| Оглавление: | 1. Основные параметры 2. Габаритные и присоединительные размеры Приложение (справочное) Методика выбора редуктора |
| Утверждён: | 29.09.1975 Государственный комитет стандартов Совета Министров СССР (USSR National Committee on Standards at the Cabinet of Ministers 2527) |
| Издан: | Издательство стандартов (1977 г. ) |
| Нормативные ссылки: |
|











