Скачать ГОСТ 22710-77 Резцы токарные отрезные из быстрорежущей стали для обработки пластмасс. Конструкция и размеры

Дата актуализации: 01.01.2021

ГОСТ 22710-77

Резцы токарные отрезные из быстрорежущей стали для обработки пластмасс. Конструкция и размеры

Обозначение: ГОСТ 22710-77
Обозначение англ: GOST 22710-77
Статус:отменен
Название рус.:Резцы токарные отрезные из быстрорежущей стали для обработки пластмасс. Конструкция и размеры
Название англ.:HSS tipped cutting-off tools for plastic cutting. Construction and dimensions
Дата добавления в базу:21.05.2015
Дата актуализации:01.01.2021
Дата введения:01.01.1979
Дата окончания срока действия:01.01.1989
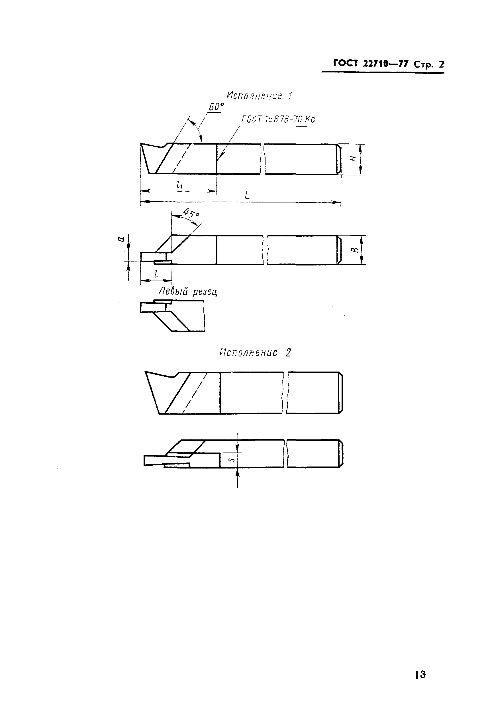
Область применения:Стандарт распространяется на отрезные токарные резцы из быстрорежущей стали для обработки термореактивных и термопластичных пластмасс.
Оглавление:Приложение (рекомендуемое) Элементы конструкции и геометрические параметры резцов
Разработан: ВНИИНМАШ
Утверждён:27.09.1977 Государственный комитет стандартов Совета Министров СССР (USSR National Committee on Standards at the Cabinet of Ministers 2316)
Издан: Издательство стандартов (1977 г. )
Нормативные ссылки:
ГОСТ 22710-77ГОСТ 22710-77ГОСТ 22710-77ГОСТ 22710-77ГОСТ 22710-77ГОСТ 22710-77ГОСТ 22710-77